Студопедия

КАТЕГОРИИ:


Архитектура-(3434)Астрономия-(809)Биология-(7483)Биотехнологии-(1457)Военное дело-(14632)Высокие технологии-(1363)География-(913)Геология-(1438)Государство-(451)Демография-(1065)Дом-(47672)Журналистика и СМИ-(912)Изобретательство-(14524)Иностранные языки-(4268)Информатика-(17799)Искусство-(1338)История-(13644)Компьютеры-(11121)Косметика-(55)Кулинария-(373)Культура-(8427)Лингвистика-(374)Литература-(1642)Маркетинг-(23702)Математика-(16968)Машиностроение-(1700)Медицина-(12668)Менеджмент-(24684)Механика-(15423)Науковедение-(506)Образование-(11852)Охрана труда-(3308)Педагогика-(5571)Полиграфия-(1312)Политика-(7869)Право-(5454)Приборостроение-(1369)Программирование-(2801)Производство-(97182)Промышленность-(8706)Психология-(18388)Религия-(3217)Связь-(10668)Сельское хозяйство-(299)Социология-(6455)Спорт-(42831)Строительство-(4793)Торговля-(5050)Транспорт-(2929)Туризм-(1568)Физика-(3942)Философия-(17015)Финансы-(26596)Химия-(22929)Экология-(12095)Экономика-(9961)Электроника-(8441)Электротехника-(4623)Энергетика-(12629)Юриспруденция-(1492)Ядерная техника-(1748)

Обратные клапаны




КОНТРОЛЬНО-РЕГУЛИРУЮЩАЯ АППАРАТУРА ПНЕВМОПРИВОДОВ

 

Кконтрольно-регулирующей аппаратуре пневмоприводов относятся:

- обратные клапаны;

- дроссели;

- редукционные клапаны;

- реле времени.


 

 

Обратные клапаны предназначаются для одностороннего пропуска воздуха (или газа).

При прямом направлении движения потока обратные клапаны должны оказывать минимальное сопротивление, при обратном — плотно перекрывать трубопровод.

В пневматических приводах наибольшее применение нашли шариковые и цилиндрические обратные клапаны с конической и плоской запорной поверхностью.

При небольших расходах и давлениях иногда применяют обратные клапаны с резиновой заслонкой; при больших расходах — пластинчатые клапаны.

 

Рис. 38. Общий вид обратных клапанов

 

На рис. 38 изображены обратные клапаны: шариковый (схема а), цилиндрический (схема б), с резиновой заслонкой (схема в), пластинчатый (схема г).

Конструкции клапанов ясны из рисунков и не требуют особых пояснений. Направление потока воздуха показано стрелками.

На рис. 39, а представлен обратный клапан типа В51-1 конструкции ЭНИМС. Такие клапаны выпускаются четырех типов: В51-12 для расхода сжатого воздуха до 50 л/мин; В51-13 на 80 л/мин; В51-14 на 180 л/мин и В51-15 для расхода до 320 л/мин. Клапаны предназначены для работы при давлении от 2 до 6 ат. При максимальном расходе потери давления не превышают 0,5 кг/см2. Клапан открывается при перепаде давления от 0,3 до 0,4 кг/см2.

Обратный клапан В51-1 состоит из корпуса 1, пружины 2, клапана 3, резинового вкладыша 4, штуцера 6.

Рис. 39. Обратный клапан В51-1

 

Для устранения утечек воздуха через резьбу на штуцере поставлено уплотнительное кольцо 5. Направление прямого потока воздуха указано стрелкой; при обратном направлении течения клапан 3 усилием пружины и давлением воздуха плотно прижимается вкладышем 4 к седлу, выполненному на штуцере 6. Условное изображение обратных клапанов на схемах показано на рис. 39, б.

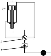
На рис. 40 показана схема установки обратного клапана в пневматическую систему.

 

Рис. 40. Схема установки обратного клапана в пневматическую систему

 

Обратный клапан 1 поставлен перед краном управления 2.

В случае падения давления в воздушной магистрали, например, вследствие аварии, обратный клапан, перекрывая седло, запирает воздух в штоковой полости силового цилиндра 3, препятствуя самопроизвольному опусканию поршня.

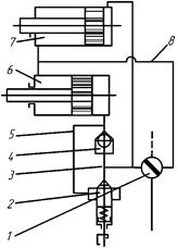
На рис. 41 изображена схема пневмопривода для последовательного включения силовых цилиндров.

 

Рис. 41. Схема пневмопривода для последовательного включения силовых цилиндров

 

Сжатый воздух по линии высокого давления подводится к крану управления 1 и далее к правой полости силового цилиндра 7 и по каналу 3 к обратному клапану с напорным золотником.

Под действием сжатого воздуха поршень силового цилиндра 7 перемещается влево. В крайнем левом положении поршень останавливается, а давление увеличивается.

Благодаря этому клапан 2 опускается и сжатый воздух по каналу 5 поступает в правую полость силового цилиндра 6.

При обратном движении поршней сжатый воздух подводится в левые полости цилиндров по трубопроводу 8, а из правой полости нижнего цилиндра воздух вытекает в атмосферу через обратный клапан 4 и кран управления 1.

Для регулирования скорости перемещения или вращения рабочего органа двигателя применяются игольчатые, канавочные и щелевые дроссели.

На рис. 42, а показан игольчатый дроссель. Изменение площади проходного отверстия достигается перемещением иглы.

 

Рис. 42. Схема игольчатого дросселя

 

На рис. 42, б изображен канавочный дроссель. При повороте пробки изменяется площадь проходного отверстия канавки.

На рис. 42, в показан щелевой дроссель. Сжатый воздух подводится по каналу 1 или по внутреннему каналу 2 к узкой щели, сделанной в пробке 3, при повороте которой изменяется проходная площадь щели.

На рис. 43, а представлен дроссель с обратным клапаном типа В77-1. На рис. 43, б — его условное изображение.

 

Рис. 43. Дроссель с обратным клапаном

 

При подводе сжатого воздуха к отверстию р клапан 3 вместе с вкладышем 4, преодолевая усилие пружины 2,отжимается от седла, выполненного на штуцере 5, и воздух через радиальные отверстия в клапане 3 поступает к отверстию О.

При обратном направлении сжатый воздух проходит через радиальные отверстия в клапане 3, полость а, щель, сделанную в корпусе 1, полость б, радиальные каналы в штуцере 5 к отверстию р. При этом благодаря пружине 2 и давлению сжатого воздуха клапан 3 плотно перекрывает седло в штуцере 5. Расход воздуха регулируется при помощи втулки 6; при ее повороте щель в корпусе 1 может быть частично или полностью перекрыта. Положение втулки 6 относительно кольца 8 (кольцо с помощью винта 7 крепится к корпусу 1) фиксируется стопорной гайкой 9.

Дроссели с обратным клапаном выпускаются для расходов сжатого воздуха 50 л/мин (В77-12), 80 л/мин (В77-13) и 180 л/мин (В77-14). Все они рассчитаны на давление от 2 до 6 ат. Потери давления в обратном клапане при максимальном расходе не превышают 0,5 кг/см2. Открывается обратный клапан при перепаде давления 0,4 кг/см2.

На рис. 44 приведена схема пневмопривода, где дроссель с обратным клапаном типа В77-1 обеспечивает быстрое перемещение поршня силового цилиндра влево и медленное — вправо.

 

Рис. 44. Схема пневмопривода с дросселем и с обратным клапаном

 

Сжатый воздух по линии 1 подводится к золотниковому распределительному устройству 4 и по трубопроводу 2 — к трехходовым клапанам 7 и 8. При положении плунжера 4, указанном на схеме, поршень силового цилиндра перемещается влево. В крайнем левом положении (этот случай изображен на схеме) рычаг 9, соединенный со штоком поршня 6, нажимает на толкатель трехходового клапана 7, благодаря чему сжатый воздух поступает в левую полость распределительного устройства 4 и смещает его плунжер вправо. Вместе с плунжером смещается плоский золотник 10, который соединяет левую полость силового цилиндра с линией высокого давления, а штоковую, через дроссель 5, — с атмосферой.

Нетрудно видеть, что воздух из штоковой полости сможет вытекать в атмосферу только через дроссель, так как обратный клапан плотно перекрывает седло.

Следовательно, при движении слева направо скорость перемещения поршня 6 определяется настройкой дросселя.

В крайнем правом положении рычаг 9 нажимает на толкатель трехходового клапана 8. Сжатый воздух поступает в правую полость золотника 4; плунжер смещается в левое положение и сжатый воздух начинает поступать в правую полость силового цилиндра, а из левой вытекает в атмосферу.

Так как при этом воздух проходит через обратный клапан, то скорость перемещения влево будет больше скорости перемещения поршня силового цилиндра вправо. Для остановки поршня служит трехходовой клапан 3 с ручным управлением.

 




Поделиться с друзьями:


Дата добавления: 2014-01-03; Просмотров: 1295; Нарушение авторских прав?; Мы поможем в написании вашей работы!


Нам важно ваше мнение! Был ли полезен опубликованный материал? Да | Нет



studopedia.su - Студопедия (2013 - 2025) год. Все материалы представленные на сайте исключительно с целью ознакомления читателями и не преследуют коммерческих целей или нарушение авторских прав! Последнее добавление




Генерация страницы за: 0.007 сек.