Студопедия

КАТЕГОРИИ:


Архитектура-(3434)Астрономия-(809)Биология-(7483)Биотехнологии-(1457)Военное дело-(14632)Высокие технологии-(1363)География-(913)Геология-(1438)Государство-(451)Демография-(1065)Дом-(47672)Журналистика и СМИ-(912)Изобретательство-(14524)Иностранные языки-(4268)Информатика-(17799)Искусство-(1338)История-(13644)Компьютеры-(11121)Косметика-(55)Кулинария-(373)Культура-(8427)Лингвистика-(374)Литература-(1642)Маркетинг-(23702)Математика-(16968)Машиностроение-(1700)Медицина-(12668)Менеджмент-(24684)Механика-(15423)Науковедение-(506)Образование-(11852)Охрана труда-(3308)Педагогика-(5571)Полиграфия-(1312)Политика-(7869)Право-(5454)Приборостроение-(1369)Программирование-(2801)Производство-(97182)Промышленность-(8706)Психология-(18388)Религия-(3217)Связь-(10668)Сельское хозяйство-(299)Социология-(6455)Спорт-(42831)Строительство-(4793)Торговля-(5050)Транспорт-(2929)Туризм-(1568)Физика-(3942)Философия-(17015)Финансы-(26596)Химия-(22929)Экология-(12095)Экономика-(9961)Электроника-(8441)Электротехника-(4623)Энергетика-(12629)Юриспруденция-(1492)Ядерная техника-(1748)

Разработка схемы базирования заготовки. Выбор установочных элементов

ЛЕКЦИЯ 2

2.1. Способы базирования заготовки

В зависимости от заданной технологической операции может потребоваться полная или частичная ориентация заготовки в про­странстве относительно выбранной системы координат (режуще­го инструмента или неподвижных частей станка). При полной ори­ентации заготовке придается определенное единственно возмож­ное положение в приспособлении. При частичной ориентации по условиям обработки не требуется точная установка заготовки или допускается ее произвольное положение (поворот) относительно какой-либо оси (например, установка кольца или диска в кулач­ках патрона). Это позволяет упростить установочную схему и кон­струкцию приспособления в целом.

 
 

Установку заготовок по технологическим базам производят тре­мя способами. По первому способу базы заготовки плотно прижимают к уста­новочным элементам приспособления. Число опор (точек), на которые устанавливают за­готовку, должно быть равным шести (правило шести точек); их взаимное расположение должно обеспечивать устойчивую уста­новку заготовки в приспособлении. Для этой цели расстояние между опорами следует выбирать по возможности большим и, во всяком случае, таким, чтобы под действием силы тяжести не возникало опрокидывающего момента.

Второй способ, используемый при обработке заготовок малой жесткости или недостаточной их устойчивости вследствие малой протяженности ба­зовых поверхностей, предусматривает увеличение числа опорных точек (бо­лее шести).

 
 

На рис. 2.2. приведен при­мер установки прямоугольной заготов­ки с длинным нежестким кронштей­ном, у которого обработке подверга­ется торец бобышки. Помимо основ­ных шести опор, на которые заготовка ставится базовыми плоскостями 1,2 и 3 и зажимается прижимом, здесь применена дополнительная под­водимая опора 4, к которой заготовку прижимает вспомогательный зажим­ной механизм.

 

Третий способ базирования применяется на оборудовании с ЧПУ (станках и координатно-измерительных машинах). После установки заготовки в приспособлении проверяют фактическое положе­ние ряда поверхностей заготовки. Отклонение в положении за данной поверхности может быть компенсировано смещениями и поворотами стола станка, соответствующей коррекцией управля­ющей программы.

 

2.2. Схемы базирования заготовки

Рассмотрим несколько основных схем базирования заготовки в

приспособлении.

Рис. 2.3. Базирование призматической заготовки в «координатный угол»

 

Схема 1. Базирование заготовки комплектом плоских поверхностей (координатный угол). Комплект баз: установочная (точки 1, 2, 3); направляющая (точки 4, 5), опорная (точка 6).

Схема 2. Базирование призматической заготовки по плоскости и двум штырям – цилиндрическому и срезанному (ромбическому).
Комплект баз: установочная (точки 1, 2, 3); опорные (точки 4, 5, 6).

 


Рис. 2.4. Базирование призматической заготовки по плоскости и двум штырям

 
 

Схема 3. Базирование цилиндрической заготовки в призме. Комплект баз: двойная направляющая (точки 1, 2, 3, 4, 5); опорные (точки 5, 6).

Рис. 2.5. Базирование цилиндрической заготовки в призме

 

Схема 4. Базирование цилиндрической заготовки в трехкулачковом патроне при токарной обработке. Комплект баз: двойная направляющая (точки 1, 2, 3, 4); опорные (точки 5, 6).


Рис. 2.6. Базирование в трехкулачковом патроне

 

Схема 5. Базирование корпусной детали в конусах по главному отверстию.
Комплект баз: двойная направляющая (точки 1, 2, 3, 4); опорные (точки 5, 6).


Рис. 2.7. Базирование корпусной детали в конусах

 

Схема 6. Базирования цилиндрической заготовки в центрах токарного станка.
Комплект баз: двойная направляющая (точки 1, 2, 3, 4); опорные (точки 5, 6).

 

 
 

Рис. 2.8. Базирования цилиндрической заготовки в центрах

2.3. Основные элементы приспособлений

По функциональному назначению все элементы станочных приспособлений подразделяются:

1) на установочные элементы, определяющие положение заго­товки в приспособлении и реализующие выбранную схему бази­рования;

2) зажимные элементы — устройства и механизмы для закреп­ления заготовки, обеспечивающие неотрывность ее базовых по­верхностей от установочных элементов в процессе обработки;

3) силовые механизмы и устройства, обеспечивающие требуе­мую силу закрепления (механические, электрические, пневмати­ческие, гидравлические и др.);

4) элементы для направления режущего инструмента и опреде­ления его положения;

5) вспомогательные устройства — для изменения положения за­готовки в приспособлении (поворотные столы, делительные го­ловки), соединения между собой элементов приспособлений и регулирования их положения;

 
 

6) корпуса, на которых закреплены все остальные элементы.

 

Для примера на рис. 2.9 приведены элементы станочного при­способления.

 

2.4.Установочные элементы приспособлений

Установочными эле­ментами (опорами) называются детали и механизмы приспособле­ния, обеспечивающие правильное и однообразное положение заго­товки относительно инструмента или ориентирующего устройства сборочного исполнительного механизма.

Длительное сохранение точности размеров этих элементов и их взаимного расположения необходимо учитывать при конструировании и изготовлении приспособлений.

К установочным элементам (УЭ) предъявляются следующие требо­вания:

1) число и расположение установочных элементов должно обес­печивать необходимую ориентацию заготовки согласно принятой в технологическом процессе схеме базирования, а также ее устойчивость;

2) при использовании черновых баз с шероховатостью Rz > 20 установочные элементы целесообразно выполнять с огра­ниченной опорной поверхностью в целях уменьшения влияния погрешностей этих баз на устойчивость заготовки;

3) установочные элементы по возможности не должны повреждать технологические базы заготовки, что особенно важно при ее уста­новке на точные базы, не подвергаемые дальнейшей обработке;

4) установочные элементы должны быть жестко зафиксированы. Для повышения жесткости крепления целесообразно улучшать качество сопряжения установочных элементов с корпусом при­способления, применяя шлифование, а в отдельных случаях шаб­рение или притирку поверхностей стыка;

5) для повышения износостойкости опоры используют стали марок У8А, 20, 20Х с последующей термической обработ­кой — закалкой до твердости 58…62 HRC. Установочные элемен­ты из низкоуглеродистых конструкционных сталей марок 20, 20Х предварительно подвергают цементации на глубину 0,8… 1,2 мм. Для уменьшения износа рабочие поверхности УЭ, контактирую­щие с базовыми поверхностями заготовок или деталей (узлов), хромируют или, используя метод наплавки, наносят на поверхность твердый сплав. Несущие поверхности опор целесообразно шлифовать, доводя шероховатость до Ra < 0,63;

6) в целях упрощения и ускорения ремонта приспособления его установочные элементы должны быть легкосменными.

Различают опоры основные, с помощью которых заготовку лишают степеней свободы, и вспомогательные, уже­сточающие технологическую систему. Кроме того, опоры бывают неподвижными, подвижными, плавающими и регулируемыми.

Основные установочные элементы характеризуются тем, что каждый из них реализует одну или несколько опорных точек для базирования заготовки. Будучи соответствующим образом размещенными в приспособлении, они образуют необходимую при выбранном способе базирования совокупность опорных точек. К основным опорам относятся: опорные штыри, пальцы, пластины, центры, призмы (ГОСТ 12193-12197, 12209-12216, 13440-13442, 4743). Наиболее часто заготовки устанавливают плоскими поверхностя­ми на опорные штыри и пластины.


Рис. 2. 10. Опорные штыри (ГОСТ 13440-68, ГОСТ 13441-68, ГОСТ 13442-68):
а – с плоской головкой для установки детали по обработанной поверхности;

б – со сферической головкой для установки детали по необработанным поверхностям;

в – с насечкой для установки детали по необработанным поверхностям и чугунных деталей; г – опорный штырь, установленный в стальную закаленную переходную втулку.

 

При использовании штыря с плоской головкой (рис. 2.10, а) база заготовки должна быть предварительно обработана. Давление на такой штырь не должно превышать 40 Мпа. Для штыря со сфе­рической головкой (рис. 2.10, б), вос­принимающего нагрузку до 30 кН, база заготовки может быть не обра­ботана. Требования к штырю с насе­ченной головкой (рис. 2.1, в) анало­гичны требованиям, предъявляемым к штырю со сферической головкой, однако из-за того, что сила трения насеченной головки с заготовкой больше, сила зажима может быть меньше.

 

 

 
 

 

Рис. 2.11. Опорные пластины двух типов ГОСТ 4743-68:
а – плоские; б – с наклонными пазами для размещения в пазах стружки.

 

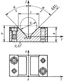
Заготовки типа тела вращения наружными поверхностями устанав­ливают в призмы — установочные элементы с рабочей поверхностью в виде паза, образованного двумя плоскостями, наклоненными друг к другу под углом. Конструкции и размеры призм для установки корот­ких заготовок стандартизованы.

В приспособлениях используют призмы с углами α, равными 60°, 90° и 120°. Наибольшее распространение полу­ОС призмы с α =90°. Призмы с α =120° применяют, когда заготовка не имеет полной цилиндрической поверхности и по небольшой дуге окружности нужно определить положе­ние оси детали. Заготовка, помещенная на таких призмах, имеет небольшую устойчивость. Призмы с углом α =60° применяют для повышения устойчивости в том случае, ко­гда имеются значительные силы резания, действующие па­раллельно оси призмы.

При установке заготовок с чисто обработанными базами применяют призмы с широкими опорными поверхностями, а с черновыми базами — с узкими опорными поверхностя­ми.

 

       
   
 

Рис. 2.12. Призма ГОСТ 12195-68

а) для установки цилиндрических заготовок по “чистым” (обработанным) поверхностям

б) призма для установки цилиндрических заготовок большой длины по “черным” (необработанным) поверхностям.

 

Если по условиям обработ­О длинную заготовку необхо­димо поставить на несколько призм, то две из них делают же­сткими (основные опоры), а ос­тальные подводимыми (вспомо­гательные опоры). Призмы, так­же как и штыри могут быть ре­гулируемыми.

Базирование заготовки по двум цилиндрическим отверстиям — на установочные пальцы и плоскость — обеспечивают необходи­мую точность установки. Увеличение числа пальцев не дает повы­шения точности обработки.

 
 

Рис. 2.13. Установочные пальцы приспособлений

а – постоянные цилиндрические ГОСТ 12209-66; б – сменные цилиндрические ГОСТ 12211-66; в – постоянные срезанные ГОСТ 12210-66.

 

На рис. 2.13 приведены конструкции установочных пальцев

 

 
 

а —цилиндрической поверхностью по цилиндрической расточке; б — сферой по конической расточке, в – конической расточной по сфере г – с рычагом и плунжерами,

д — с подпружиненными клиньями (1 – заготовка)

 

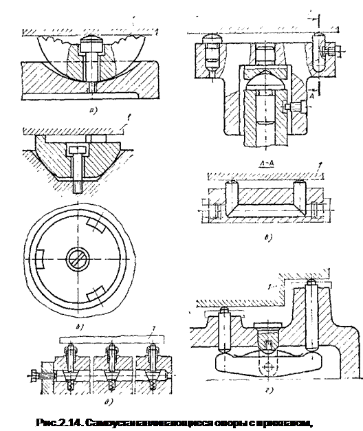
Вспомогательные (дополнительные) установочные элементы предназначены для при­дания дополнительных жесткости или устойчивости заготовки в процессе обработки. Дополнительная опора не должна нарушать положение заготовки, достигнутое при установке на основные УЭ, поэтому дополнительные УЭ делают подвижными (подводимыми или самоустанавливающими). Однако после установки заготовки дополнительные УЭ необходимо жестко зафиксировать, превра­тив систему в жесткую.

Неподвижные опоры используют только в качестве основных. Регулируемые опоры применяются в качестве основных и вспомогательных опор. Как основные они служат для установки заготовок необработанными поверхностями при больших изменениях припуска на механическую обработку, а также при выверке заготовок по разметочным рискам.

Плавающие опоры обычно применяют в качестве вспомогательных, но если заготовка имеет сложную форму и установить ее только на постоянные опоры трудно, то плавающие опоры можно применять в качестве основных.

К подвижным опорам относятся люнеты, призмы и т.п.

Контрольные задания.

Задание 2.1.

Какие существуют способы базирования заготовки?

Задание 2.2.

Перечислите основные схемы базирования заготовки

Задание 2.3.

Как подразделяются элементы приспособлений по функциональному назначению?

Задание 2.4.

Назовите основные виды установочных элементов приспособления

Задание 2.5.

В каких случаях используются самоустанавливающиеся опоры?

 

 

<== предыдущая лекция | следующая лекция ==>
Основные показатели специальных и универсальных приспособлений | Зажимные устройства приспособлений
Поделиться с друзьями:


Дата добавления: 2014-01-15; Просмотров: 23948; Нарушение авторских прав?; Мы поможем в написании вашей работы!


Нам важно ваше мнение! Был ли полезен опубликованный материал? Да | Нет



studopedia.su - Студопедия (2013 - 2026) год. Все материалы представленные на сайте исключительно с целью ознакомления читателями и не преследуют коммерческих целей или нарушение авторских прав! Последнее добавление




Генерация страницы за: 0.014 сек.