Студопедия

КАТЕГОРИИ:


Архитектура-(3434)Астрономия-(809)Биология-(7483)Биотехнологии-(1457)Военное дело-(14632)Высокие технологии-(1363)География-(913)Геология-(1438)Государство-(451)Демография-(1065)Дом-(47672)Журналистика и СМИ-(912)Изобретательство-(14524)Иностранные языки-(4268)Информатика-(17799)Искусство-(1338)История-(13644)Компьютеры-(11121)Косметика-(55)Кулинария-(373)Культура-(8427)Лингвистика-(374)Литература-(1642)Маркетинг-(23702)Математика-(16968)Машиностроение-(1700)Медицина-(12668)Менеджмент-(24684)Механика-(15423)Науковедение-(506)Образование-(11852)Охрана труда-(3308)Педагогика-(5571)Полиграфия-(1312)Политика-(7869)Право-(5454)Приборостроение-(1369)Программирование-(2801)Производство-(97182)Промышленность-(8706)Психология-(18388)Религия-(3217)Связь-(10668)Сельское хозяйство-(299)Социология-(6455)Спорт-(42831)Строительство-(4793)Торговля-(5050)Транспорт-(2929)Туризм-(1568)Физика-(3942)Философия-(17015)Финансы-(26596)Химия-(22929)Экология-(12095)Экономика-(9961)Электроника-(8441)Электротехника-(4623)Энергетика-(12629)Юриспруденция-(1492)Ядерная техника-(1748)

Конструкции и материалы элементов коммутации в гибридных

интегральных схемах и микросборках

В гибридных интегральных схемах (ГИС) и микросборках (МСБ) элек­трические соединения элементов и компонентов осуществляются с помощью довольно сложной в топологическом отношении системы пленочных про­водников, контактов проводников с пленочными элементами микросхемы и контактных площадок под навесные компоненты и внешние выводы.

Электрофизические свойства проводников и контактных площадок в значительной степени определяются свойствами применяемых материалов, к которым предъявляется ряд требований: низкое удельное сопротивление; хо­рошая адгезия к подложке; высокая антикоррозийная стойкость; обеспечение низкого и воспроизводимого переходного сопротивления контакта; возмож­ность присоединения (пайки или сварки) выводов навесных компонентов и проволочных перемычек, совместимость технологии нанесения проводников и контактных площадок с технологией изготовления других элементов ГИС и МСБ.

Самым распространенным материалом тонкопленочных проводников и контактных площадок в ГИС повышенной надежности является золото с подслоем хрома, нихрома или титана. Подслой обеспечивает высокую адге­зию, а золото — нужную проводимость, высокую коррозионную стойкость, возможность пайки и сварки. Толщина пленочных проводников обычно со­ставляет 0,5... 1 мкм. В аппаратуре с менее жесткими требованиями к надеж­ности в качестве проводников используют пленки меди или алюминия с под­слоем хрома, нихрома или титана. Для предотвращения окисления меди и улучшения условий пайки или сварки ее покрывают никелем, золотом или серебром.

Алюминий обладает достаточно высокой коррозионной стойкостью и может использоваться как с защитным покрытием никеля для обеспечения возможности пайки, так и без него, если присоединение навесных компонен­тов и внешних контактов осуществляется сваркой. Толщина медных и алю­миниевых проводников приблизительно равна 1 мкм, а толщина никелевого или золотого покрытия обычно составляет десятые — сотые доли микромет­ра.

В толстопленочных ГИС для формирования коммутационных проводни­ков и контактных площадок применяют проводниковые пасты.

Также, как и в рассмотренных выше типах ИС в ГИС и МСБ следует от­личать многослойную разводку от многоуровневой, когда создается система коммутации элементов и компонентов в несколько этажей (уровней), разде­ленных слоем диэлектрика. В каждом из уровней разводка может быть мно­гослойной.

Необходимость создания в ГИС и МСБ многоуровневой разводки обу­словлено ростом функциональной сложности устройств и использованием в них в качестве компонентов многовыводных полупроводниковых БИС. К системе многоуровневой разводки предъявляют следующие требования: вы­сокая плотность монтажа; качественная межуровневая изоляция; малое и по­стоянное во времени переходное сопротивление контактов в областях кон­тактирования проводников разных слоев; малые сопротивления проводников и паразитные емкости; высокая механическая прочность; эффективный пере­нос тепла от элементов, компонентов и кристаллов к теплоотводяшим по­верхностям; низкая стоимость. Эти требования удовлетворяются подбором применяемых материалов, конструкцией и технологией изготовления. Так, например, материалы изолирующих слоев должны обладать низкой диэлек­трической проницаемостью, высокой электрической прочностью и высоким сопротивлением изоляции.

Известно очень большое число способов создания многоуровневой тон­копленочной разводки на жестких основаниях (более 500). На практике реа­лизуются конструктивно-технологические варианты с использованием: неор­ганических или органических (рис. 29) диэлектрических слоев; воздушного зазора (рис. 30, а, в) и обеих сторон гибкой подложки (рис. 30, б); оксида алюминия, получаемого путем локального сквозного окисления последова­тельно наносимых слоев алюминиевой пленки, термопластиков в качестве межслойных диэлектриков и некоторые другие.

Коммутация с использованием неорганических диэлектрических слоев по структуре тождественна тонкопленочному конденсатору: в качестве изо­ляционного слоя используются такие отработанные в технологии материалы, как моноокись кремния или германия, двуокись кремния, окись алюминия, стекла; в качестве проводников — золото с подслоем хрома, алюминии.

Рис. 29. Многоуровневая разводка в большой гибридной микросхеме, предполагающая установку полупроводниковых микросхем поверх уровней разводки (а) и непосредственно на теплоотводящую подложку (б) и (в):

1— подложка; 2— диэлектрическая пленка; 3— второй слой диэлектрика; 4— внешний вывод гибридной микросхемы; 5— межуровневый переход; 6— первый уровень разводки; 7— кристалл полупроводниковой БИС; 8— второй уровень разводки; 9— защитное покрытие; 10— выводы полупроводниковой БИС

Предельная толщина диэлектрических слоев, получаемых методами ва­куумного осаждения, обычно не превышает 3...4 мкм; паразитная емкость в местах пересечений проводников при этом значительна (до 1...2 пФ при ши­рине проводников 100 мкм). Поэтому необходимо наносить слои толщиной не менее 50 мкм, но надежная металлизация переходных ступенек такой глу­бины методами вакуумной технологии практически невозможна.

Коммутация с использованием органических диэлектрических слоев от­личается простотой технологии нанесения слоев, обладающих хорошими ди­электрическими свойствами при высокой разрешающей способности рисунка.

Коммутация с использованием воздушного зазора в качестве диэлектри­ческой изоляции пересечений проводников и многоуровневой (здесь уместно сказать многоэтажной) разводки весьма перспективна в связи с малой ди­электрической проницаемостью воздуха и малой вследствие этого задержкой распространения сигнала в линии. Последняя, как известно, обратно пропор­циональна корню квадратному из диэлектрической проницаемости среды, в которой размещены проводники. Мостики второго уровня разводки (рис. 30, а, в) могут изготовляться различными способами, в частности методом кон­тактной маски.

Рис. 30. Фрагменты конструкций многоуровневой разводки гибридной микросхемы с использованием воздушного зазора в качестве диэлектрической изоляции:

вариант а: 1 — адгезионный слой; 2 — защитный слой; 3 — проводящий слой; 4 — пленочная перемычка; 5— воздушный зазор; 6— диэлектрическая жесткая подложка;

вариант б: 1 — адгезионный слой; 2 — проводящий слой; 5— защитный слой; 4— гибкая диэлектрическая подложка; 5— конусообразное отверстие;

вариант в: I — адгезионный слой; 2 — проводящий слой первого уровня; 3 — проводящий слой второго уровня; 4 — воздушный зазор; 5— подложка; 6— защитный слой

 

Многоуровневая алюминиевая коммутация с диэлектрической изоляцией из окиси алюминия создается следующим образом: после нанесения первого сплошного слоя алюминиевой разводки проводящие дорожки первого уровня формируются не травлением, а локальным анодным окислением отдельных участков алюминиевого слоя и превращения их в Al2O3. Затем после окисле­ния поверхности и формирования контактных окон напыляется второй слой алюминия и процесс анодирования повторяется. Существенными ограниче­ниями этого метода многоуровневой коммутации являются повышенная паразитная емкость между уровнями из-за малых толщин изолирующего слоя, а также наличие в отдельных местах шунтирующих включений неокисленного алюминия вследствие трудностей подключения всех анодируемых участков к электродам установки электролитического анодирования.

Многоуровневая коммутация с использованием термопластиков (см. рис. 29, б) состоит из первого уровня коммутации и избирательно выращен­ных металлических столбиков, которые в дальнейшем будут соединены со вторым уровнем коммутации. На подложку с большой точностью монтиру­ются кристаллы полупроводниковых микросхем (контактными площадками вверх), и подложка сверху покрывается термопластиком, имеющим ТКЛР близкий к ТКЛР подложки и кремния. В дальнейшем проводятся избира­тельное травление термопластика с целью обнажения переходных столбиков и выводов кристалла, нанесение верхнего слоя металлизации и формирова­ние его рисунка. Известны и некоторые другие методы монтажа кристаллов запрессовкой в пластмассу, однако, в основном их принцип такой же.

К достоинствам этих методов следует отнести совмещение процессов монтажа кристаллов и создания многоуровневой коммутации, высокую плотность упаковки кристаллов, эффективный теплоотвод (если подложка выполняется из металла). Недостатки: высокая стоимость изготовления гиб­ридной микросхемы (в случае некачественного выполнения операции в брак уходит вся подложка с годными кристаллами), низкая ремонтопригодность.

Многоуровневая коммутация гибридных БИС и МСБ с применением гиб­ких полиамидных плат и жестких металлических оснований. Увеличение функциональной сложности БИС и МСБ приводит к обострению проблем коммутации и теплоотвода. Эти проблемы успешно решаются применением конструктивно-технологического варианта, в котором функции несущей кон­струкции теплоотвода и подложки БИС выполняет металлическая (алюми­ниевая), плата, покрытая слоем анодного окисла, а функции коммутационной печатной платы — система гибких полиимидных пленок толщиной 40...60 мкм с нанесенными на них методом тонкопленочной технологии проводя­щими дорожками. Двустороннюю металлизацию пленки и боковых поверх­ностей вытравленных в ней отверстий (см. рис. 30, б) осуществляют термовакуумным напылением многослойной пленки Cr — Cu — Cr толщиной 1...2 мкм с последующим гальваническим наращиванием меди (13...16 мкм) и сплава Sn — В i толщиной 7... 10 мкм.

На плате из анодированного алюминия создается один слой проводни­ков и резисторов (рис. 29, 31), два или большее число слоев разводки могут быть созданы на полиимидной пленке (рис. 30, б, 32). Коммутационные пе­реходы с одной стороны гибкой платы на другую осуществляются системой металлизированных отверстий (рис. 30, б).

 

Рис. 31. Фрагмент топологии слоя проводников и резисторов на алюминиевой подложке, покрытой слоем анодного окисла

 

Рис. 32. Двуслойная гибкая коммутационная плата на полиимидной пленке с двумя ортогональными системами сигнальных проводников, шинами питания, контактными площадками к переходными отверстиями

Гибкие коммутационные платы присоединяют к анодированной алюми­ниевой подложке методом групповой пайки, для чего на подложке сформи­рованы контактные площадки, покрытые припоем. На полиимидных гибких платах в соответствующих контактным площадкам местах имеются переход­ные металлизированные отверстия. При подогреве системы подложка — гибкие платы в условиях вакуума (вакуумная пайка) припой поднимается по переходным отверстиям и, застывая, образует прочные коммутационные соединения и одновременно механическое крепление. Для изоляции между гибкими платами с разводкой на обеих сторонах используют прокладки из полиимидной пленки с системой отверстий в местах межслойных переходов. Бескорпусные полупроводниковые БИС и другие навесные компоненты мо­гут быть смонтированы как на коммутационных полиимидных пленках, так и непосредственно на металлической плате через окна, вытравленные в гибких платах.

В качестве металлических подложек гибридных БИС используются пла­стины из алюминиевого сплава АМГ-3 (3,2...3,8 % Mg, 0,3...0,6 % Мn, ос­тальное А1) толщиной порядка 1...1.5 мм, на рабочей поверхности которых методом анодного окисления в соответствующих электролитах создается ди­электрический слой А12Оз толщиной 50... 100 мкм. Сплав АМГ-3—один из немногих упрочняемых алюминиевых сплавов, на которых может быть полу­чена путем шлифовки и полировки шероховатость обработки поверхности, соответствующая 12-му классу (Rz=0,2 мкм), что, в свою очередь, позволяет получить равномерную по толщине и свойствам пленку диэлектрика на ра­бочей поверхности подложек. Глубокое анодное окисление алюминиевых подложек осуществляется в электролите на основе щавелевой кислоты с добавками лимонной и борной кислот при плотностях тока 1,5...2,0 А/дм2.

Полиимидные пленки играют в производстве гибридных тонкопленоч­ных БИС на металлическом основании все. более возрастающую роль. Гибкая полиимидная пленка обладает высокой прочностью на растяжение, отлич­ными изоляционными свойствами (εr=3,5; tgσ =3-10-3 на частоте 1 кГц); электрической прочностью (150...275-106 В/м), химической стойкостью, несгораемостью. Она имеет высокую радиационную и наиболее высокую среди полимеров температурную устойчивость (не теряет гибкости при температу­рах жидкого азота и выдерживает температурные воздействия до +400° С). Она обладает хорошим набором технологических свойств, делающих ее не­заменимой в процессах, связанных с вакуумным осаждением металлических пленок и фотолитографией: отсутствие газовыделения в вакууме до темпера­тур 200...250° С, устойчивость к воздействию кислот и способность к травле­нию в сильных щелочных средах.

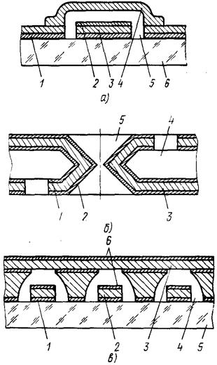
Многоуровневая разводка с использованием толстых пленок реализуется в двух конструктивно-технологических вариантах: в виде нескольких чере­дующихся проводящих и изолирующих слоев, расположенных на одной или двух сторонах монолитной керамической подложки, и в виде нескольких ке­рамических слоев с нанесенными на них коммутационными системами тол­стопленочных проводников и контактных площадок, сквозных заполненных проводящим материалом отверстий для электрической связи между слоями. Первый из этих вариантов изображен на рис.33

Рис. 33. Фрагмент толстопленочной многоуровневой разводки:

1— сечение проволочной перемычки; 2— слой припоя; 3— верхний луженый (третий) слой проводников; 4, 6— изоляционные слои; 5, 7— второй и первый проводящие слои; 8— керамическая подложка; 9— навесной компонент толстопленочной гибридной БИС; 10— выводы навесного компонента

Рис. 34. Конструкция многослойной коммутационной керамической платы:

а — набор слоев керамики в многоуровневой керамической плате; б — верхний слой с коммутацией и контактными площадками для навесных компонентов; в — расположение контактных переходов в промежуточных слоях коммутационной платы

Такие многоуровневые толстопленочные структуры получают последо­вательным нанесением и вжиганием проводящих и изолирующих слоев. Изо­лирующие слои необходимо изготовлять беспористыми для устранения ко­ротких замыканий металлизации. Для повышения выхода годных применяют двукратную печать материала изолирующего слоя. При этом уменьшаются паразитные емкости за счет увеличения толщины диэлектрика.

Плотность толстопленочного монтажа ограничивается технологически­ми возможностями формирования соседних отверстий в изолирующем слое для переходов. В процессе создания многоуровневых коммутационных плат могут формироваться также толстопленочные резисторы и конденсаторы. Многослойные керамические подложки формируются из нескольких слоев необожженной алюмооксидной керамики толщиной примерно 100 мкм, на поверхность которых последовательно наносят пасту для коммута­ционных проводников (рис. 34 ,а). После опрессовки и обжига многослойно­го пакета образуется монолитная структура, внутри и на поверхности кото­рой расположены коммутационные проводники (рис. 34, б, в). Межслойные соединения формируются через сквозные отверстия в керамических слоях при заполнении проводящей пастой в процессе получения коммутационных проводников слоя.

 

 

<== предыдущая лекция | следующая лекция ==>
Конструкции и материалы элементов коммутации в МДП-БИС | Быстродействие и производительность ЭВМ
Поделиться с друзьями:


Дата добавления: 2014-01-15; Просмотров: 2202; Нарушение авторских прав?; Мы поможем в написании вашей работы!


Нам важно ваше мнение! Был ли полезен опубликованный материал? Да | Нет



studopedia.su - Студопедия (2013 - 2025) год. Все материалы представленные на сайте исключительно с целью ознакомления читателями и не преследуют коммерческих целей или нарушение авторских прав! Последнее добавление




Генерация страницы за: 0.009 сек.