Студопедия

КАТЕГОРИИ:


Архитектура-(3434)Астрономия-(809)Биология-(7483)Биотехнологии-(1457)Военное дело-(14632)Высокие технологии-(1363)География-(913)Геология-(1438)Государство-(451)Демография-(1065)Дом-(47672)Журналистика и СМИ-(912)Изобретательство-(14524)Иностранные языки-(4268)Информатика-(17799)Искусство-(1338)История-(13644)Компьютеры-(11121)Косметика-(55)Кулинария-(373)Культура-(8427)Лингвистика-(374)Литература-(1642)Маркетинг-(23702)Математика-(16968)Машиностроение-(1700)Медицина-(12668)Менеджмент-(24684)Механика-(15423)Науковедение-(506)Образование-(11852)Охрана труда-(3308)Педагогика-(5571)Полиграфия-(1312)Политика-(7869)Право-(5454)Приборостроение-(1369)Программирование-(2801)Производство-(97182)Промышленность-(8706)Психология-(18388)Религия-(3217)Связь-(10668)Сельское хозяйство-(299)Социология-(6455)Спорт-(42831)Строительство-(4793)Торговля-(5050)Транспорт-(2929)Туризм-(1568)Физика-(3942)Философия-(17015)Финансы-(26596)Химия-(22929)Экология-(12095)Экономика-(9961)Электроника-(8441)Электротехника-(4623)Энергетика-(12629)Юриспруденция-(1492)Ядерная техника-(1748)

Топографическая поверхность




Существует большой класс пов-тей, строение которых не подчинено строгому математическому описанию. Такие пов-ти называют топографическими.Одним из примеров топографической пов-ти может служить рельеф Земли.

Топографическая пов-ть изображается при помощи горизонталей, полученных путём пересечения земной пов-ти горизонтальными плоскостями, отстоящими друг от друга на равном расстоянии.

По возрастанию или понижению горизонталей можно судить о том, что изображена возвышенность или низменность.

 

 

Вершина (холм) Воронка (впадина)

 

Скат, кот. м/б как на Седло (седловина)

подъёме, так и на спуске [нижние отметки д/б одинаковыми]

 

 

Гребень Тольвит (овраг)

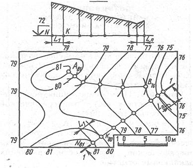
Задача Построить линию пересечения плоскости с топографической поверхностью.

Для этого находим точки пересечения одноимённых горизонталей плоскости и поверхности. Соединяя точки плавной линией («от руки»), получаем искомую линию пересечения.

 

 
 

 


Задача Построить профиль топографической поверхности плоскостью 1 - 1.

Профиль – фигура, полученная в результате сечения поверхности вертикальной плоскостью.

Итак, для построения профиля рельефа местности по заданному направлению топографическую пов-ть пересекают вертикальной пл-тью и строят линию пересечения этой плоскости с топографической пов-тью.

Отмечаем точки пересечения плоскости 1 – 1 и горизонталей поверхности. Þ строим эпюр линии пересечения. Для этого откладываем отметки точек на линиях проекционной связи, исходящие от каждой точки согласно масштабу, ^-но плоскости 1 – 1 Þ точки их пересечения соединяем плавной линией «от руки» - эта линия и представляет собой границу профиля.

 

1 - 1

 
 

 

 





Поделиться с друзьями:


Дата добавления: 2014-01-20; Просмотров: 1479; Нарушение авторских прав?; Мы поможем в написании вашей работы!


Нам важно ваше мнение! Был ли полезен опубликованный материал? Да | Нет



studopedia.su - Студопедия (2013 - 2026) год. Все материалы представленные на сайте исключительно с целью ознакомления читателями и не преследуют коммерческих целей или нарушение авторских прав! Последнее добавление




Генерация страницы за: 0.01 сек.