Студопедия

КАТЕГОРИИ:


Архитектура-(3434)Астрономия-(809)Биология-(7483)Биотехнологии-(1457)Военное дело-(14632)Высокие технологии-(1363)География-(913)Геология-(1438)Государство-(451)Демография-(1065)Дом-(47672)Журналистика и СМИ-(912)Изобретательство-(14524)Иностранные языки-(4268)Информатика-(17799)Искусство-(1338)История-(13644)Компьютеры-(11121)Косметика-(55)Кулинария-(373)Культура-(8427)Лингвистика-(374)Литература-(1642)Маркетинг-(23702)Математика-(16968)Машиностроение-(1700)Медицина-(12668)Менеджмент-(24684)Механика-(15423)Науковедение-(506)Образование-(11852)Охрана труда-(3308)Педагогика-(5571)Полиграфия-(1312)Политика-(7869)Право-(5454)Приборостроение-(1369)Программирование-(2801)Производство-(97182)Промышленность-(8706)Психология-(18388)Религия-(3217)Связь-(10668)Сельское хозяйство-(299)Социология-(6455)Спорт-(42831)Строительство-(4793)Торговля-(5050)Транспорт-(2929)Туризм-(1568)Физика-(3942)Философия-(17015)Финансы-(26596)Химия-(22929)Экология-(12095)Экономика-(9961)Электроника-(8441)Электротехника-(4623)Энергетика-(12629)Юриспруденция-(1492)Ядерная техника-(1748)

Насосы. Общие сведения

Классификация гидравлических машин.

К гидравлическим машинам относят такие машины, в которых происхо­дит процесс преобразования энергии жидкости в результате её взаимодействия с рабочими органами машины. В процессе преобразования энергия жидкости может либо увеличиваться, либо уменьшаться. Если энергия жидкости возрас­тает, при взаимодействии жидкости с рабочими органами машины, такие ма­шины называют насосами, а если уменьшается, превращаясь в полезную работу – гидродвигателями. Следовательно, насосы относятся к энергопотребляю­щим машинам, а гидравлические двигатели – к энергоотдающим. Разумеется, в первом случае к рабочему органу машины необходимо подводить энергию от внешнего источника (двигателя внутреннего сгорания, электродвигателя и дру­гих источников энергии), а во втором – высвобождающаяся энергия может быть использована для выполнения полезной работы, например, для вращения породоразрушающего инструмента при бурении скважин.

Классификация гидравлических машин приведена на рис. 1.

При бурении скважин на нефть и газ, добыче и транспортировке нефти и воды в России и других странах используют насосы различных типов.

При бурении и ремонте скважин применяются преимущественно поршневые и плунжерные насосы. Насосы других ти­пов, например, шестеренные, пластинчатые, роторно-поршневые и другие ис­пользуются в качестве вспомогательных (в системах смазки и т. д.). Насосы лопаточного типа обычно используются в качестве подпорных, смесительных и прочих.

При добыче нефти, промысловом транспорте и первичной подготовке широко используются насосы объемного и лопаточного типов различного конструктивного исполнения.

Для привода долот и другого инструмента используются гидродвигатели объемного и лопаточного типов. Из объемных двигателей широко распростра­нены двигатели винтового типа, а из лопаточных – осевого или турбинного.

Машины, образованные сочетанием насоса и двигателя объемного типа называются гидростатическими передачами, а машины, образованные соче­танием лопаточного насоса и лопаточного гидродвигателя – гидродинамиче­скими.

Рис. 1. Классификация гидравлических машин.

 

 

Как уже отмечалось ранее, прокачку бурового раствора и других жидкостей в циркуляционной системе буровой обеспечивают насосы поршневого или плунжерного типов. Рассмотрим принципиальную схему и принцип действия простейшего насоса – одноцилиндрового, одинарного действия. Разумеется, в практике такой насос, а тем более на буровой, не встречается, однако изучение его устройства и прин­ципа действия поможет изучить более сложный насос.

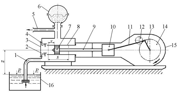
На рис. 2 приведена принципиальная схема одноцилиндрового поршне­вого приводного насоса простого действия. Детали, отмеченные позициями с 1 по 8, относятся к гидравлической части насоса, а с 10 по 15 – к приводной. Шток насоса 9 служит связующим звеном между приводной и гидравлической частями насоса. Приводная часть обеспечивает преобразование вращательного движения в возвратно-поступательное перемещение поршня или плунжера за счет кривошипно-шатунного механизма.

Рис. 2. Принципиальная схема одноцилиндрового поршневого насоса простого (или одинарного) действия. 1–патрубок входной; 2–клапан всасывающий; 3–крышка клапанной коробки; 4–клапан нагнетательный; 5–патрубок выходной; 6–пневмокомпенсатор; 7–поршень; 8–цилиндр; 9–шток; 10–крейцкопф; 11–шатун; 12–ведущее колесо; 13–криво­шип; 14–ведомое колесо; 15–корпус; 16–приемный резервуар.

 

Рис. 3. Принципиальная схема одноцилиндрового поршневого насоса двойного действия. 1–входной патрубок; 2–крышка клапанной коробки; 3, 8–клапан нагнетательный; 4–патрубок выходной; 5–пневмокомпенсатор; 6–поршень; 7–цилиндр; 9–уплотнение штока; 10–шток; 11–крейцкопф; 12–шатун; 13–ведущее колесо; 14–кривошип; 15– ведомое колесо; 16–корпус; 17, 18–всасывающий клапан; 19–приемный резервуар.

 

Насос, показанный на рисунке 2, при перемещении поршня 7 от крайнего левого положения к крайнему правому, обеспечивает всасывание жидкости, а при перемещении в обратном направлении – её нагнетание. При этом кривошип насоса поворачивается на один оборот и поэтому такой насос получил название насоса одинарного действия. У насоса приведенного на рисунке 3 за полный поворот кривошипа процесс вса­сывания и нагнетания жидкости происходит дважды и поэтому он называется насосом двойного действия.

Насосы более сложной конструкции имеют не один цилиндр, а два или три. Для обеспечения равномерной подачи жидкости их кривошипы смещены друг относительно друга на некоторый угол.

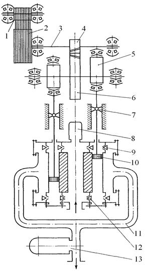
На рисунке 4 приведена принципиальная схема двухцилиндрового насоса двойного действия.

 

 

Рис. 4. Принципиальная схема двухцилиндрового насоса двойного действия.

1 – шкив трансмиссии; 2 – шкив насоса; 3 – трансмиссионный вал; 4 – ведущая шес­терня; 5 – эксцентрик; 6 – ведомая шестерня; 7 – крейцкопф; 8 – пневмокомпенсатор всасывания; 9 – клапан на­гнетательный; 10 – поршень; 11 – нагнетательный патрубок; 12 – клапан всасывающий; 13 – пневмо­компенсатор линии нагнетания.

 

 

3. Закон перемещения поршня.

Под законом перемещения поршня понимают зависимость пути, скорости и ускорения поршня от угла поворота кривошипа на любой момент времени t. Эти зависимости предопределяются размером и взаимным местоположением звеньев кривошипно-шатунного механизма (рис. 5).

Рис. 5. Схема кривошипно-шатунного механизма.

1 – шток; 2 – крейцкопф; 3 – направляющая; 4 – шатун; 5 - кривошип

 

Рассматривая кривошипно-шатунный механизм представляется возможным определить путь х, проходимый поршнем насоса на любой момент времени t:

, (1)

где х 1 – путь, проходимый поршнем насоса, обусловленный поворотом кри­вошипа 5 длиной r вокруг оси (точка С); х 2 – путь, проходимый поршнем насоса, обусловленный поворотом шатуна 4 длиной l вокруг мгновенного цен­тра вращения (точка А); φ – угол поворота кривошипа, φ = ω·t; β – угол поворота шатуна; ω – угловая скорость кривошипа.

Рассматривая треугольники ΔАВD и ΔСВD можно записать:

(2) или , (3)

Выражая cos β через sin φ и разлагая подкоренное выражение в ряд Макло­рена получим:

(4)

В связи с малостью третьим членом в выражении (4) можно пренебречь, то­гда:

(5)

Скорость поршня определим, взяв первую производную от перемещения (пути) поршня (выражение (5)) по времени: (6)

Ускорение поршня определим, взяв первую производную от скорости поршня (выражение (6)) по времени, или взяв вторую производную от пере-мещения поршня (выражение (5)) получим:

(7)

В формулах (6) и (7) знак плюс относится к ходу поршня вперед, т. е. при приближении его к оси вращения кривошипа, а знак минус– к ходу поршня назад.

При последними членами выражений (5), (6) и (7) можно пренеб­речь, тогда:

; (8)

; (9)

(10)

На рисунках 6 и 7 приведен соответственно графический вид выражений (9) и (10). Как видим из приведенных рисунков, максимальная скорость поршня наблюдается при угле поворота кривошипа φ равном 90о и 270о. Уско­рение поршня максимально при φ= 0о и φ =180о.

 

Рис. 6. График скорости поршня

 

 

Рис. 7. График ускорения поршня.

 

<== предыдущая лекция | следующая лекция ==>
 | Подача насоса. График подачи
Поделиться с друзьями:


Дата добавления: 2014-01-20; Просмотров: 398; Нарушение авторских прав?; Мы поможем в написании вашей работы!


Нам важно ваше мнение! Был ли полезен опубликованный материал? Да | Нет



studopedia.su - Студопедия (2013 - 2026) год. Все материалы представленные на сайте исключительно с целью ознакомления читателями и не преследуют коммерческих целей или нарушение авторских прав! Последнее добавление




Генерация страницы за: 0.012 сек.