Студопедия

КАТЕГОРИИ:


Архитектура-(3434)Астрономия-(809)Биология-(7483)Биотехнологии-(1457)Военное дело-(14632)Высокие технологии-(1363)География-(913)Геология-(1438)Государство-(451)Демография-(1065)Дом-(47672)Журналистика и СМИ-(912)Изобретательство-(14524)Иностранные языки-(4268)Информатика-(17799)Искусство-(1338)История-(13644)Компьютеры-(11121)Косметика-(55)Кулинария-(373)Культура-(8427)Лингвистика-(374)Литература-(1642)Маркетинг-(23702)Математика-(16968)Машиностроение-(1700)Медицина-(12668)Менеджмент-(24684)Механика-(15423)Науковедение-(506)Образование-(11852)Охрана труда-(3308)Педагогика-(5571)Полиграфия-(1312)Политика-(7869)Право-(5454)Приборостроение-(1369)Программирование-(2801)Производство-(97182)Промышленность-(8706)Психология-(18388)Религия-(3217)Связь-(10668)Сельское хозяйство-(299)Социология-(6455)Спорт-(42831)Строительство-(4793)Торговля-(5050)Транспорт-(2929)Туризм-(1568)Физика-(3942)Философия-(17015)Финансы-(26596)Химия-(22929)Экология-(12095)Экономика-(9961)Электроника-(8441)Электротехника-(4623)Энергетика-(12629)Юриспруденция-(1492)Ядерная техника-(1748)

ЗУ, иерархия, основные параметры

ЗУ- узел ЭВМ для записи, хранения и выдачи информации, представляемой в виде цифровых сигналов. Основной параметр ЗУ-объем хранимой информации.

СОЗУ – быстродействие соизмеримо с быстродействием МП.

Объем – необходимый для выполнения некот. Текущей последовательности команд программы.

ОЗУ –Быстродействие на порядок хуже чем у СОЗУ

ВЗУ – для хранения информации, быстродействие еще ниже.

БЗУ – для промежуточн хранения информации между устройствами памяти с разными скоросятями.

ПЗУ- для постоянного хранения информации

 

 

42. Классификация ЗУ.

1.По назначению

СОЗУ, ОЗУ, ВЗУ, БЗУ, УО, ПЗУ

2.По адресации

1)ЗУ с произвольным доступом (выборкой), время обращения постоянное, не зависит от адреса.

2)ЗУ с последовательной выборкой, время обращения зависит от номера адреса.

3)ЗУ с циклической выборкой, обращение возможно при определенных условиях.

4)ассоциативное ЗУ (АЗУ), инф-ю ищут по части инф-ии

3.По характеру хранения

1)Статические, сколь угодно долго хранят инф-ю пока есть питание.

2)Динамические, хранят инф-ю определенный интервал времени.

3)ПЗУ, хранят инф-ю и при откл. питании.

4.По кратности считывания

1)ЗУ со считыванием инф-ии без разрушения

2)с разрушением

5.По физ-хим принципу работы

1)магнитные

2)п/п

3)оптические и т.д.

6.По технологии изготовления

1)Дискретные элементы

2)Интегральные микросхемы

 

43. Схемотехника ЗУ с произвольной выборкой (доступом). Двумерная адресация ЗУ.

1) С одномерной адресацией. ЛВС – лин. выборки слова.

2) С двумерной адресацией, цель: сократить длину проводов, увеличить емкость.

 

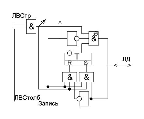
44. ЗУ с двунаправленной шиной данных.

 

<== предыдущая лекция | следующая лекция ==>
ЗУ с последовательной выборкой. Стек | ЗУ с последовательной выборкой (доступом)
Поделиться с друзьями:


Дата добавления: 2014-01-20; Просмотров: 518; Нарушение авторских прав?; Мы поможем в написании вашей работы!


Нам важно ваше мнение! Был ли полезен опубликованный материал? Да | Нет



studopedia.su - Студопедия (2013 - 2026) год. Все материалы представленные на сайте исключительно с целью ознакомления читателями и не преследуют коммерческих целей или нарушение авторских прав! Последнее добавление




Генерация страницы за: 0.013 сек.