Студопедия

КАТЕГОРИИ:


Архитектура-(3434)Астрономия-(809)Биология-(7483)Биотехнологии-(1457)Военное дело-(14632)Высокие технологии-(1363)География-(913)Геология-(1438)Государство-(451)Демография-(1065)Дом-(47672)Журналистика и СМИ-(912)Изобретательство-(14524)Иностранные языки-(4268)Информатика-(17799)Искусство-(1338)История-(13644)Компьютеры-(11121)Косметика-(55)Кулинария-(373)Культура-(8427)Лингвистика-(374)Литература-(1642)Маркетинг-(23702)Математика-(16968)Машиностроение-(1700)Медицина-(12668)Менеджмент-(24684)Механика-(15423)Науковедение-(506)Образование-(11852)Охрана труда-(3308)Педагогика-(5571)Полиграфия-(1312)Политика-(7869)Право-(5454)Приборостроение-(1369)Программирование-(2801)Производство-(97182)Промышленность-(8706)Психология-(18388)Религия-(3217)Связь-(10668)Сельское хозяйство-(299)Социология-(6455)Спорт-(42831)Строительство-(4793)Торговля-(5050)Транспорт-(2929)Туризм-(1568)Физика-(3942)Философия-(17015)Финансы-(26596)Химия-(22929)Экология-(12095)Экономика-(9961)Электроника-(8441)Электротехника-(4623)Энергетика-(12629)Юриспруденция-(1492)Ядерная техника-(1748)

Устройство отдельных частей теодолита




На рисунке 37 показан его схематический вертикальный разрез: 3 – лимб горизонтального круга – металлическое или стеклянное кольцо с нанесенными на него градусными или минутными делениями; 4 – алидада горизонтального круга – концентрически связанное с лимбом кольцо, несущее на себе отсчетные приспособления, цилиндрический уровень 9 и подставки 5 зрительной трубы 7. Лимб и алидада своими осевыми втулками входят в подставку теодолита 2 с тремя подъемными винтами 1. На рисунке 37 показана также ось вращения 8 зрительной трубы и вертикальный круг 6, также состоящий из лимба и алидады. Основные части теодолита снабжены закрепительными и наводящими винтами.

 

 

Рисунок 37 Теодолит

 

В теодолите элементы проекции реализуются так: горизонтальной плоскостью проекции H служит плоскость лимба горизонтального круга; вместо двух отвесных проектирующих плоскостей v1 и v2 теодолит имеет одну подвижную проектирующую коллимационную плоскость, которую должна описывать визирная ось зрительной трубы при вращении вокруг горизонтальной оси 7 (см. Рисунок 37). Вершина О угла на плоскости H представлена центром лимба горизонтального круга.

Зрительная труба теодолита предназначена для наблюдения удаленных предметов и построена по телескопической системе (Рисунок 38), в которой при установке трубы на бесконечность точка заднего фокуса объектива совмещается с точкой переднего фокуса окуляра.

Визирной осью зрительной трубы называют воображаемую линию, соединяющую оптический центр объектива и точку пересечения нитей сетки.

 

 
 

При геодезических работах расстояния до наблюдаемых точек конечны, поэтому изображения предметов в трубе могут занимать разные позиции, в зависимости от расстояний до наблюдаемых точек. Поэтому для наблюдений зрительную трубу устанавливают по глазу и по предмету. В первом случае ее направляют на светлый фон и, вращая диоптрийное кольцо окулярного патрубка, достигают четкой видимости нитей сетки. Для установки трубы по предмету нужно добиться четкого изображения предмета. Оно будет таким только тогда, когда изображение предмета в трубе совместится с плоскостью сетки нитей. Это достигается перемещением фокусирующей линзы с помощью кремальеры.

Уровни предназначены для установки осей или плоскостей геодезических приборов в горизонтальное или отвесное положение, либо для измерения небольших углов наклона. Различают два вида уровней: более точные – цилиндрические и менее точные – сферические, круглые уровни.

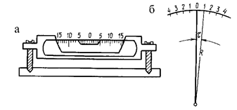
Цилиндрический уровень представляет собой стеклянную ампулу тороидальной формы, запаянную в металлическую оправу. В продольном сечении внутренняя поверхность ампулы отшлифована по дуге окружности радиуса R (Рисунок 39). Ампула заполнена спиртом или эфиром. Свободное пространство в ней, заполненное парами жидкости, называется пузырьком уровня, который всегда стремится занять самое высокое положение в ампуле. На внешней поверхности ампулы нанесена шкала делений (обычно через 2 мм).

Осью уровня (Рисунок 39) называется касательная к внутренней поверхности ампулы в нуль–пункте, а ценой деления – центральный угол τ, опирающийся на одно деление уровня.

Если пузырек уровня находится в нуль–пункте, то ось уровня занимает в пространстве горизонтальное положение. Наклон ν оси уровня относительно горизонта определяют по величине смещения пузырька относительно нуль–пункта (ν= n∙ τ). В технических теодолитах τ бывает в пределах 30˝ – 60˝, в нивелирах 5˝ – 30˝.

Круглые уровни предназначены для предварительной установки прибора в рабочее положение. Внутренняя поверхность ампулы такого уровня отшлифована под сферу некоторого радиуса. На внешней поверхности нанесены концентрические деления. Осью круглого уровня является радиус сферы, опущенный из нуль–пункта. Цена деления круглого уровня обычно равна 5΄ – 10΄.

Горизонтальный круг теодолита состоит из двух частей – лимба и алидады. По внешнему краю лимба нанесены градусные и минутные деления. Счет делений идет по ходу часовой стрелки. Наименьшее деление лимба есть цена его деления.

Алидада – концентрически связанный с лимбом круг, на котором расположены отсчетные приспособления. На кожухе алидады крепятся подставки зрительной трубы. В процессе измерения горизонтального круга лимб теодолита остается неподвижным, а трубу вместе с алидадой устанавливают в заданном направлении по сторонам угла.

 

 

Рисунок 39 Цилиндрический уровень: а – устройство уровня;

б – цена деления уровня

 

Отсчетные приспособления

Отсчетом называют угол, отсчитанный по ходу часовой стрелки от нулевого деления лимба до указателя (нулевого штриха) отсчетного приспособления.

В современных технических теодолитах со стеклянными кругами отсчетными приспособлениями служат штриховой (Рисунок 40) или шкаловой (Рисунок 41) микроскопы. В первом случае отсчет по лимбу берут на глаз по штриху указателя.

На рисунке 40 отсчет A = 306˚ 35΄ при цене деления лимба 10΄. В поле зрения шкалового микроскопа видны деления лимба и шкала, размер которой равен одному делению. Отсчет здесь состоит из целого числа делений лимба, к которому прибавляют отсчет по шкале.

 

 

Рисунок 40 Штриховой

 
 

 
 

Рисунок 41. Шкаловой микроскоп

 

На рисунке 41 A = 120˚ + 18΄ = 120˚ 18΄, так как наименьшее деление микроскопа 5΄, а цифры от 0 до 6 шкалы означают десятки минут.

 




Поделиться с друзьями:


Дата добавления: 2014-01-20; Просмотров: 1115; Нарушение авторских прав?; Мы поможем в написании вашей работы!


Нам важно ваше мнение! Был ли полезен опубликованный материал? Да | Нет



studopedia.su - Студопедия (2013 - 2025) год. Все материалы представленные на сайте исключительно с целью ознакомления читателями и не преследуют коммерческих целей или нарушение авторских прав! Последнее добавление




Генерация страницы за: 0.009 сек.