Студопедия

КАТЕГОРИИ:


Архитектура-(3434)Астрономия-(809)Биология-(7483)Биотехнологии-(1457)Военное дело-(14632)Высокие технологии-(1363)География-(913)Геология-(1438)Государство-(451)Демография-(1065)Дом-(47672)Журналистика и СМИ-(912)Изобретательство-(14524)Иностранные языки-(4268)Информатика-(17799)Искусство-(1338)История-(13644)Компьютеры-(11121)Косметика-(55)Кулинария-(373)Культура-(8427)Лингвистика-(374)Литература-(1642)Маркетинг-(23702)Математика-(16968)Машиностроение-(1700)Медицина-(12668)Менеджмент-(24684)Механика-(15423)Науковедение-(506)Образование-(11852)Охрана труда-(3308)Педагогика-(5571)Полиграфия-(1312)Политика-(7869)Право-(5454)Приборостроение-(1369)Программирование-(2801)Производство-(97182)Промышленность-(8706)Психология-(18388)Религия-(3217)Связь-(10668)Сельское хозяйство-(299)Социология-(6455)Спорт-(42831)Строительство-(4793)Торговля-(5050)Транспорт-(2929)Туризм-(1568)Физика-(3942)Философия-(17015)Финансы-(26596)Химия-(22929)Экология-(12095)Экономика-(9961)Электроника-(8441)Электротехника-(4623)Энергетика-(12629)Юриспруденция-(1492)Ядерная техника-(1748)

Бестрансфоматорные схемы выпрямления

Бестрансформаторные маломощные сетевые блоки питания с гасящим конденсатором получили широкое распространение в радиолюбительских конструкциях благодаря простоте своей конструкции, несмотря на такой серьезный недостаток, как наличие гальванической связи блока питания с сетью.

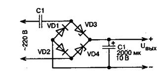
Входная часть блока питания (рис. 3.27) содержит балластный кон­денсатор С1 и мостовой выпрямитель из диодов VD1, VD2 и ста­билитронов VD3, VD4. Для ограничения броска тока через диоды и стабилитроны моста в момент включения в сеть последовательно с балластным конденсатором следует включить токоограничивающий резистор сопротивлением 50...100 Ом, а для разрядки конденсатора после отключения блока от сети, параллельно ему — резистор со­противлением 15О...300 кОм. К выходу блока подключают оксидный конденсатор фильтра емкостью 2000 мкФ на номинальное напря­жение не менее 10 В. В результате получаются функционально законченные блоки питания.

При использовании мощных стабилитронов (Д815А... Д817Г), их можно установить на общий радиатор, если в обозначении их типа присутствуют буквы ПП (стабилитроны Д815АПП...Д817ГПП имеют обратную полярность выводов). В противном случае диоды и стабилитроны необходимо поменять местами. Гальваническая связь сети с выходом блока питания, а значит, и с питаемой аппаратурой, создает реальную опасность поражения электрическим током. Об этом следует помнить при конструировании и налаживании блоков с конденсаторно-стабилитронным выпрямителем.


Несмотря на то, что теоретически конденсаторы в цепи перемен­ного тока мощности не потребляют, реально в них из-за наличия потерь может выделяться некоторое количество тепла. Проверить заранее пригодность конденсатора для использования в источнике можно, просто подключив его к электросети и оценив темпера­туру корпуса через полчаса. Если конденсатор успевает заметно разогреться, его следует счесть непригодным для использования в источнике. Практически не нагреваются специальные конденса­торы для промышленных электроустановок — они рассчитаны на большую реактивную мощность. Такие конденсаторы используют в люминесцентных светильниках, в пускорегулирующих устройствах асинхронных электродвигателей и т.п.

Ниже представлены практическая схема пятивольтового источника питания общего назначения на ток нагрузки до 0,3 А (рис. 3.28) с конденсаторным делителем. Дели­тель напряжения пяти вольтового источника состоит из бумажного конденсатора С1 и двух оксидных С2 и СЗ, образующих нижнее по схеме неполярное плечо емкостью 100 мкФ. Поляризующими диодами для оксидной пары служат левые по схеме диоды моста. При номиналах элементов, указанных на схеме, ток короткого замыкания на выходе блока питания равен 600 мА, напряжение на конденсаторе С4 в отсутствие нагрузки — 27 В.

 

КОНТРОЛЬНЫЕ ВОПРОСЫ

 

1. Из каких основных элементов состоит выпрямитель и каково назначение этих элементов?

2. Какими основными параметрами характеризуются выпрямительные диоды?

3. Когда диоды включают в схемы параллельно и когда последовательно?

4. По каким признакам классифицируются выпрямители?

5. Какие параметры необходимы для проектирования выпрямителей?

6. Каков принцип работы и основные параметры схем выпрямления?

7. Как сказывается емкостный и индуктивный характер нагрузки на работу схем выпрямления?

8. В чем заключаются особенности работы выпрямителя на встречную э.д. с.?

9. Как влияет индуктивность рассеяния обмоток трансформатора на работу выпрямителя?

10. В чем заключается принцип работы выпрямителя с умножением напря­жения?

 

 


<== предыдущая лекция | следующая лекция ==>
Общие положения. Выпрямительным устройством, или выпрямителем, называют статический преобразователь переменного тока в постоянный | Непрерывные стабилизаторы напряжения
Поделиться с друзьями:


Дата добавления: 2014-01-20; Просмотров: 710; Нарушение авторских прав?; Мы поможем в написании вашей работы!


Нам важно ваше мнение! Был ли полезен опубликованный материал? Да | Нет



studopedia.su - Студопедия (2013 - 2026) год. Все материалы представленные на сайте исключительно с целью ознакомления читателями и не преследуют коммерческих целей или нарушение авторских прав! Последнее добавление




Генерация страницы за: 0.025 сек.