Студопедия

КАТЕГОРИИ:


Архитектура-(3434)Астрономия-(809)Биология-(7483)Биотехнологии-(1457)Военное дело-(14632)Высокие технологии-(1363)География-(913)Геология-(1438)Государство-(451)Демография-(1065)Дом-(47672)Журналистика и СМИ-(912)Изобретательство-(14524)Иностранные языки-(4268)Информатика-(17799)Искусство-(1338)История-(13644)Компьютеры-(11121)Косметика-(55)Кулинария-(373)Культура-(8427)Лингвистика-(374)Литература-(1642)Маркетинг-(23702)Математика-(16968)Машиностроение-(1700)Медицина-(12668)Менеджмент-(24684)Механика-(15423)Науковедение-(506)Образование-(11852)Охрана труда-(3308)Педагогика-(5571)Полиграфия-(1312)Политика-(7869)Право-(5454)Приборостроение-(1369)Программирование-(2801)Производство-(97182)Промышленность-(8706)Психология-(18388)Религия-(3217)Связь-(10668)Сельское хозяйство-(299)Социология-(6455)Спорт-(42831)Строительство-(4793)Торговля-(5050)Транспорт-(2929)Туризм-(1568)Физика-(3942)Философия-(17015)Финансы-(26596)Химия-(22929)Экология-(12095)Экономика-(9961)Электроника-(8441)Электротехника-(4623)Энергетика-(12629)Юриспруденция-(1492)Ядерная техника-(1748)

Каменные и бетонные фундаменты

 

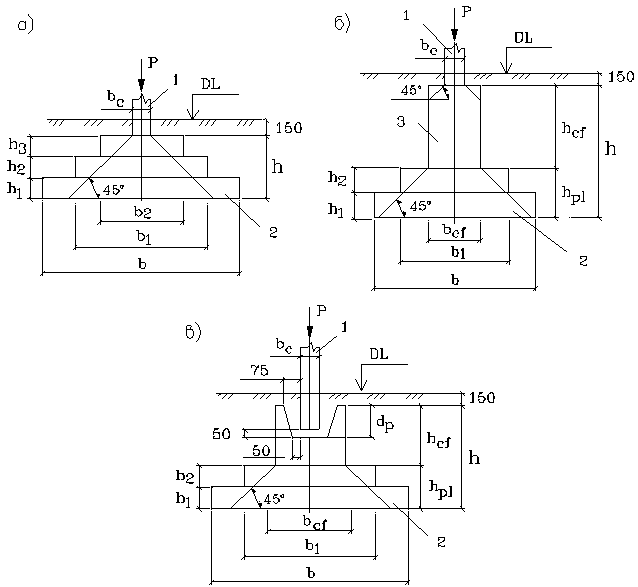
Рис. 8.8. Конструкции каменных и бетонных фундаментов

а – минимальной ширины; б – обычной ширины; в – уширенный фундамент

 

Каменные и бетонные фундаменты (рис. 8.8) устраиваются монолитными и проектируются как жесткие.

Фундаменты уширяются к подошве уступами, размеры которых определяются углом жесткости* из условия прочности на скалывание. Угол жесткости и отношение между шириной и высотой уступов назначаются по таблице [9].

Каменные фундаменты выполняются из камня марки не ниже 100 и раствора не ниже 10, бетонные – из бетона класса не ниже B7,5.

Наименьшую высоту уступа принимают из условия обеспечения перевязки швов кладки: для постелистого камня – 40 см (два ряда кладки), для рваного 60 см (три ряда), для бетона – 30 см.

 

Рис. 8.9. Схемы железобетонных фундаментов

а – монолитное сопряжение фундаментной плиты с колонной; б – то же, с подколонником; в – сопряжение монолитного фундамента со сборной колонной; 1 – колонна; 2 – плита; 3 – подколонник

 

При конструировании бетонных и каменных фундаментов на выбранной глубине заложения откладывают необходимую ширину фундамента. Далее в зависимости от материала фундамента определяют минимальную высоту уступов, затем по табл. [9] устанавливают ширину и число уступов (рис. 8.8).

<== предыдущая лекция | следующая лекция ==>
Типы фундаментов | Железобетонные монолитные фундаменты
Поделиться с друзьями:


Дата добавления: 2014-01-20; Просмотров: 618; Нарушение авторских прав?; Мы поможем в написании вашей работы!


Нам важно ваше мнение! Был ли полезен опубликованный материал? Да | Нет



studopedia.su - Студопедия (2013 - 2026) год. Все материалы представленные на сайте исключительно с целью ознакомления читателями и не преследуют коммерческих целей или нарушение авторских прав! Последнее добавление




Генерация страницы за: 0.01 сек.