Студопедия

КАТЕГОРИИ:


Архитектура-(3434)Астрономия-(809)Биология-(7483)Биотехнологии-(1457)Военное дело-(14632)Высокие технологии-(1363)География-(913)Геология-(1438)Государство-(451)Демография-(1065)Дом-(47672)Журналистика и СМИ-(912)Изобретательство-(14524)Иностранные языки-(4268)Информатика-(17799)Искусство-(1338)История-(13644)Компьютеры-(11121)Косметика-(55)Кулинария-(373)Культура-(8427)Лингвистика-(374)Литература-(1642)Маркетинг-(23702)Математика-(16968)Машиностроение-(1700)Медицина-(12668)Менеджмент-(24684)Механика-(15423)Науковедение-(506)Образование-(11852)Охрана труда-(3308)Педагогика-(5571)Полиграфия-(1312)Политика-(7869)Право-(5454)Приборостроение-(1369)Программирование-(2801)Производство-(97182)Промышленность-(8706)Психология-(18388)Религия-(3217)Связь-(10668)Сельское хозяйство-(299)Социология-(6455)Спорт-(42831)Строительство-(4793)Торговля-(5050)Транспорт-(2929)Туризм-(1568)Физика-(3942)Философия-(17015)Финансы-(26596)Химия-(22929)Экология-(12095)Экономика-(9961)Электроника-(8441)Электротехника-(4623)Энергетика-(12629)Юриспруденция-(1492)Ядерная техника-(1748)

Лекция №4 Сгустители с периферическим приводом




Сгустители с центральным и боковым (периферическим) приводом (рисунок 14) имеют общий принцип действия и различаются конструкцией приводного ме­ханизма и перегребного устройства. Последнее состоит из пространст­венной гребковой фермы 4 с прикрепленными к нижнему поясу гребками 8. Гребки слегка изогнутой формы и Переменной высоты, возрастаю­щей к центру сгустителя по мере увеличения толщины слоя осадка. Пе­регребное устройство поддерживается двумя опорами: в центре подве­шивается к опорной головке 2, а на конце опирается на кольцевой рельс через опорный каток приводного механизма 5. Консоль фермы 13 пред­назначена для интенсивного перегребания осадка в зоне наибольшей концентрации. Длину консоли принимают равной около половины радиу­са чана 7. Опорную головку устанавливают на железобетонной колонне.

Пульпа из питательного желоба, уложенного на мостике 1, поступает в сгуститель через горловину и окна, предусмотренные в чугунном основании головки. Сгущенный материал непрерывно перекачивается на­сосами в фильтровальное отделение. Спускная труба 11 служит для раз­грузки сгустителя в случае аварии и ремонта. Под сгустителем предус­мотрена подземная галерея, предназначенная для обслуживания разгру­зочной части аппарата и трубопроводов.

Чаны этих сгустителей железобетонные с наклонным днищем, угол наклона около 7°. Опорный кольцевой рельс собирают из железнодорож­ных рельсов или из квадратной стали, закрепляемой на полке двутавро­вой балки.

 

1 — мостик; 2 — головка; 3 — токоприемник; 4 — гребковая ферма;

5 — привод; 6 — сливной желоб;. 7— чан; 8 — гребки; 9, 10, 11 — отсасывающие, промывная и спускная трубы; 12 — мешалка; 13 — консоль гребковой фермы; 14 — кольцевой рельс; 15 — загрузка пульпы

Рисунок 14 - Сгуститель с периферическим приводом

 

В опорной головке расположены подпятник гребковой фермы и токопремное устройство. Подпятник, так же как и в сгустителях с цент­ральным приводом, состоит из свободных стальных шариков 4 (рисунок 15), уложенных на стальном кольце 3 в основании головки 1. Опорное кольцо 7 вращается на подпятнике и несет подвешенную на пальцах 6 гребковую ферму 5. Горизонтальное усилие воспринимается кольцевым вы­ступом опорного кольца и передается на кольцевую заточку 13 основа­ния головки.

 

Рисунок 15 - Опорная головка сгустителя

 

Токоприемное устройство состоит из неподвижных медных колец 9 и щеток 12, закрепленных на вращающемся опорном кольце. От токо­приемника к электродвигателю подведен бронированный кабель, уло­женный на верхнем поясе гребковой фермы. От проникновения пыли и грязи токоприемник тщательно защищен плотным стальным зонтом 8 и кожухом 2.

Пульпа поступает из желоба в горловину 11 в стойке 10 и через вы­пускные окна 14 равномерно вытекает в центральную часть сгустителя. Нижнюю часть основания головки заливают бетоном.

Привод сгустителя состоит из электродвигателя, соединительной муф­ты, редуктора, двух пар открытых зубчатых передач и опорного катка. Зубчатый венец болтами соединен с опорным катком. Подшипники скользящего трения имеют бронзовые вкладыши. В сгустителях послед­них выпусков, устанавливают подшипники качения. Обод катка гладкий, без реборд, что позволяет избежать защемления при движении по рельсу.

Привод сгустителей фрикционный. Перемещение перегребного уст­ройства происходит под действием силы сцепления (трения) между кат­ком и круговым рельсом.

Мощность сгустителя практически определяют применительно к дей­ствующим аппаратам; так как теоретически точно подсчитать ее невозможно из-за неопределенности исходных данных: значений коэффициента трения между пульпой и перегребным устройством, усилий на гребках и др. Исходя из выбранной мощности электродвигателя, детали привод­ного механизма рассчитывают на прочность и определяют их размеры.

Расположение привода на конце гребковой фермы позволяет созда­вать аппараты большого диаметра и большой производительности при меньшей удельной мощности двигателя и более простой конструкции привода по сравнению со сгустителями, действующими от центрального привода. Вместе с тем сгуститель с боковым приводом имеет следующие недостатки. Он непригоден для работы в зимних условиях под открытым небом, так как гребковая ферма выступает над зеркалом осаждения, т.е. над уровнем слива. Поэтому в сгустителях с центральным приводом на колонне гребковая ферма низкая, так как высокая ферма не обеспечи­вает спокойного осаждения и осветления пульпы. Тяговая способность привода зависит от силы сцепления (веса и сопротивления движению греб­ковой фермы), что не создает условия для длительной и устойчивой ра­боты аппарата с заданной скоростью вращения гребкового устройства.

Общие недостатки, свойственные конструкции и принципу действия сгустителей с центральным и боковым приводом, сводятся к следующе­му: малая производительность, снимаемая с 1 м2 занимаемой площади; недостаточная пригодность аппарата для работы на пульпах с твердой фракцией крупностью свыше 0,3 мм; недостаточная защита аппарата от перегрузок.

Традиционные круглые сгустители существуют свыше 80 лет. За это время их конструкция не подвергалась существенным изменениям. Усо­вершенствования в основном касались отдельных узлов и деталей, при­менения более совершенных конструкционных материалов, повышающих надежность и долговечность аппаратов. Такое длительное и широкое ис­пользование сгустителей обусловлено их достоинствами: простым и на­дежным устройством, удобным в обслуживании: высоким коэффициен­том движения и малыми эксплуатационными расходами.

Сгустители «Ламелла»

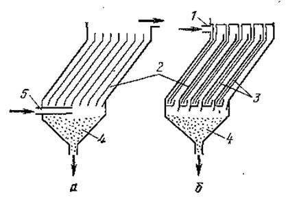
В последние годы за рубежом находят применение сгустители «Ламелла» (рисунок 16), принципиально отличающиеся от обычного круглого сгустителя, удельная производительность которых, по данным фирм-из­готовителей, в 10 раз больше, чем круглых аппаратов. Известны три типа сгустителей «Ламелла»: противоточные (рисунок 16, а), прямоточные (рисунок 16, б) и с поперечным потоком пульпы.

 

Рисунок 16 - Схема пластинчатого сгустителя «Ламелла»

 

Этот аппарат представляет собой прямоугольную камеру, в которой смонтирован пакет тонких параллельных пластин. Последние располо­жены через 35—50 мм и наклонены под углом 25—60° к горизонту. На рисунке 16 дана схема действия этих аппаратов. В прямоточном сгустителе пульпа подается через загрузочное отверстие 1 сверху и равномерно рас­пределяется над всеми пластинами 2. При прохождении потока пульпы между пластинами осаждаются твердые частицы. Осажденный продукт, двигаясь вдоль пластин, попадает в коллектор 4 и из него разгружается через специальное разгрузочное устройство. Осветленная жидкость (слив) по трубкам 3 отводится в верхнюю часть аппарата.

В аппарате противоточного типа пульпа подается снизу через отвер­стие 5 под пластины и по мере осветления проходит между ними в верх­нюю часть аппарата. Осадок (шлам) под действием силы тяжести опус­кается в коллектор 4. В сгустителях с поперечным потоком пульпа пода­ется сбоку от пакета пластин. Сгущенный осадок сползает по поверхно­сти пластин в коллектор. Основной поток движется в поперечном на­правлении и уже осветленным отво­дится со стороны, противоположной загрузочному отверстию.

Японская фирма «Мацусимо Танко» при помощи пластинчатых элементов осуществила модернизацию действующих круглых сгустителей, увеличила их производительность вдвое. Количество пластин, их размеры, форму и угол наклона рас­считывали, исходя из заданной производительности. Пластины, изготовленные из пластмассы на основе виниловых смол, подвешивали на крючкообразных болтах с виниловым покрытием к концентрическим кольцевым рамам, которые крепили к лучевым рамам, устанавливаемым внутри чана сгустителя.

Во время эксплуатации должна обеспечиваться постоянная равномер­ная загрузка сгустителя пульпой установленной консистенции и плотно­сти. Питание пульпой необходимо осуществлять только через загрузоч­ную воронку и предохранительную решетку, которые следует регулярно осматривать и очищать. Нельзя допускать попадания в аппарат щепы, тряпок и других предметов - это может привести к загромождению раз­грузочного отверстия, уплотнению (подпрессовке) осадка и остановке («посадке») сгустителя. Такое же аварийное положение может возник­нуть в результате перегрузки аппарата пульпой.

При остановке сгустителя принимают срочные меры к разгрузке осадка, для чего приводят в действие все отсасывающие насосы. Резерв­ные насосы постоянно находятся в рабочем состоянии. В случае заили­вания отсасывающих труб и разгрузочного конуса для их промывки по­дают воду по промывочной трубе. Периодически (во время запланиро­ванных остановок) очищают гребковое устройство от налипшего мате­риала.

Круговой рельс должен быть сухим и чистым, а рабочая поверхность катка — ровной, без выбоин и лысок. На боковом приводе устанавли­вают сигнализацию (обычно звонок), предупреждающую обслуживаю­щий персонал о приближении механизма к месту их нахождения. Сиг­нальное устройство сгустителей, оборудованных механизмом подъема гребков, должно находиться под постоянным наблюдением. За нагруз­кой аппаратов, не имеющих подъемного механизма, следят по показани­ям амперметра и температуре нагрева подшипников привода. Токоприемное устройство должно быть тщательно заземленным и плотно закры­тым. Переходный мостик необходимо поддерживать в чистоте, перила должны быть исправными и надежными; складывать на мостик матери­алы, детали и другие предметы запрещено.

Литература:1осн. [147-149], 4 осн. [273-282], 1 доп.

Контрольные вопросы

1. Чему способствует механическое сгребание осевшего на дно сгустителя материала к центру?

2. Из какого материала изготавливается чан сгустителя с периферическим приводом?

3. Каким достоинством обладает сгуститель с периферическим приводом?

4. Назовите основной недостаток сгустителей с периферическим приводом.

5. Что представляет собой сгуститель «Ламелла»?

6. Каким образом функционирует сгуститель «Ламелла»?




Поделиться с друзьями:


Дата добавления: 2014-01-11; Просмотров: 7326; Нарушение авторских прав?; Мы поможем в написании вашей работы!


Нам важно ваше мнение! Был ли полезен опубликованный материал? Да | Нет



studopedia.su - Студопедия (2013 - 2026) год. Все материалы представленные на сайте исключительно с целью ознакомления читателями и не преследуют коммерческих целей или нарушение авторских прав! Последнее добавление




Генерация страницы за: 0.012 сек.