Студопедия

КАТЕГОРИИ:


Архитектура-(3434)Астрономия-(809)Биология-(7483)Биотехнологии-(1457)Военное дело-(14632)Высокие технологии-(1363)География-(913)Геология-(1438)Государство-(451)Демография-(1065)Дом-(47672)Журналистика и СМИ-(912)Изобретательство-(14524)Иностранные языки-(4268)Информатика-(17799)Искусство-(1338)История-(13644)Компьютеры-(11121)Косметика-(55)Кулинария-(373)Культура-(8427)Лингвистика-(374)Литература-(1642)Маркетинг-(23702)Математика-(16968)Машиностроение-(1700)Медицина-(12668)Менеджмент-(24684)Механика-(15423)Науковедение-(506)Образование-(11852)Охрана труда-(3308)Педагогика-(5571)Полиграфия-(1312)Политика-(7869)Право-(5454)Приборостроение-(1369)Программирование-(2801)Производство-(97182)Промышленность-(8706)Психология-(18388)Религия-(3217)Связь-(10668)Сельское хозяйство-(299)Социология-(6455)Спорт-(42831)Строительство-(4793)Торговля-(5050)Транспорт-(2929)Туризм-(1568)Физика-(3942)Философия-(17015)Финансы-(26596)Химия-(22929)Экология-(12095)Экономика-(9961)Электроника-(8441)Электротехника-(4623)Энергетика-(12629)Юриспруденция-(1492)Ядерная техника-(1748)

Координат цели

JICB для автоматического сопровождения и определения

PATS - ЛЛС первая, разработанная в США.

Precesión Aircrast Tracking System

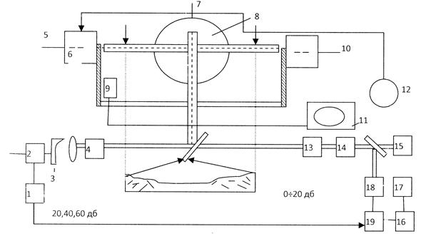
ЛЛС PATS предназначена для автоматического сопровождения и определения координат целей снабженных угловыми отражателями. Блок - схема.

 

1. Синхрогенератор

2. Лазер (в режиме Q-модуляции)

3. Коллиматор (параллельный пучок лучей)

4. Автоматический аттенюатор (передающее устройство)

5. Ось угломестная

6. Привод

7. Азимутальная ось

8. Поворотное зеркало

9. Видео визир

10. Датчик

11. Видео контрольное устройство (ВКУ)

12. Ручка управления приводами

13. Автоматический аттенюатор

14. Интерференц. (полосовой) фильтр

15. Пеленгатор

16. Переключатель каналов

17. Накопитель

18. Приемник дальномерного канала

19. Устройство измерения дальности

20. Зеркало приемного телескопа

JIJIC PATS состоит из инфракрасного лазерного передатчика с рабочей длиной волны λ = 1,06 мкм приемного устройства, инфракрасного телевизира с ВКУ, опорно- поворотного устройства и устройства обработки регистрации результатов измерения.

В начале оператор с помощью ВКУ, сопряженного с телевизиром, ведет поиск цели, для этого ручка управляет приводами, которые вращая поворотное зеркало ориентируют оптическую ось системы в пространстве.

Когда отметка цели попадает в центр поля зрения телевизира, ЛJIC переходит в режим автоматического сопровождения цели, одновременно измеряя угловые координаты и дальность до нее. Автоматическое сопровождение цели осуществляется с помощью пеленгатора, а дальность измеряется устройством измерения дальности, для уменьшения влияния фонового излучения, в приемно-оптическом тракте ставится интереф. фильтр. Выходной сигнал - 16-ти разрядный код. Для компенсации больших отражений мощности, обусловленных измерениями автоматического аттенюатора передающего устройства и приемного канала. Исходное положение устанавливается вручную.

 

 

1. 4-х площадный ФЭД

2. Предварительный усилитель (ПУ)

3. Ключи, подается строб

4. Попарно - сопряженные логарифмический усилитель

5. Пиковые детекторы

В ЛЛС для уменьшения фонового излучения и ПОР осуществляется спектральная, пространственная, временная селекция.

<== предыдущая лекция | следующая лекция ==>
Лазерные импульсные альтиметры | Бортовые ЛСВ для ночной разведки
Поделиться с друзьями:


Дата добавления: 2014-01-11; Просмотров: 418; Нарушение авторских прав?; Мы поможем в написании вашей работы!


Нам важно ваше мнение! Был ли полезен опубликованный материал? Да | Нет



studopedia.su - Студопедия (2013 - 2026) год. Все материалы представленные на сайте исключительно с целью ознакомления читателями и не преследуют коммерческих целей или нарушение авторских прав! Последнее добавление




Генерация страницы за: 0.01 сек.