Студопедия

КАТЕГОРИИ:


Архитектура-(3434)Астрономия-(809)Биология-(7483)Биотехнологии-(1457)Военное дело-(14632)Высокие технологии-(1363)География-(913)Геология-(1438)Государство-(451)Демография-(1065)Дом-(47672)Журналистика и СМИ-(912)Изобретательство-(14524)Иностранные языки-(4268)Информатика-(17799)Искусство-(1338)История-(13644)Компьютеры-(11121)Косметика-(55)Кулинария-(373)Культура-(8427)Лингвистика-(374)Литература-(1642)Маркетинг-(23702)Математика-(16968)Машиностроение-(1700)Медицина-(12668)Менеджмент-(24684)Механика-(15423)Науковедение-(506)Образование-(11852)Охрана труда-(3308)Педагогика-(5571)Полиграфия-(1312)Политика-(7869)Право-(5454)Приборостроение-(1369)Программирование-(2801)Производство-(97182)Промышленность-(8706)Психология-(18388)Религия-(3217)Связь-(10668)Сельское хозяйство-(299)Социология-(6455)Спорт-(42831)Строительство-(4793)Торговля-(5050)Транспорт-(2929)Туризм-(1568)Физика-(3942)Философия-(17015)Финансы-(26596)Химия-(22929)Экология-(12095)Экономика-(9961)Электроника-(8441)Электротехника-(4623)Энергетика-(12629)Юриспруденция-(1492)Ядерная техника-(1748)

Эволюция системы ввода в IВМ - совместимых компьютерах. Первые персональные компьютеры РС IВМ строились на основе принципа «трех М» — модульности, микропрограммируемости и магистральности




Первые персональные компьютеры РС IВМ строились на основе принципа «трех М» — модульности, микропрограммируемости и магистральности.

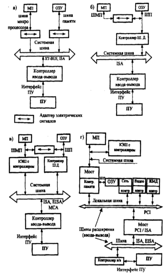
На Рис. 11, а приведена структура ПЭВМ, в которую входят следующие модули: микропроцессор (МП), ОЗУ, контроллер ввода вывода, периферийное устройство.

 


Рис. 11. Структура ПЭВМ

Модули такой ПЭВМ объединялись системными шинами XT-bus, а затем шиной ISA. Частота шины ISA не превышала 8—10 МГц. В таких ПЭВМ для обеспечения бесперебойной работы процессора было достаточно всего 4 миллиона обращений к памяти в секунду (цикл памяти 250 нсек). Этим условиям вполне удовлетворяла одношинная структура СВВ, когда все устройства компьютера, включая ОЗУ, общались с процессором через общую шину.

Наиболее распространенной системной шиной в этот период была сначала 8-разрядная, а затем 16-разрядная шина ISA, работающая на частоте 8—10 мГц.
С ростом частоты работы МП и уменьшением времени доступа в ОЗУ 10-мегагерцовая шина ISA стала тормозом в компьютере. Решение было найдено в выделении канала передачи данных МП—ОЗУ в отдельную шину, построенную на базе внешнего интерфейса МП и изолированную от медленной шины ISA посредством контроллера шины данных (Рис. 11, 6). Эта «конструкция» позволила повысить производительность ЦП. Все ПУ продолжали взаимодействовать с ЦП через шину ISA.
С дальнейшим ростом частоты работы МП тормозом в работе стало ОЗУ. Введение КЭШ-памяти уменьшило простой МП (Рис. 11, в).

По-прежнему все ПУ продолжали работу с МП и ОЗУ через системную шину ISA. К ней «присоединились» более скоростные шины ЕISА, МСА.

С введением в РС IВМ мультимедиа выявилось узкое место компьютера во взаимодействии ЦП и видеокарты. Для работы в режиме мультимедиа потребовалась пропускная способность системной шины более 100 мбайт/с. Шины ЕISА, МСА, iSА для этого не годились.
Выход был найден введением новой шины — локальной шины VL-bus, а затем локальной шины РСI.

 

 

Справка: Шина РСI — независимая от процессора шина с частотой 33 МГц при 32-разрядных данных. Обеспечивает пропускную способность в 132 Мбайт/с.
Системная шина ISA по прежнему используется в компьютерах. Это позволяет применять в новых компьютерах огромное количество ранее разработанных аппаратных и программных средств (Рис. 11, г).

В такой системе ввода-вывода различные ПУ подключаются к разным шинам: медленные к ISA, высокоскоростные к РСI.

С появлением шины РСI стало целесообразным использовать высокоскоростные параллельные и последовательные интерфейсы ПУ - SCSI, АТА, USB.

Следует отметить, что структура, рассмотренная выше, по сути, возвращает нас к селекторному (РСI) и мультиплексному (ISA) каналам.




Поделиться с друзьями:


Дата добавления: 2014-01-11; Просмотров: 514; Нарушение авторских прав?; Мы поможем в написании вашей работы!


Нам важно ваше мнение! Был ли полезен опубликованный материал? Да | Нет



studopedia.su - Студопедия (2013 - 2025) год. Все материалы представленные на сайте исключительно с целью ознакомления читателями и не преследуют коммерческих целей или нарушение авторских прав! Последнее добавление




Генерация страницы за: 0.045 сек.