Студопедия

КАТЕГОРИИ:


Архитектура-(3434)Астрономия-(809)Биология-(7483)Биотехнологии-(1457)Военное дело-(14632)Высокие технологии-(1363)География-(913)Геология-(1438)Государство-(451)Демография-(1065)Дом-(47672)Журналистика и СМИ-(912)Изобретательство-(14524)Иностранные языки-(4268)Информатика-(17799)Искусство-(1338)История-(13644)Компьютеры-(11121)Косметика-(55)Кулинария-(373)Культура-(8427)Лингвистика-(374)Литература-(1642)Маркетинг-(23702)Математика-(16968)Машиностроение-(1700)Медицина-(12668)Менеджмент-(24684)Механика-(15423)Науковедение-(506)Образование-(11852)Охрана труда-(3308)Педагогика-(5571)Полиграфия-(1312)Политика-(7869)Право-(5454)Приборостроение-(1369)Программирование-(2801)Производство-(97182)Промышленность-(8706)Психология-(18388)Религия-(3217)Связь-(10668)Сельское хозяйство-(299)Социология-(6455)Спорт-(42831)Строительство-(4793)Торговля-(5050)Транспорт-(2929)Туризм-(1568)Физика-(3942)Философия-(17015)Финансы-(26596)Химия-(22929)Экология-(12095)Экономика-(9961)Электроника-(8441)Электротехника-(4623)Энергетика-(12629)Юриспруденция-(1492)Ядерная техника-(1748)

Высокочастотные сушилки

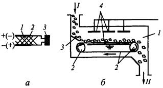
Материалы, требующие длительной сушки при использовании ранее рассмотренных способов сушки или имеющие большую толщину, сушат в поле токов высокой частоты (ТВЧ). Высушиваемый диэлектрический ма­териал помещают между электродами, присоединенными к выходным клеммам генератора ТВЧ. На рисунке 4.3.5 изображена схема сушки токами высокой частоты, на виде (а) иллюстрируется принцип ее работы.

Рисунок 4.3.5 – Сушка токами высокой частоты:

а – к принципу работы: 1 – зона высушиваемого ТМ, 2 – обкладки (пластины) конденсатора, 3 – генератор высокой частоты;

б – схема сушилки: 1 – сушильная камера, 2 – лента конвейера и вращающиеся барабаны, 3 – направляющая плоскость, 4 – пластины конденсатора; I – исходный ТМ, II – высушенный ТМ

 

Между обкладками конденсатора 2, присоединенными к электрогенератору высокой частоты 3, находится зона высушиваемого материала 1. Пусть в данный момент времени верхняя пластина конденсатора заряжена положительно, нижняя отрицательно. Тогда соответствующим образом ориентируются полярные молекулы материала и влаги. Спустя малый промежуток времени: (порядка 10–4 с) заряд пластин изменяется на противоположный, вслед за этим происходит переориентация молекул. В результате многократной переориентации молекул в единицу времени происходит тспловыделение. За счет этой теплоты влага удаляется из материала.

При высо­кочастотной сушке прои­ходит объемное поглощение электромагнитной энергии материалом, вследствие чего он одновременно прогрвается по всей толщине. Но ввиду того, что поверхность материала охлаждается за счет испарения влаги и потерь тепла в окружающую среду, температура внутри материала больше, чем на поверхности. Этот перепад температур в толще материала положительно влияет на скорость сушки.

Основное преимущество диэлектрической сушки – высокое качество продукта и малая длительность процесса (в 20–25 раз быстрее конвектив­ной сушки).

К недостаткам высокочастотной сушки относятся сложность оборудования установки и большой расход электроэнергии.

В высокочастотных сушильных установках сушат древесину, клееные изделия, прессованные волокнистые материалы, шелк в куличах, порошкообразные материалы (лекарства, химические ре­активы) и другие материалы. В качестве транспортных устройств в высо­кочастотных сушилках (за исключением сушилок для сушки древесины) обычно используются ленточные конвейеры (транспортеры).

Комбинированные сушилки

Сушку кусковых и компактных материалов можно производить в лю­бой гидрофобной жидкости: в расплавленных петролатуме, сере или парафине, в различных маслах и других подобных веществах. Наиболее широ­ко применяются так называемые петролатумные сушилки (они относятся к контактно–конвективному типу сушилок) для сушки дре­весины в петролатуме. Петролатум – твердый горючий материал, который получается в качестве побочного продукта при депарафинизации авиаци­онных масел. Он состоит из смеси парафина, церезина и высоковязких ма­сел. Температура плавления петролатума 55–60 0С, температура вспышки 240 0С, температура самовоспламенения 340 0С.

Рисунок 4.3.6 – Схема петролатумной сушилки:

1– хранилище петролатума; 2 – ванна; 3 – устройство для гашения пены;

4 – подъемно–транспортное устройство; 5 – штабель; 6 – трубы парового подогревателя.

При погружении влажной древесины в расплавленный петролатум происходит ее интенсивное нагревание. Внутри влажной древесины возни­кает избыточное (по сравнению с внешним давлением) давление водяного пара, которое является следствием значительного внутреннего гидравличе­ского сопротивления при движении паров по капиллярам древесины. Влага под действием градиентов давления (рц > рп) и влажности (ωц > ωп) пере­мещается от внутренних слоев древесины к внешним в виде пара. Выйдя из древесины перегретый водяной пар барботирует через слой петролатума и выделяется в окружающую среду.

Установка для сушки древесины в петролатуме (рисунок 4.3.6) состоит из заглубленной стальной или бетонной ванны 1 и связанного с ней хранили­ща петролатума 2. Размеры ванн зависят от габаритов штабеля. Обогрев ванны и хранилища осуществляют обычно водяным паром, который поступает в по­догреватели 3 под давлением 0,4–0,5 МПа, что может обеспечить нагрев петролатума до 120–130 °С. Помимо водяного пара для нагрева петролатума используются топочные газы или тэны. При сушке чрезмерно влажной древесины происходит вспенивание петролатума. Для гашения пены вдоль бортов ванны смонтировано специальное устройство в виде труб, обогре­ваемых водяным паром до температуры 150–170 0С, или трубчатых элек­тронагревателей (тэнов).

К преимуществам сушки в петролатуме относятся: совмещение сушки с пропиткой древесины антисептиками; сокращение продолжительности сушки (в 8–10 раз по сравнению с конвективной камерной сушилкой), уменьшение гигроскопичности древесины в результате пропитки ее петролатумом.

Недостатками указанного способа сушки являются: безвозвратный расход петролатума (около 20 кг на 1 м3 высушенной древесины); затруд­ненная дальнейшая обработка древесины (распиловка, склейка, полировка) вследствие ее пропитки петролатумом; снижение прочностных свойств древесины при сжатии и изгибе (в среднем на 10 %). Сушка в петролатуме обычно производится на строительных площадках и предприятиях с не­большим объемом высушиваемой древесины (до 3–5 тыс. м3 в год).

 

ВЫВОД ПО ВОПРОСУ:

В промышленности существует большое множество сушилок, отличающихся по способу сушки, виду высушиваемых материалов, по организации проведения процесса. Сушилки периодического действия отличаются низкой производительностью, громоздки и в большинстве случаев не удовлетворяют требованиям современной промышленности. Поэтому, как правило, вместо малопроизводительных сушилок периодического действия применят сушилки непрерывного действия, в которых достигается сокращение продолжительности сушки и улучшается качество продукта и, кроме того, значительно облегчается обслуживание. Пожарная опасность сушилок обусловливается прежде всего наличием горючей среды и возможностью образования взрывоопасных паровоздушных концентраций при нарушении нормального режима эксплуатации.

 

<== предыдущая лекция | следующая лекция ==>
Контактные сушилки | Вопрос № 3. Аппараты для проведения химических процессов пожаровзрывоопасных производств
Поделиться с друзьями:


Дата добавления: 2014-01-11; Просмотров: 2382; Нарушение авторских прав?; Мы поможем в написании вашей работы!


Нам важно ваше мнение! Был ли полезен опубликованный материал? Да | Нет



studopedia.su - Студопедия (2013 - 2026) год. Все материалы представленные на сайте исключительно с целью ознакомления читателями и не преследуют коммерческих целей или нарушение авторских прав! Последнее добавление




Генерация страницы за: 0.015 сек.