Студопедия

КАТЕГОРИИ:


Архитектура-(3434)Астрономия-(809)Биология-(7483)Биотехнологии-(1457)Военное дело-(14632)Высокие технологии-(1363)География-(913)Геология-(1438)Государство-(451)Демография-(1065)Дом-(47672)Журналистика и СМИ-(912)Изобретательство-(14524)Иностранные языки-(4268)Информатика-(17799)Искусство-(1338)История-(13644)Компьютеры-(11121)Косметика-(55)Кулинария-(373)Культура-(8427)Лингвистика-(374)Литература-(1642)Маркетинг-(23702)Математика-(16968)Машиностроение-(1700)Медицина-(12668)Менеджмент-(24684)Механика-(15423)Науковедение-(506)Образование-(11852)Охрана труда-(3308)Педагогика-(5571)Полиграфия-(1312)Политика-(7869)Право-(5454)Приборостроение-(1369)Программирование-(2801)Производство-(97182)Промышленность-(8706)Психология-(18388)Религия-(3217)Связь-(10668)Сельское хозяйство-(299)Социология-(6455)Спорт-(42831)Строительство-(4793)Торговля-(5050)Транспорт-(2929)Туризм-(1568)Физика-(3942)Философия-(17015)Финансы-(26596)Химия-(22929)Экология-(12095)Экономика-(9961)Электроника-(8441)Электротехника-(4623)Энергетика-(12629)Юриспруденция-(1492)Ядерная техника-(1748)

Функционально-интегрированные элементы БИС




При классической интеграции элементов в одном кристалле повышению степени интеграции и увеличению быстродействию препятствует большое число изолированных друг от друга активных и пассивных элементов. Одним из путей повышения быстродействия и степени интеграции является применение функциональных интегрированных элементов. Функциональные интегрированные элементы упрощают коммутацию, сокращают длину соединенных проводников и число контактных окон. В функциональных интегрированных элементах одна и та же область полупроводниковой структуры выполняет несколько функций, например, области “база” и “коллектор” транзистора могут одновременно использоваться в качестве резистора. Простыми примерами функциональных интегрированных элементов являются рассмотренные ранее составные транзисторы и транзисторы с диодами Шоттки. Типичным примером является ячейка элемента И2Л.

Здесь база многоколлек-торного n-p-n транзистора является одновременно коллектором горизон-тального p-n-p тран-зистора, а эмиттер n-p-n транзистора служит базой p-n-p. В БИС на основе функциональных интегрированных элементов часто организовываются цепи питания. Здесь традиционные резисторы заменяются либо на диоды, либо на транзисторы, либо на инжекционные цепи.

В этой конструкции на поверхности кристалла отсутствуют шины электропитания. Они находятся внутри кристалла и образованы подложкой и эпитаксиальным слоем. Следующий пример:

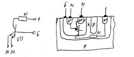
В этой конструкции сформирован ПИНЧ резистор прямо в коллекторной области n-p-n транзистора. Для этого одновременно с формированием базы проведена еще одна диффузия примесей р-типа в коллекторной области транзистора и за счет этого уменьшено поперечное сечение.

 

Контакты к кремнию

В полупроводниковых микросхемах на биполярных транзисторах межэлементные связи осуществляются с помощью пленочных проводников, которые соприкасаются с участками кремниевых структур через окна, в слой термически выращенного окисла, образуя электрический контакт. Причем необходимо в этом месте сформировать невыпрямляющий низкоомный омический контакт. Наиболее распространенным материалом для контактов коммутационных шин и контактных площадок является алюминий. Он обладает большой электропроводностью, хорошей адгезией кремнию, пластичен, технологичен и образует низкоомный контакт кремнию, кроме этого, дешев. Однако алюминий имеет ряд нежелательных свойств: растворение кремния в алюминии и проникновение алюминия в кремний при нагреве. В первом случае снижается механическая прочность контакта, во втором – происходит сдвиг р-n перехода вглубь кремния, что нежелательно при небольшой глубине p-n перехода, и в некоторых случаях может образоваться выпрямляющий контакт. Поэтому алюминиевая разводка используется в маломощных микросхемах с невысокой надежностью, работающих на частотах до 1 ГГц. В микросхемах повышенной надежности используются коммутационные проводники и контакты кремния, состоящие из нескольких слоев различных материалов.

Контактный слой призван обеспечить омический контакт кремния любого типа в широком диапазоне легирования. Контактный слой призван обеспечить омический контакт кремния с вышележащими слоями. Материал контактного слоя должен иметь малую растворимость и малую диффузионную подвижность в кремнии, хорошую адгезию, низкое сопротивление, способность к восстановлению окисей кремния. В этих целях используют молибден, никель, хром, титан, платину, палладий и иридий.

Функции адгезионного слоя заключаются в обеспечении высокой прочности сцепления разводки с пленкой окисла кремния и контактного слоя. В качестве материала этого слоя используют титан, хром и молибден. Когда эти материалы используются в качестве адгезионного слоя, то контактный слой может отсутствовать.

Проводящий слой выполняет основные функции разводки, имеет низкое удельное сопротивление и обеспечивает надежность контактирования с внешними выводами. В качестве проводящего слоя используют алюминий и золото. Однако эти металлы образуют плохо проводящие интерметаллические соединения на границе с адгезионным слоем. Кроме этого, золото имеет высокую проникающую способность и проникает в кремний через контактный и адгезионный слои, поэтому приходится использовать буферный слой, который предотвращает образование интерметаллических соединений. В качестве буферного слоя применяют молибден, никель, платину, палладий.

Последний из выносимых слоев является диэлектрический защитный слой, который обеспечивает защиту интегральной схемы от внешних воздействий в межоперационный период. Проводящий слой золота сам выполняет защитные функции и может не покрываться диэлектриком.

Наилучшими эксплуатационными свойствами обладают следующие трехслойные системы: титан, платина, золото; титан, молибден, золото; силицид платины, платина, золото; а также четырехслойная структура: хром, титан, платина, золото. Последняя система обеспечивает хороший воспроизводимый контакт кремния и может работать на больших токах. В связи с необходимостью экономии драгоценного металла используются также системы:

Ni-Re

Ni-Nb

Ni-V

Re-Ti

Re-Hg

Ni-V-Re

Ni-Rb-Re

Ni-Re-Mo.

Толщина слоев обычно следующая:

контактные и адгезионные слои- 0.03÷0.25 мкм;

буферные слои- 0.15÷0.2 мкм;

проводящие слои- 0.5÷1 мкм.

 




Поделиться с друзьями:


Дата добавления: 2014-01-11; Просмотров: 892; Нарушение авторских прав?; Мы поможем в написании вашей работы!


Нам важно ваше мнение! Был ли полезен опубликованный материал? Да | Нет



studopedia.su - Студопедия (2013 - 2026) год. Все материалы представленные на сайте исключительно с целью ознакомления читателями и не преследуют коммерческих целей или нарушение авторских прав! Последнее добавление




Генерация страницы за: 0.012 сек.