Студопедия

КАТЕГОРИИ:


Архитектура-(3434)Астрономия-(809)Биология-(7483)Биотехнологии-(1457)Военное дело-(14632)Высокие технологии-(1363)География-(913)Геология-(1438)Государство-(451)Демография-(1065)Дом-(47672)Журналистика и СМИ-(912)Изобретательство-(14524)Иностранные языки-(4268)Информатика-(17799)Искусство-(1338)История-(13644)Компьютеры-(11121)Косметика-(55)Кулинария-(373)Культура-(8427)Лингвистика-(374)Литература-(1642)Маркетинг-(23702)Математика-(16968)Машиностроение-(1700)Медицина-(12668)Менеджмент-(24684)Механика-(15423)Науковедение-(506)Образование-(11852)Охрана труда-(3308)Педагогика-(5571)Полиграфия-(1312)Политика-(7869)Право-(5454)Приборостроение-(1369)Программирование-(2801)Производство-(97182)Промышленность-(8706)Психология-(18388)Религия-(3217)Связь-(10668)Сельское хозяйство-(299)Социология-(6455)Спорт-(42831)Строительство-(4793)Торговля-(5050)Транспорт-(2929)Туризм-(1568)Физика-(3942)Философия-(17015)Финансы-(26596)Химия-(22929)Экология-(12095)Экономика-(9961)Электроника-(8441)Электротехника-(4623)Энергетика-(12629)Юриспруденция-(1492)Ядерная техника-(1748)

Отбора мощности

Устройство механизмов включения раздаточной коробки и коробки

Учебный вопрос № 3

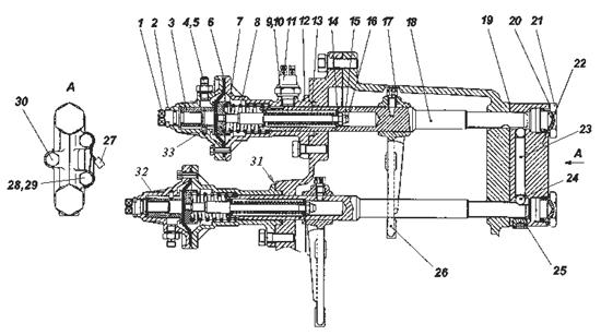
Механизмы включения РК и КОМ см. на рис. 12, 23.

 

Рис. 12. Механизмы включения РК и КОМ автомобиля Камаз: (СЛАЙД № 21)

13 - рукоятка крана управления раздаточной коробкой; 11 – рычаг управления блокировкой МОД раздаточной коробки; 32 - выключатель КОМ лебедки.

 

Рис. 13. Механизмы включения РК и КОМ автомобиля Урал: (СЛАЙД № 22)

5 — рычаг переключения передач раздаточной коробки;

6 — рычаг блокировки дифференциала раздаточной коробки.

 

Механизм переключения передач автомобиля Камазпредназначен для переключения передач в раздаточной коробке..

Он состоит из двух механизмов включения передач, двух механизмов принудительного включения передач, замкового устройства, двух муфт включения передач, микровключателя с контрольной лампой включения низшей передачи.

Механизмы включения высшей и низшей передач устанавливаются на передний торец крышки картера раздаточной коробки. Механизмы по своему устройству аналогичны друг другу, отличаются длиной штоков и установкой вилок включения.

Механизм включения передач (рис. 14) состоит из корпуса 12, штока 18, стержня 16, нажимной пружины 13 с упорными шайбами 14, возвратной пружины 8 со стаканом 7, диафрагмы 6, крышки корпуса 32, вилки 26.

Корпус механизма включения передач отлит из алюминиевого сплава, установлен на крышке картера раздаточной коробки и крепится к нему двумя болтами. В корпусе установлен шток 18, на котором винтом 17 застопорена вилка 26. Вилка своими лапками входит в кольцевую выточку муфты включения передачи.

 

 

Рис. 14. Устройство механизмов низшей и высшей передач: (СЛАЙД № 23)

1 - винт; 2 - шплинт; 3 - втулка резьбовая; 4 - штуцер; 5 - кольцо уплотнительное; 6 - диафрагма; 7 - стакан; 8 - пружина; 9, 10 - шайбы регулировочные; 11 - датчик включения; 12 - корпус механизма включения; 13 - пружина; 14 - шайба; 15 - гайка самоконтрящаяся; 16 - стержень; 17 - винт; 18 - шток; 19, 20 - прокладки; 21 - пробка; 22 - корпус блокировки; 23 - штифт; 24 - шарик; 25 - пробка; 26 - вилка; 27 - пломба; 28 -шайба; 29, 30 - болт; 31 - прокладка; 32 - крышка механизма включения; 33 - штифт

 

Во внутренней расточке штока установлен стержень 16, на который надеты до упора в бурт стержня передняя упорная шайба 14, нажимная пружина 13 и вторая шайба 14, зафиксированные на стержне самоконтрящейся гайкой 15. Самоконтрящаяся гайка 15 заворачивается на резьбовой конец стержня 16 таким образом, чтобы между шайбами 14 было обеспечено расстояние 90,7±0,2 мм. Стержень 16 с закрепленными на нем деталями устанавливается в расточку штока 18 до упора в его внутренний бурт, а затем стопорится стопорным кольцом. На передний резьбовой конец стержня 16 навернут стакан 7, в который упирается возвратная пружина 8, другим концом пружина упирается в корпус 12. Для обеспечения передачи усилия от пневматического привода на стержень 16 в корпусе 12 установлена резиновая диафрагма 6.

Корпус 12 механизма включения закрыт крышкой 32, в которую ввернут штуцер 4 для подсоединения к пневматическому приводу и установлен механизм принудительного включения. При отсутствии воздуха в пневмосистеме автомобиля или при включенной низшей передаче краном управления ручка крана повернута влево, воздух в пневмокамерах отсутствует. Штоки 18 с вилками 26 под действием усилия пружин 8 перемещаются в крайнее левое положение. В этом состоянии штоков 18 и вилок 26 в раздаточной коробке включена первая (низшая) передача.

Переключение передач можно производить только при остановленном автомобиле и выжатой педали сцепления.

При подаче воздуха в верхнюю пневмокамеру первой передачи шток 18 с вилкой 26 под действием поступающего воздуха под диафрагму 6 перемещает муфту в раздаточной коробке вправо. Первая передача выключается. В раздаточной коробке включена нейтраль.

При подаче воздуха в обе пневмокамеры одновременно в раздаточной коробке включается вторая (высшая) передача.

В механизме переключения передач предусмотрено устройство для принудительного перемещения штоков механическим способом - посредством механизма принудительного включения.

Механизм принудительного включения установлен в крышке 32 (см. рис. 14) механизма включения и состоит из винта 1, шплинта 2, резьбовой втулки 3 с выфрезерованным пазом, в который входит штифт 33, предотвращающий вращение втулки 3.

В исходном состоянии винты 1 обоих механизмов должны быть повернуты вправо, по часовой стрелке, до отказа.

При вращении винта 1 против часовой стрелки влево резьбовая втулка 3 перемещается вправо и сжимает пружину 8, перемещает шток 18 с вилкой 26 вправо, выключая первую передачу (верхний механизм) и включая вторую передачу (нижний механизм). Винты 1 необходимо крутить до отказа, чтобы было гарантированное включение или нейтрали или высшей передачи.

При неисправном автомобиле, например, при отсутствии воздуха и необходимости буксировки может быть включена нейтраль в раздаточной коробке вращением винта 1 верхнего механизма влево, против часовой стрелки, до упора.

Для экстренного движения на высшей передаче она может быть включена принудительно вращением винтов 1 на обоих механизмах влево, против часовой стрелки, до упора.

При устранении неисправности на автомобиле оба винта 1 должны быть возвращены в исходное состояние вращением вправо, по часовой стрелке, до упора.

Нельзя останавливать винты 1 в промежуточном положении. Это может привести к одновременному включению двух передач при неисправной блокировке и как следствие - к разрушению раздаточной коробки.

Вращением винтов 1 вправо до отказа механизмы возвращают штоки с вилками в исходное состояние. Перед установкой механизмов в крышку картера необходимо установить с помощью регулировочных прокладок 31 размеры;

для верхнего механизма при подаче воздуха в пневмокамеру в отверстие штуцера 4 под давлением 6-7 кгс/см² размер от привалочного торца корпуса 12 с установленными прокладками 31 до центра лунки на штоке должен быть (269,90-271,83) мм. Размер устанавливать добавлением или уменьшением числа прокладок; для нижнего механизма размер от привалочного торца корпуса с установленными прокладками 31 до центра лунки должен быть 312,785-315,755 мм. Размер устанавливать также набором прокладок. Регулировку производить без подачи воздуха в пневмокамеру, т. е. шток находится в исходном положении.

Регулировку производить в обязательном порядке. Это необходимо для правильной работы механизма блокировки и исключения случаев одновременного включения двух передач.

 

 

Рис. 15. Схема управления передачами механизмов низшей и высшей передач (СЛАЙД № 24)

  1. – воздух в атмосферу; В – – воздух из пневмосистемы; С– к муфтам перемещения.

1. – переключатель; 2, 4 – клапаны электропневматические; 3. – пневмопривод; 5. – стаканы; 6. – механизмы переключения передач; 7. – датчик; 8. – пружины нажимные; 9. – штоки; 10. – пружины возвратные; 11. – шарик; 12. – штифт;

 

Управление раздаточной коробкой, где краном управления осуществляется переключение передач в раздаточной коробке, краном включается блокировка дифференциала. Кран блокировки аналогичен крану блокировки ведущих мостов.

Схема управления передачами механизмов низшей и высшей передач см. на рис. 15.

В зависимости от назначения автомобиля и требований заказчика воздухопроводы могут быть выполнены из стальных трубок и шлангов или же из гибких пластиковых трубок.

Выводы по вопросу.

<== предыдущая лекция | следующая лекция ==>
Коробка отбора мощности автомобиля КамАЗ-4310 | Характерные неисправности раздаточной коробки и коробки отбора
Поделиться с друзьями:


Дата добавления: 2014-01-11; Просмотров: 1104; Нарушение авторских прав?; Мы поможем в написании вашей работы!


Нам важно ваше мнение! Был ли полезен опубликованный материал? Да | Нет



studopedia.su - Студопедия (2013 - 2026) год. Все материалы представленные на сайте исключительно с целью ознакомления читателями и не преследуют коммерческих целей или нарушение авторских прав! Последнее добавление




Генерация страницы за: 0.013 сек.