Студопедия

КАТЕГОРИИ:


Архитектура-(3434)Астрономия-(809)Биология-(7483)Биотехнологии-(1457)Военное дело-(14632)Высокие технологии-(1363)География-(913)Геология-(1438)Государство-(451)Демография-(1065)Дом-(47672)Журналистика и СМИ-(912)Изобретательство-(14524)Иностранные языки-(4268)Информатика-(17799)Искусство-(1338)История-(13644)Компьютеры-(11121)Косметика-(55)Кулинария-(373)Культура-(8427)Лингвистика-(374)Литература-(1642)Маркетинг-(23702)Математика-(16968)Машиностроение-(1700)Медицина-(12668)Менеджмент-(24684)Механика-(15423)Науковедение-(506)Образование-(11852)Охрана труда-(3308)Педагогика-(5571)Полиграфия-(1312)Политика-(7869)Право-(5454)Приборостроение-(1369)Программирование-(2801)Производство-(97182)Промышленность-(8706)Психология-(18388)Религия-(3217)Связь-(10668)Сельское хозяйство-(299)Социология-(6455)Спорт-(42831)Строительство-(4793)Торговля-(5050)Транспорт-(2929)Туризм-(1568)Физика-(3942)Философия-(17015)Финансы-(26596)Химия-(22929)Экология-(12095)Экономика-(9961)Электроника-(8441)Электротехника-(4623)Энергетика-(12629)Юриспруденция-(1492)Ядерная техника-(1748)

Монтаж зданий




Под транспортными зданиями понимается комплекс техно­логически взаимосвязанных устройств и сооружений, разме­таемых на раздельных пунктах и призванных обеспечить гру­зовые и пассажирские перевозки железных дорог.

В связи с тем, что до настоящего времени нет единой приня­той классификации сооружений железнодорожных станций, в дальнейшем, для удобства, все производственные, служебно-технические и административно-бытовые здания железнодо­рожных станций будут называться транспортными зданиями.

Раздельные пункты железнодорожной линии имеют широ­кий спектр деятельности - от транзитного безостановочного пропуска поездов до их осмотра, экипировки, ремонта, форми­рования, расформирования и т.д. В зависимости от названных факторов станции делятся на участковые, промежуточные, сор­тировочные пассажирские и грузовые.

Наиболее массовыми типами раздельных пунктов являются участковые и промежуточные станции. На этих станциях, кроме приема и отправления поездов, производятся осмотр, экипиров­ка, ремонт подвижного состава, обслуживание пассажиров и т.д.

На станциях такого типа размещаются в зависимости от кон­кретных условий 40…80 зданий и сооружений, различных по гео­метрическим размерам, объемно-планировочным решениям и материалам исполнения. На промежуточных станциях, кроме пропуска без остановки пассажирских и грузовых поездов, про­изводятся посадка и высадка пассажиров, погрузка, выгрузка и хранение багажа и других грузов, отцепка и прицепка вагонов, обслуживание подъездных путей, подача и уборка вагонов, взвешивание вагонов (при значительных размерах погрузки навалочных грузов), экипировка маневровых локомотивов.

На таких станциях имеются: пассажирские здания с платфор­мами, складские помещения, здания служб локомотивного хо­зяйства, связи и СЦБ, службы пути, энергоснабжения, водопро­вода и канализации, теплоснабжения. Как правило, на этих станциях сооружаются поселки железнодорожников.

Участковые станции включают в себя целый комплекс сооружений для всех видов служб. На участковых станциях производятся: смена локомотивов и их экипировка, смена локомотивных бригад, технический и коммерческий осмотр составов, ремонт локомотивов и вагонов, пассажирские и грузовые рации, формирование и расформирование составов.

Здания железнодорожных станций относятся к соответствую­щим службам: локомотивной, вагонной, пассажирской и т.д. Такое функциональное многообразие служб железной дороги породило чрезвычайное разнообразие служебно-технических зданий и сооружений по номенклатуре, геометрическим разме­рам, материалам исполнения. Общая номенклатура транспорт­ных зданий и сооружений насчитывает около 300 наименований.

Преобладающей по количеству зданий является одноэтажная мелкообъемная застройка. Двухэтажные — обычно вокзальные здания, а трехэтажные — административно-бытовые. Наиболее крупные здания станций — это депо экипировки локомотивов, посты электрической централизации (ЭЦ), пункты технического обслуживания и текущего ремонта вагонов (ПТО).

На объемно-планировочные и конструктивные решения транспортных зданий, наряду с другими факторами, определя­ющими являются технологические процессы по обслуживанию подвижного состава, который размещается внутри зданий. Обычно такие здания являются объединенными и включают в себя стойловую часть, мастерские, административно-бытовые помещения и т.п. В цехах размещается крупногабаритное обо­рудование: мощные домкраты, краны, смотровые площадки и т.д. Особенности технологического процесса требуют значи­тельных производственных площадей при больших высотах здания (10,6…17,7 м). Характерные пролеты ремонтных цехов в локомотивных и вагонных депо 18 и 24 м, а длина 48…200 м. Длина ремонтно-экипировочных вагонных цехов достигает 500 м. Такие здания, как правило, выполняются каркасными из сборного железобетона.

Следует отметить, что геометрические размеры и строитель­ные объемы зданий колеблются в широком диапазоне от 30 м3 до 30 тыс. м3. В отдельную группу можно выделить такие со­оружения, как станции биологической очистки сточных вод, канализационно-насосные станции (КНС), трансформаторные подстанции (ТП), пассажирские платформы.

Разнохарактерность зданий и сооружения железнодорожных станций предопределяет большой разброс в нормативных сро­ках их возведения, которые колеблются от 1 мес. (мелкие транс­форматорные подстанции) до 48 мес. (комплекс цеха текущего ремонта локомотивов). Нормативная продолжительность стро­ительства большинства сооружений 12…20 мес.

В настоящее время транспортные здания в основном строятся сборного железобетона и кирпича, причем на последний приходится примерно половина объектов станции. Анализ показы­вает, что удельный вес таких трудоемких работ, как кирпичная кладка и монолитный бетон, еще чрезвычайно велик. Использо­вание в большом объеме кирпича для наружных и внутренних перегородок непосредственным образом влияет на трудоемкость и продолжительность строительства транспортных зданий. Так, например, в типовом проекте вокзала на 50 пассажиров, объеди­ненного с постом ЭЦ, объем кирпичной кладки составляет при­мерно 25% от объема сборного железобетона.

В проекте здания пункта контрольного технического осмот­ра вагонов (ПКТО) на 309 м3 сборного железобетона приходит­ся 102 м3 кирпичной кладки, а в главном корпусе дистанции электроснабжения (ЭЧ) па 476 м3 сборного железобетона приходится 805 м3 кирпичной кладки и 387 м3 монолитного бетона. Приведенные примеры показывают, что уровень технологического совершенства транспортных зданий еще во многом не от­вечает мировому.

Если в 50-х годах перевод строительства на использование сборных железобетонных конструкций дал резкий скачок про­изводительности труда в отрасли, то в настоящее время этот резерв с технических позиций практически исчерпан. С учетом того, что в перспективных регионах нового железнодорожного строительства (северных и восточных) отсутствует база стройиндустрии, эффективность использования сборного железобетона в виде отдельных строительных деталей, доставляемых за сотни и тысячи километров, резко снижается.

Типовые проекты транспортных зданий разработаны раз­личными проектными институтами, что предопределило боль­шое их многообразие. С учетом различного конструктивного оформления насчитывается более 230 проектов зданий и соору­жений железнодорожных станций. Это, в свою очередь, вызы­вает разнообразные объемно-планировочные и конструктив­ные решения и, как следствие, сотни типоразмеров строительных конструкций.

Разобщенность и разнотипность объектов делают невырази­тельными архитектурный облик станций.

Для одноэтажных производственных зданий железнодорож­ных станций (ремонт локомотивов и вагонов, эксплуатационно-ремонтные базы дистанций пути и т.д.) характерно исполь­зование компоновочных схем с пролетами 12…30 м, шагом ко­лонн б или 12 м. При наличии крупногабаритных, большой единичной массы изделий резко возрастает собственная масса кранов, а нагрузки от них на каркас здания в десятки раз превы­шают нагрузки от покрытия и ограждающих конструкций. На­пример, при использовании мостовых кранов грузоподъемностью 30…80 т доля крановой нагрузки составляет 67…85% от всей расчетной нагрузки, Мировая практика уже давно отказалась во многих случаях от мостовых кранов, место которых заняло капельное подъемно-транспортное оборудование.

Освобождение строительных конструкций транспортных зданий от восприятия технологических и инженерных нагрузок дает не только снижение материалоемкости, но и позволяет пе­рейти на укрупненную строительную сетку колонн и создавать транспортные здания в виде беспролетных зданий — оболочек. Беспролетные здания позволят значительно лучше использо­вать полезную площадь здания, оптимизировать компоновку технологического оборудования, упростить замену оборудова­ния при реконструкции.

При проектировании одноэтажных промышленных зданий железнодорожных станций целесообразен принцип конструктивного разделения технологической и строительной частей сооружения (принцип автономии), при котором строительные конструкции освобождаются от восприятия технологических нагрузок, например от нагрузок мостовых кранов. При этом мостовые краны заменяются напольным подъемно-транспорт­ным оборудованием. Такое решение позволяет значительно (до 20%) снизить себестоимость строительно-монтажных работ за счет снижения расхода сборного железобетона.

Технология ведения монтажных работ определяется типом здания, его конструктивными решениями, видом используемых материалов. В качестве примера рассмотрим монтаж железобетонных конструкций одноэтажных каркасных производственных зданий.

Данный тип зданий является широко распространенным. К нему относятся главный корпус эксплуатационно-ремонтной базы дистанции пути, служебно-производственное здание сетевого района и др.

Монтаж конструкций таких зданий осуществляется тремя методами.

Раздельный (дифференцированный) метод предусматривает последовательную установку однотипных элементов: сначала — всех фундаментов, затем — всех колонн, далее — всех подкрано­вых балок и т.д.

Преимущества этого метода в том, что в процессе установки однотипных конструкций не меняется состав звена монтажников, монтажная оснастка и строповочные приспособления. При этом упрощается выверка конструкций, снижаются трудовые затраты за счет специализации работ кранов и монтажников. Кроме того, звено имеет широкий фронт работ.

Комплексный метод предусматривает последовательный мон­таж разнотипных конструкций, составляющих одну ячейку (в пределах одного шага колонн). После установки плит покрытия и навесных стеновых панелей (ячейка закрыта) звено монтажни­ков переходит на другую ячейку. Недостаток метода — узкий фронт работ и частая смена монтажной оснастки. Достоинство — возможность устройства в готовой ячейке фундаментов под обо­рудование, что позволяет вводить производственные мощности поэтапно, не дожидаясь сдачи в эксплуатацию всего объекта.

Однако применять такой метод при возведении здания cо сборными железобетонными колоннами, заделываемые в стаканы фундаментов, нельзя, так как для монтажа элементов кон­струкций, опирающихся на колонны, необходимо, чтобы бе­тон омоноличивания стыка колонн приобрел не менее 70% проектной прочности.

Для комплексного метода предпочтителен вариант с метал­лическими колоннами при закреплении их к фундаменту анкер­ными болтами. В транспортных зданиях такая конструкция предусмотрена в ЛМК КП.

Смешанный метод. При этом методе подколонники, колон­ны и подкрановые балки устанавливают поочередно в пределах всего здания или его части, например в температурном блоке (раздельный метод), а балки, фермы и плиты покрытий в преде­лах каждой ячейки здания (комплексный метод). Смешанный метод применяют при монтаже конструкций из сборных желе­зобетонных и металлических конструкций зданий.

Монтаж каркаса целесообразно вести специализированны­ми технологическими потоками, каждый из которых оснащен соответствующим стреловым краном и монтажной оснасткой. Направление движения крана и его монтажные позиции (стоянки) определяются в проекте производства работ с таким расчетом, чтобы с одной стоянки смонтировать максимальное количество элементов.

При пролетах 12 м кран перемещается по оси пролета, что дает возможность при дифференцированном методе устанавли­вать с одной стоянки 4…6 подколонников.

При пролетах 24 и 30 м для монтажа подколонников, ко­лонн и подкрановых балок кран перемещается вдоль каждого ряда монтируемых конструкций.

Рис. 9.15. Схемы монтажа одноэтажных промышленных зданий: а — продольный; б — поперечный; (стрелкой показано направление сборки)

Элементы конструкций одноэтажных каркасных зданий об­ладают достаточно большой массой. Так, например, трехсту­пенчатый подколонник может иметь массу 12…15 т, колонны в зависимости от высоты — 8…10 т. Это обстоятельство предоп­ределяет выбор монтажного крана. Как правило, это краны на гусеничном ходу с большим вылетом стрелы и грузоподъем­ностью 25, 60 и более тонн. Гусеничные краны работают без выносных опор (в отличие от автомобильных и пневмоколесных) и при установке конструкций могут передвигаться с гру­зом на крюке.

Схемы монтажа одноэтажных промышленных зданий пока­заны на рис. 9.15.

Монтаж фундаментов под колонны. Под железобетонные ко­лонны обычно применяют фундаменты стаканного типа.

Подготовка оснований под фундаменты производится после разбивочных работ. Фундамент устанавливают на уложенный слой песчаной или цементной подготовки. Наводку фундамен­та на проектные оси производят в подвешенном к крюку крана состоянии. Границы основания фиксируют предварительно бивочными кольями. После монтажа фундаментов с помощью теодолита проверяют правильность положения фундаментов в плане относителыю разбивочных осей, а нивелиром — отметку дна стакана фундаментов. Смещение осей стаканов фундаментов не должно превышать ±10 мм, а отклонение отметок дна стаканов от проектной — 20 мм.

Монтаж железобетонных колонн. Монтаж железобетонных колонн одноэтажных зданий осуществляют при помощи кра­нов способом «на весу» с предварительной раскладкой их у места установки или с подачей к месту установки на транспортных средствах. Строповка колонн осуществляется одним из следующих способов: обвязкой универсальным стропом или траверсным стропом.

Колонны подготавливают к монтажу путем нанесения по че­тырем граням вверху и на уровне верха фундаментов осевых рисок, а на колоннах, предназначенных для укладки по ним подкрановых балок, кроме того, с двух сторон консолей или траверс двухветвевых колонн наносят риски осей этих балок. При подготовке колонны к монтажу к закладным деталям приваривают опорные столики и крепежные уголки для опирания и закрепления элементов стенового ограждения и других деталей, которые не были закреплены на заводах. На колонны высотой более 12 м, кроме того, закрепляют хомуты или струбцины с двумя расчалками, которыми колонны будут временно расчалены за соседние фундаменты или специальные якоря в плоскости ряда колонн.

Колонны в стаканах фундаментов временно закрепляют де­ревянными, металлическими или железобетонными клиньями, забиваемыми в зазоры между стенкой стакана и колонной. Же­лезобетонные клинья после выверки не удаляют, а оставляют в бетоне омоналичивания. Временное закрепление колонн и их установка в проектное положение может осуществляться инвен­тарными приспособлениями — металлическими кондукторами.

Допускается отклонение осей колонн от вертикали в верх­нем сечении (при высоте колонн до 15 м) до ±15 мм.

Монтаж железобетонных подкрановых балок. Унифициро­ванные железобетонные подкрановые балки изготавливают тав­рового сечения пролетом 6 и 12 м. Опирают балки на консоли колонн прямоугольного сечения или траверсы двухветвевых колонн. В этих частях колонн имеются закладные стальные ли­сты с анкерными болтами. К нижним закладным опорным де­талям балок приварены накладные опорные листы с отверстия­ми, которыми балки при монтаже надевают на анкерные болты и закрепляют гайками, что служит временным закреплением балок при монтаже. Окончательное закрепление балок выпол­няют сваркой накладных опорных листов балок с закладными стальными листами на консолях или траверсах колонн. Кроме этого, балки закрепляют вверху к колоннам посредством вер­тикально расположенных стальных планок, привариваемых к верхним закладным деталям на опорных частях балок и к за­кладным деталям, имеющимся в колоннах на уровне верха подкрановых балок.

Монтаж стропильных и подстропильных балок и ферм. Мон­таж этих конструкций ведут непосредственно с транспортных средств или с предварительной раскладкой в пределах монти­руемого пролета, вдоль ряда колонн.

При монтаже стреловыми кранами балки и фермы укла­дывают так, чтобы кран мог их устанавливать в проектное положение без изменения вы­лета крюка (рис. 9.16).

Подготовка к монтажу стропильных и подстропиль­ных балок и ферм в основном заключается в очистке и вып­равке закладных деталей, на­несении осевых рисок, зак­реплении оттяжек и расчалок (при надобности). Кроме того, на стропильных фермах устанавливают распорки, ко­торыми они будут прикреп­ляться к смежным фермам. В зависимости от проле­тов балок и ферм, наличия у них монтажных петель или отвер­стий применяют различные способы строповки.

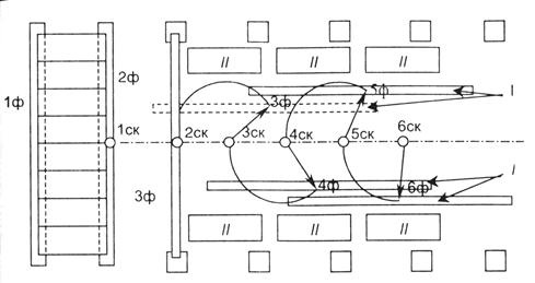
Рис. 9.16. Раскладка ферм и приспособлений для монтажа ферм:

1, 2, 3, 4, 5, 6 — порядковые номера ферм и стоянок крана при их монтаже; I - разложенные фермы; II — штабеля с плитами покрытия

 

Стропильные и подстропильные балки и фермы устанавли­вают на оголовки колонн с выверкой их положения в плане по рискам разбивочных осей, нанесенным на опорах. Установка стропильных балок и ферм упрощается тем, что их опорными накладными листами с отверстиями наводят на анкерные бол­ты, имеющиеся на закладных деталях оголовков колонн и опорных поверхностях подстропильных балок и ферм. Балки фермы на опоры наводят при помощи оттяжек. Временно стропильные балки и фермы закрепляют на анкерных болтах.

Подстропильные балки и фермы устанавливают на огололовки колонн, выверяя их положение в плане только по рискам разбивочных осей. Сразу же после установки их закрепляют на колоннах сваркой опорных закладных деталей.

Вертикальность положения ферм и временное их раскрпление обеспечивают с помощью расчалок и распорок.

Расчалками, закрепленными за верхний пояс ферм, раскрепляют первую и вторую фермы до укладки по ним и закрепления сваркой плит покрытия. Число и места установки расчалок и распорок определяют расчетом на устойчивость верхнего пояса Фермы в горизонтальной плоскости. Для ферм пролетом 18 и ставят две пары расчалок, а для ферм пролетом 30 м — три пары в середине и четвертях пролетов. При натяжении и закреп­лении расчалок проверяют прямолинейность верхнего пояса и вертикальность плоскости ферм. Распорки ставят, начиная с тре­тей по ходу монтажа фермы, закрепляя последнюю к ранее смонтированной ферме, на которой уже уложены и приварены щиты покрытия.

Распорки устанавливают по одной при пролете ферм 18 м и по две при пролетах 24 и 30 м в 1/3 пролета.

Распорки закрепляют струбцинами к верхнему поясу уста­навливаемой фермы, а к нижнему свисающему вниз концу при­вязывают пеньковую веревку, спущенную с плит покрытия ра­внее смонтированных ферм. После установки краном фермы распорки поднимают и закрепляют струбцинами к ранее смон­тированной ферме. Только после этого может быть произведена расстроповка фермы. По ходу укладки и приварки плит покры­тия в монтируемой ячейке распорки снимают.

При монтаже стропильных и подстропильных балок и ферм применяют различного типа подмости, приставные лестницы площадками, передвижные и самоходные телескопические вышки и подъемники.

При монтаже стропильных балок и ферм допускаются от­клонения расстояний между осями балок и ферм по верхнему поясу ±25 мм.

Монтаж железобетонных плит покрытий. Железобетонны­ми сборными элементами покрытий являются плиты и настилы, опирающиеся на несущие конструкции зданий.

Эти элементы укладываются на слой раствора или цементно-песчаной пасты. Кроме того, они друг с другом и элементами каркаса здания объединяются сваркой закладных деталей. Швы между всеми сборными плоскостными элементами покрытий после их укладки и закрепления заделывают бетоном или цементным раствором.

Наружные панели одноэтажных зданий монтируют обычно на всю высоту здания последовательно в каждом шаге колонн после окончания монтажа всех элементов каркаса здания на данном участке. Панели самонесущих стен устанавливают вни­зу на фундаментные балки на слой раствора, панели всех пос­ледующих рядов — друг на друга также на слой раствора или с прокладкой в шов герметизирующего шнура.

Специальную разбивку для установки таких панелей не вы­полняют, так как их устанавливают, ориентируясь на оси ко­лонн. Временное крепление панелей не требуется, так как при установке их навешивают имеющимися у концов панелей ввер­ху стальными уголками на такие же уголки, приваренные к зак­ладным деталям на боковых гранях железобетонных колонн. Навесные панели наружных стен над оконными проемами ус­танавливают на стальные опорные столики, приваренные к зак­ладным деталям колонн. Вверху панели так же навешивают уголками на уголки, приваренные к колоннам.

Одним из способов монтажа панелей стен одноэтажных зда­ний является применение специальных кранов, на башне которых имеется подъемная выдвижная рабочая площадка, отодвигаемая от стены при подъеме панели и пододви­гаемая к стене при установке панели. Панели подают в зону между стеной здания и краном.

При монтаже панелей стен зданий большой высоты обычно применяют подъемные люльки, подвешиваемые внутри здания к несущим конструкциям покрытия. Расшивку и герметизацию швов и стыков снаружи здания выполняют с люлек, подвеши­ваемых на консолях снаружи здания.

 




Поделиться с друзьями:


Дата добавления: 2014-01-11; Просмотров: 1737; Нарушение авторских прав?; Мы поможем в написании вашей работы!


Нам важно ваше мнение! Был ли полезен опубликованный материал? Да | Нет



studopedia.su - Студопедия (2013 - 2026) год. Все материалы представленные на сайте исключительно с целью ознакомления читателями и не преследуют коммерческих целей или нарушение авторских прав! Последнее добавление




Генерация страницы за: 0.008 сек.