Студопедия

КАТЕГОРИИ:


Архитектура-(3434)Астрономия-(809)Биология-(7483)Биотехнологии-(1457)Военное дело-(14632)Высокие технологии-(1363)География-(913)Геология-(1438)Государство-(451)Демография-(1065)Дом-(47672)Журналистика и СМИ-(912)Изобретательство-(14524)Иностранные языки-(4268)Информатика-(17799)Искусство-(1338)История-(13644)Компьютеры-(11121)Косметика-(55)Кулинария-(373)Культура-(8427)Лингвистика-(374)Литература-(1642)Маркетинг-(23702)Математика-(16968)Машиностроение-(1700)Медицина-(12668)Менеджмент-(24684)Механика-(15423)Науковедение-(506)Образование-(11852)Охрана труда-(3308)Педагогика-(5571)Полиграфия-(1312)Политика-(7869)Право-(5454)Приборостроение-(1369)Программирование-(2801)Производство-(97182)Промышленность-(8706)Психология-(18388)Религия-(3217)Связь-(10668)Сельское хозяйство-(299)Социология-(6455)Спорт-(42831)Строительство-(4793)Торговля-(5050)Транспорт-(2929)Туризм-(1568)Физика-(3942)Философия-(17015)Финансы-(26596)Химия-(22929)Экология-(12095)Экономика-(9961)Электроника-(8441)Электротехника-(4623)Энергетика-(12629)Юриспруденция-(1492)Ядерная техника-(1748)

Определение матрицы Якоби




 

В методе Ньютона на каждом шаге итерационного процесса поиска необходимо формировать матрицу Якоби, при этом каждый элемент матрицы можно определить:

1.аналитически, как частную производную ,

2.методом численного дифференцирования, как отношение приращения функции к приращению аргумента, т.е.

 

В результате частная производная по первой координате х1 определится как

а частная производная по координате хj определится как

где .

 

Метод Ньютона имеет преимущества по сравнению с другими методами. Но для метода Ньютона так же существует проблема сходимости, с увеличением числа неизвестных область сходимости уменьшается, а в случае больших систем, сходимость обеспечивается если начальная точка близка к искомому решению.

 

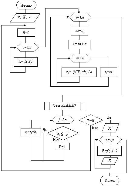
На рисунке 10.4 представлена укрупнённая схема алгоритма (блок-схема) метода Ньютона. На рисунках 10.5 и 10.6 представлены схемы алгоритмов метода Ньютона с различными способами определения матрицы Якоби.

 

 

Рис. 10.4. Блок-схема алгоритма метода Ньютона

 

 

 

Рис. 10.5. Схема алгоритма метода Ньютона (аналитическое определение матрицы Якоби)

 

 

 

Рис. 10.6. Схема алгоритма метода Ньютона (определение матрицы Якоби с помощью численного дифференцирования)




Поделиться с друзьями:


Дата добавления: 2014-01-14; Просмотров: 1441; Нарушение авторских прав?; Мы поможем в написании вашей работы!


Нам важно ваше мнение! Был ли полезен опубликованный материал? Да | Нет



studopedia.su - Студопедия (2013 - 2026) год. Все материалы представленные на сайте исключительно с целью ознакомления читателями и не преследуют коммерческих целей или нарушение авторских прав! Последнее добавление




Генерация страницы за: 0.006 сек.