Студопедия

КАТЕГОРИИ:


Архитектура-(3434)Астрономия-(809)Биология-(7483)Биотехнологии-(1457)Военное дело-(14632)Высокие технологии-(1363)География-(913)Геология-(1438)Государство-(451)Демография-(1065)Дом-(47672)Журналистика и СМИ-(912)Изобретательство-(14524)Иностранные языки-(4268)Информатика-(17799)Искусство-(1338)История-(13644)Компьютеры-(11121)Косметика-(55)Кулинария-(373)Культура-(8427)Лингвистика-(374)Литература-(1642)Маркетинг-(23702)Математика-(16968)Машиностроение-(1700)Медицина-(12668)Менеджмент-(24684)Механика-(15423)Науковедение-(506)Образование-(11852)Охрана труда-(3308)Педагогика-(5571)Полиграфия-(1312)Политика-(7869)Право-(5454)Приборостроение-(1369)Программирование-(2801)Производство-(97182)Промышленность-(8706)Психология-(18388)Религия-(3217)Связь-(10668)Сельское хозяйство-(299)Социология-(6455)Спорт-(42831)Строительство-(4793)Торговля-(5050)Транспорт-(2929)Туризм-(1568)Физика-(3942)Философия-(17015)Финансы-(26596)Химия-(22929)Экология-(12095)Экономика-(9961)Электроника-(8441)Электротехника-(4623)Энергетика-(12629)Юриспруденция-(1492)Ядерная техника-(1748)

Кавернометрия




Изучение технического состояния скважин

При изучении технического состояния скважин определяют: 1) искривление скважин - инклинометрия; 2) диаметр скважин - кавернометрия; 3) профиль сечения скважин и обсадных колонн - профилеметрия; 4) качество цементирования обсадных колонн; 5) места притоков и поглощений жидкости в скважинах; 6) затрубную циркуляцию жидкости; 7) место гидроразрыва пласта; 8) уровень жидкости; 9) местоположения муфтовых соединений обсадных колонн и перфорированных участков колонн, толщину и внутренний диаметр обсадных колонн, участки смятия и разрыва колонн.

 

В породах различной литологии фактический диаметр скважины не всегда соответствует диаметру долота. При этом наблюдается как уменьшение диаметра скважины, так и увеличение его, иногда весьма значительное. Данные о фактическом диаметре скважины необходимы для уточнения геологического разреза и используются при количественной интерпретации.

Измерение фактического диаметра скважины осуществляется каверномерами. Кривая измерения диаметра по стволу скважины называется кавернограммой.

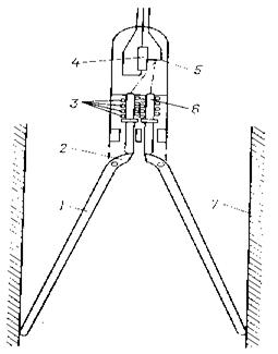
Применяются каверномеры типа СКС, СКТ и СКО (рис. 5.5), которые имеют по четыре измерительных рычага с двумя плечами - длинным 1 и коротким 2.

Длинное плечо прижимается пружиной 3 к стенке скважины 7. Короткое плечо с помощью кулачка перемещает шток 6, который связан механически с помощью тросика с ползунком 5, перемещающимся по омическому датчику 4. Этот датчик является общим для всех четырех рычагов. Принцип действия всех существующих типов каверномеров одинаков и состоит в преобразовании механических перемещений мерных рычагов в электрические сигналы, которые передаются по кабелю на поверхность, а затем в регистрирующий прибор. Различие каверномеров состоит в электрических схемах, конструкциях и способах раскрытия мерных рычагов.

Рис.5.5. Схема конструкции каверномеров типов СКС и СКО

 

Диаметр скважины определяют по формуле dc = d0 + C ( U/I), где d0 - начальный диаметр при закрытых рычагах каверномера, С - постоянная каверномера. Для градуировки обычно используется крестовина с отверстиями, расположенными на одинаковом расстоянии от ее центра, в которые вставляются мерные рычаги, или набор градуировочных колец.

Собирается обычная схема измерения, минус источника питания подключается к корпусу прибора. При выбранной силе тока питания каверномера I около 2 мА и задаваемых значениях раскрытия мерных рычагов, соответствующих определенным диаметрам скважин, измеряют разности потенциалов U, снимаемые с омического датчика. По величинам U и известным диаметрам крестовины строят градуировочный график U = f(dc). Постоянную каверномера рассчитывают по двум парам значений, выбранным на линейном участке графика, с помощью формулы C = , при U=0.

       
   
 
 


 


d

d d d

Рис.5.6. Градуировочный график

 

 




Поделиться с друзьями:


Дата добавления: 2014-11-06; Просмотров: 912; Нарушение авторских прав?; Мы поможем в написании вашей работы!


Нам важно ваше мнение! Был ли полезен опубликованный материал? Да | Нет



studopedia.su - Студопедия (2013 - 2026) год. Все материалы представленные на сайте исключительно с целью ознакомления читателями и не преследуют коммерческих целей или нарушение авторских прав! Последнее добавление




Генерация страницы за: 0.012 сек.