Студопедия

КАТЕГОРИИ:


Архитектура-(3434)Астрономия-(809)Биология-(7483)Биотехнологии-(1457)Военное дело-(14632)Высокие технологии-(1363)География-(913)Геология-(1438)Государство-(451)Демография-(1065)Дом-(47672)Журналистика и СМИ-(912)Изобретательство-(14524)Иностранные языки-(4268)Информатика-(17799)Искусство-(1338)История-(13644)Компьютеры-(11121)Косметика-(55)Кулинария-(373)Культура-(8427)Лингвистика-(374)Литература-(1642)Маркетинг-(23702)Математика-(16968)Машиностроение-(1700)Медицина-(12668)Менеджмент-(24684)Механика-(15423)Науковедение-(506)Образование-(11852)Охрана труда-(3308)Педагогика-(5571)Полиграфия-(1312)Политика-(7869)Право-(5454)Приборостроение-(1369)Программирование-(2801)Производство-(97182)Промышленность-(8706)Психология-(18388)Религия-(3217)Связь-(10668)Сельское хозяйство-(299)Социология-(6455)Спорт-(42831)Строительство-(4793)Торговля-(5050)Транспорт-(2929)Туризм-(1568)Физика-(3942)Философия-(17015)Финансы-(26596)Химия-(22929)Экология-(12095)Экономика-(9961)Электроника-(8441)Электротехника-(4623)Энергетика-(12629)Юриспруденция-(1492)Ядерная техника-(1748)

Електродинамічні та феродинамічні прилади




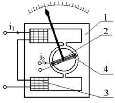
Принцип дії електродинамічного вимірювального механізму ґрунтується на взаємодії магнітних полів рухомої та нерухомої котушок зі струмом, його будова показана на рис.6.16. Нерухома котушка виконується у вигляді двох однакових секцій, розділених повітряним зазором, щоб між ними можна було створити досить рівномірне магнітне поле і розмістити рухому котушку.

 

  Рис. 6.16. Електродинамічний механізм Конструкція рухомої частини аналогічна конструкції рухомої частини магнітоелектричного механізму (рис. 6.7). На осі рухомої частини, крім котушки, закріплюються стрілка, зрівноважувальні тягарці та крило (сектор) повітряного заспокоювача. Для створення протидійного моменту використовуються пружини або розтяжки. Механізми на розтяжках більш чутливі. Так, струм повного відхилення вказівника міліамперметра на опорах складає 25...30 мА, а на розтяжках - 1...3,5 мА.  

Власне магнітне поле такого механізму мале, тому вживаються заходи для захисту його від впливу зовнішних магнітних полів (за допомогою екранів або астатичних механізмів).При протіканні змінних струмів і1 та і2 в котушках виникає обертальний момент, під дією якого рухома частина прагне повернутися так, щоб магнітні поля обох котушок збігалися за напрямком.

В амперметрах з межею вимірювання до 0,5 А нерухома і рухома котушки вимірювального механізму вмикаються послідовно (рис. 6,17,а), в котушках протікає однаковий струм. В електродинамічних амперметрах з межею вимірювання понад 0,5 А котушки вмикаються паралельно (рис. 6.17,б).

 

Рис. 6.17. Схеми компенсації похибок електродинамічного приладу:

а - частотної; б - температурної

Основна похибка електродинамічних амперметрів і вольтметрів викликана конструктивними і технологічними властивостями вимірювального механізму, а додаткові похибки - зміною температури навколишнього середовища, частоти струму та зовнішніми магнітними полями.

Компенсація частотної похибки досягається вирівнюванням сталих часу паралельних кіл шляхом підбору значень опорів додаткових резисторів. Для зменшення частотної похибки вольтметрів частину додаткового резистора шунтують конденсатором (рис. 6.17,а).

Компенсація температурної похибки досягається підбором значення опору додаткових резисторів з міді та манганіну з таким розрахунком, щоб температурні коефіцієнти паралельних кіл стали однаковими (рис.6.17,б).

Електродинамічні прилади придатні для вимірювання постійних і змінних струмів та напруг, вони відрізняються високою чутливістю і точністю. Найвищий клас точності електродинамічних приладів 0,1 (наприклад,

амперметр Д590 з межами вимірювань від 0,25 до 10 А).

Феродинамічний вимірювальний механізм відрізняється від електродинамічного наявністю магнітопроводу 1 з циліндричною виточкою, всередині якої розташовується сердечник 2 (рис. 6.18). Магнітопровід і сердечник виконуються з ізольованих один від одного листів магнітом’якої сталі або пермалою. Нерухома котушка 3 розміщується на магнітопроводі. Конструкція рухомої котушки 4 аналогічна конструкції магнітоелектричного механізму (рис. 6.7). У повітряному зазорі магнітної системи механізму створюється радіальне однорідне поле з магнітною індукцією, пропорційною струму і1 в нерухомій котушці. Внаслідок взаємодії цього поля зі струмом і2 рухомої котушки виникає обертальний момент.

    Рис. 6.18. Феродинамічний механізм

Переносні феродинамічні амперметри та вольтметри мають клас точності 0,5, а вібро- і труськостійкі щиткові вольтметри - 1,5 і 2,5. Вони використовуються переважно для вимірювань у колах змінного струму частотою 50 та 400 Гц.

 




Поделиться с друзьями:


Дата добавления: 2014-10-15; Просмотров: 1729; Нарушение авторских прав?; Мы поможем в написании вашей работы!


Нам важно ваше мнение! Был ли полезен опубликованный материал? Да | Нет



studopedia.su - Студопедия (2013 - 2025) год. Все материалы представленные на сайте исключительно с целью ознакомления читателями и не преследуют коммерческих целей или нарушение авторских прав! Последнее добавление




Генерация страницы за: 0.007 сек.