Студопедия

КАТЕГОРИИ:


Архитектура-(3434)Астрономия-(809)Биология-(7483)Биотехнологии-(1457)Военное дело-(14632)Высокие технологии-(1363)География-(913)Геология-(1438)Государство-(451)Демография-(1065)Дом-(47672)Журналистика и СМИ-(912)Изобретательство-(14524)Иностранные языки-(4268)Информатика-(17799)Искусство-(1338)История-(13644)Компьютеры-(11121)Косметика-(55)Кулинария-(373)Культура-(8427)Лингвистика-(374)Литература-(1642)Маркетинг-(23702)Математика-(16968)Машиностроение-(1700)Медицина-(12668)Менеджмент-(24684)Механика-(15423)Науковедение-(506)Образование-(11852)Охрана труда-(3308)Педагогика-(5571)Полиграфия-(1312)Политика-(7869)Право-(5454)Приборостроение-(1369)Программирование-(2801)Производство-(97182)Промышленность-(8706)Психология-(18388)Религия-(3217)Связь-(10668)Сельское хозяйство-(299)Социология-(6455)Спорт-(42831)Строительство-(4793)Торговля-(5050)Транспорт-(2929)Туризм-(1568)Физика-(3942)Философия-(17015)Финансы-(26596)Химия-(22929)Экология-(12095)Экономика-(9961)Электроника-(8441)Электротехника-(4623)Энергетика-(12629)Юриспруденция-(1492)Ядерная техника-(1748)

Тема 6. Основы печатного процесса




Контрольные вопросы

Тестовые задания по теме 5

Задание 1 (множественный выбор). Укажите признаки классификации печатных форм

а) красочность;

б) вид печати;

в) способ печати;

г) структура изображения;

д) метод записи.

Задание 2 (ввод текста). Материальный носитель информации для печати...

Задание 3 (ввод текста). Участки печатной формы, на которые в процессе печати наносится краска...

Задание 4 (ввод текста). Участки печатной формы, не принимающие на себя краску...

Задание 5 (сопоставление). Соотнесите вариант форматной записи информации на печатную форму с его описанием.

Вариант форматной записи Описание
1. Контактное копирование а) перенос информации с фотоформы на светочувствительный слой формной пластины
2. Проекционное экспонирование б) перенос информации с репродуцируемого оригинал-макета на формные пластины, покрытые электрофотографическим слоем
  в) фотографирование репродуцируемого оригинал-макета на формные пластины, покрытые фотографическим слоем

Задание 6 (сопоставление). Сопоставьте метод записи информации на печатную форму и его варианты.

Метод записи Вариант записи
1. Форматная запись а) негативное копирование
2. Поэлементная запись б) позитивное копирование
  в) проекционное экспонирование репродуцируемого оригинал-макета
  г) гравирование
  д) лазерное воздействие

Задание 7 (множественный выбор). При световом лазерном воздействии происходят...процессы.

а) фотохимические;

б) электрофотографические;

в) физикохимические.

Задание 8 (множественный выбор). При тепловом лазерном воздействии происходят... процессы.

а) фотохимические;

б) электрофотографические;

в) физикохимические.

Задание 9 (MCQ). Укажите истинность или ложность нижепредставленных утверждений.

а) негативное копирование используется во флексографии;

б) негативное копирование применяется в плоской офсетной печати;

в) форматная запись методом гравирования применяется для изготовления форм флексографской печати;

г) поэлементная запись методом гравирования применяется для изготовления печатных форм глубокой печати.

Задание 10 (сопоставление). Сопоставьте способ изготовления печатных форм с описанием одного из его этапов.

Способ изготовления Этап
1. Фотомеханический а) проявитель растворяет микрокристаллы галоида серебра на неэкспонированных участках, и они переходят в приемный слой
2. Электромеханическое гравирование б) световой поток, отраженный от оригинала, преобразуется в электрический сигнал, который поступает на режущую систему
3. Диффузионный перенос в) информация с фотоформы переносится в масштабе 1:1 на светочувствительный слой формного материала
4. Электрофотографический г) изображение формируется с использованием носителей, электрические свойства которых изменяются под действием излучения оптического диапазона

 

Задание 11 (MCQ). Укажите истинность или ложность нижепредставленных утверждений.

а) негативное копирование используется в высокой типографской печати;

б) световое лазерное воздействие применяется для изготовления форм плоской офсетной печати;

в) тепловое лазерное воздействие употребляется для изготовления форм флексографской печати;

г) световое лазерное воздействие используется для изготовления флексографской печати;

д) тепловое лазерное воздействие применяется для изготовления форм глубокой печати.

Задание 12 (ввод текста). Максимальное количество оттисков, которые можно получить с печатной формы без значительного ухудшения качества,— это...

Задание 13 (ввод текста). Показатель печатной формы, который характеризует возможность воспроизведения на печатной форме мелких деталей изображения...

Задание 14 (ввод текста). Показатель печатной формы, характеризующий качество воспроизведения на печатной форме тоновых или растровых изображений,— это...

Задание 15 (сопоставление). Укажите признак классификации печатной формы.

Печатная форма Признак
1. Форма высокой печати а) метод записи
2. Форма плоской офсетной печати б) вид печати
3. Форма флексографской печати в) способ печати
4. Форма, полученная копированием  
5. Форма полуавтотипной глубокой печати  

 

Задание 16 (множественный выбор). Укажите этапы технологии «Компьютер-фотоформа» изготовления офсетной печатной формы.

а) фоторепродукционный;

б) копировальный;

в) формный.

Задание 17 (множественный выбор). Укажите этапы технологии «Компьютер−печатная форма» изготовления офсетной печатной формы.

а) фоторепродукционный;

б) копировальный;

в) формный.

Задание 18 (ввод текста). Перенос информации (в масштабе 1:1) с фотоформы на формные пластины, покрытые светочувствительным слоем,— это...

Задание 19 (ввод текста). В копировальном процессе в качестве оригинала служит...

Задание 20 (ввод текста). Результат копировального этапа фотомеханического способа...

Задание 21 (множественный выбор). Какой способ используется при изготовлении печатных форм по серебряной технологии «Компьютер−печатная форма»?

а) фотомеханический;

б) копировальный;

в) диффузионный;

г) электрофотографический;

д) электронно-механическое гравирование.

Задание 22 (множественный выбор). Какой способ используется при изготовлении офсетных печатных форм?

а) фотомеханический;

б) копировальный;

в) диффузионный;

г) электрофотографический;

д) электронно-механическое гравирование.

Задание 23 (множественный выбор). Какие способы используются при изготовлении печатных форм глубокой печати?

а) фотомеханический;

б) копировальный;

в) диффузионный;

г) электрофотографический;

д) электронно-механическое гравирование.

Задание 24 (ввод текста). Результат фоторепродукционного этапа фотомеханического способа...

Задание 25 (ввод текста). Результат формного этапа фотомеханического способа...

Задание 26 (сопоставление). Сопоставьте свойства копировального слоя и его тип.

Свойство копировального слоя Тип копировального слоя
1. Снижение растворимости копировального слоя под действием света а) негативный слой
2. Разрушение копировального слоя под действием света б) позитивный слой
3. Изменяет способность растворяться в обычных для него растворителях до полной потери растворимости  
4. После проявления оставшийся копировальный слой образует негативное изображение  
5. После проявления копии на поверхности пластины, получается позитивная копия  

Задание 27 (сопоставление). Сопоставьте тип копировального слоя и копируемый оригинал.

 

Копируемый оригинал Тип копировального слоя
1. Негатив а) негативный слой
2. Диапозитив б) позитивный слой

 

Задание 28 (сопоставление). Сопоставьте свойства и тип копировального слоя.

Свойства копировального слоя Тип копировального слоя
1. До облучения не растворим в щелочных растворах а) негативный слой
2. До облучения является растворимым в воде или щелочных растворах б) позитивный слой
3. После экспонирования происходит фотодеструкция (разрушение) освещенных участков  
4. После проявления копии получается изображение позитивное по отношению к фотоформе  
5. При экспонировании происходит фотоструктурирование освещенных участков  

Задание 29 (сопоставление). Сопоставьте группу копировальных слоев и тип копировального слоя

Группа копировальных слоев Тип копировального слоя
1. Гидрофильные полимеры с диазосоединениями а) негативный слой
2. Слои на основе диазосоединений б) позитивный слой
3. Фотополимеризуемые копировальные слои  

Задание 30 (MCQ). Укажите истинность или ложность предложенных утверждений.

а) копировальный слой представляет собой тонкую полимерную пленку;

б) копировальный слой обладает низкой светочувствительностью;

в) копировальный слой обладает высокой светочувствительностью;

г) копировальный слой обладает светочувствительностью к коротковолновым лучам;

д) обработка копий производится при слабом дневном свете.

Задание 31 (ввод текста). На рисунке представлен… копировальный процесс.

Задание 32 (ввод текста). На рисунке представлен… копировальный процесс

Задание 33 (часть изображения). Укажите букву, которой на рисунке обозначена схема позитивного копировального процесса

Задание 34 (указание порядка). Укажите порядок следования операций копировального процесса:

а) экспонирование копировального слоя через фотоформу;

б) изготовление предварительно очувствленных формных пластин;

в) обработка полученной копии и контроль.

Задание 35 (сопоставление). Соотнесите характеристики копировальных слоев с названием группы.

Характеристика слоев Название группы
1. Используют для изготовления монометаллических офсетных форм позитивным копированием а) слои на основе фотополимеризующихся композиций;
2. Применяют для изготовления фотополимерных форм высокой и флексографской печати, офсетных форм б) диазосмолы, диазосоединения
3. Слои более эластичны, просты и кислотостойки в) слои на основе ортонафтохинондиазидов (ОНХД)
4. Не подвержены темновому дублению, обладают высокой светочувствительностью г) слои хромированных гидрофильных полимеров

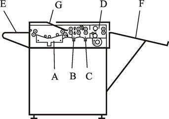
Задание 36 (часть изображения). Укажите букву, которая обозначает секцию проявления проявочного процессора.

Задание 37 (множественный выбор). Укажите слои монометаллической пластины.

а) оксидный слой;

б) алюминиевая подложка;

в) матированное покрытие;

г) зерненый слой;

д) копировальный слой.

Задание 38 (часть изображения). Укажите букву, которая обозначает секцию промывки проявочного процессора

Задание 39 (часть изображения). Укажите букву, которая обозначает секцию нанесения защитного покрытия проявочного процессора

Задание 40 (ввод текста). Форма, у которой печатающие и пробельные элементы создаются на одном металле, — это...

Задание 41 (одиночный выбор). Самый распространенный материал, используемый в качестве печатных форм на металлической основе...

а) алюминий;

б) цинк;

в) сталь;

г) медь.

Задание 42 (множественный выбор). Отметьте характеристики, которые верно описывают изготовление монометаллических печатных форм плоской печати позитивным копированием:

а) основной способ изготовления монометаллических форм;

б) позволяет получать формы с хорошими технологическими показателями для печатания разнообразной продукции тиражами до 500 тыс.−1 млн. отт.;

в) позволяет получать формы с хорошими технологическими показателями для печатания разнообразной продукции тиражами до 100−150 тыс. отт.;

г) легко автомати­зируется;

д) характеризуется простотой.

Задание 43 (сопоставление). Соотнесите характеристики предварительно очувствленной пластины с основными стадиями их изготовления.

Характеристика Стадия изготовления
1. Тщательная очистка металла а) декапирование
2. Увеличивает твердость и улучшает устойчивость офсетных форм к механическим воздействиям и химическим веществам б) электрохимическое зернение
3. Удаление шлама и осветление при помощи 25% раствора азотной кислоты с добавкой фторида аммония в) обезжиривание
4. Получение равномерного микрорельефа г) матирование
5. Способствует быстрому достижению вакуума между поверхностью пластины и монтажом фотоформ во время копирования д) анодирование

 

Задание 44 (множественный выбор). Отметьте утверждения, которые верно характеризуют процесс анодирования.

а) включает наполнение оксидной пленки;

б) включает анодное оксидирование;

в) улучшает устойчивость офсетных форм к механическим воздействиям;

г) утолщается оксидная пленка;

д) ухудшает устойчивость офсетных форм к механическим воздействиям.

Задание 45 (одиночный выбор). Какой из этапов процесса изготовления монометаллических форм позитивным копированием указан на рисунке под буквой «г»?

а) проявление копии и промывка водой;

б) нанесение защитного слоя растворимого в воде полимера;

в) печатная пластина;

г) гидрофилизация пробельных элементов гидрофилизирующим раствором;

д) экспонирование через диапозитив.

Задание 46 (сопоставление). Соотнесите этапы процесса изготовления монометаллических форм позитивным копированием с их характеристиками.

Характеристика Этап изготовления
1. Проходящий через прозрачные участки свет вызывает фотохимическое разложение диазосоединения только на будущих пробельных элементах формы по всей толщине копировального слоя а) проявление копии и промывка водой
2. Пробельные элементы полностью освобождаются от продуктов реакции и остатков проявляющего раствора, а на печатающих — остается слой с первоначальными олеофильными свойствами б) нанесение защитного слоя растворимого в воде полимера
3. Обработка гидрофилизирующим раствором, который образует устойчивую гидрофиль­ную пленку в) экспонирование
4. Защита поверхности формы от загрязнений, окисления и повреждения при хранении и установка их в печатную машину г) гидрофилизация пробельных элементов

Задание 47 (указание порядка). Укажите последовательность операций изготовления офсетной печатной формы позитивным копированием

а) монтаж фотоформ;

б) обработка копии;

в) изготовление фотоформ;

г) экспонирование монтажной фотоформы;

д) пробивка отверстий для штифтовой приводки.

Задание 48 (множественный выбор). Укажите операции обработки копии в проявочном процессоре.

а) сушка;

б) проявление;

в) промывка;

г) фиксирование;

д) гуммирование.

Задание 49 (одиночный выбор). Носитель изображения, используемый при изготовлении печатной формы офсетной печати позитивным копированием…

а) цифровой файл;

б) фотоформа;

в) репродуцируемый оригинал-макет.

Задание 50 (одиночный выбор). Носитель изображения, используемый при изготовлении печатной формы офсетной печати по технологии «Компьютер−печатная форма»

а) цифровой файл;

б) фотоформа;

в) репродуцируемый оригинал-макет.

Задание 51 (указание порядка). Укажите последовательность операций изготовления офсетной печатной формы по технологии «Компьютер − печатная форма».

а) обработка цифрового файла в РИП;

б) обработка копии;

в) передача цифрового файла;

г) пробивка штифтовых отверстий;

д) запись цветоделенных изображений в формовыводном устройстве.

Задание 52 (указание порядка). Укажите последовательность операций изготовления офсетной печатной формы по технологии «Компьютер−печатная машина».

а) обработка цифрового файла в РИП;

б) печатание тиражных оттисков;

в) передача цифрового файла;

г) запись цветоделенных изображений в формовыводном устройстве.

Задание 53 (сопоставление). Сопоставьте длину волны с источником излучения, используемом в технологии «Компьютер-печатная форма».

Источник излучения Длина волны
1. Гелий-неоновый лазер а) 400−410 нм
2. Аргон-ионовый лазер б) 488 нм
3. Красный лазерный диод в) 830 нм
4. Фиолетовый лазерный диод г) 633 нм
5. ИК-лазерный диод д) 670 нм

 

Задание 54 (сопоставление). Сопоставьте тип формовыводного устройства и его характеристики.

Характеристика формовыводного устройства Тип формовыводного устройства
1. Цилиндр вращается а) планшетный
2. Формная пластина неподвижна б) с внутренним барабаном
3. Формная пластина неподвижна или движется в направлении перпендикулярном записи изображения в) с внешним барабаном
4. Формная пластина вращается  
5. Цилиндр неподвижен  

 

Задание 55 (сопоставление). Сопоставьте тип формовыводного устройства и его характеристики.

Характеристика формовыводного устройства Тип формовыводного устройства
1. Цилиндр вращается а) планшетный
2. Везде одинаковая интенсивность излучения б) с внутренним барабаном
3. Форма расположена в горизонтальной плоскости в) с внешним барабаном
4. Короткое время записи  
5. Простое фиксирование формной пластины  

Задание 56 (множественный выбор). Типовая копировальная рама состоит из модулей…

а) рама;

б) гуммирующая секция;

в) источник света;

г) вакуумная система;

д) интегратор светового потока.

Задание 57 (ввод текста). Способ изготовления печатных форм, при котором изображение на форме создается тем или иным методом на ос­нове цифровых данных, полученных непосредственно из компьютера...

Задание 58 (множественный выбор). Укажите характеристики технологии «Компьютер − печатная форма»

а) сокращается время изготовления печатных форм;

б) повышается стоимость изготовления печатных форм;

в) исключаются фотовыводные устройства;

г) проблемы с корректурными оттисками;

д) экспонирование пластин имеет более высокую стоимость.

Задание 59 (множественный выбор). Достоинства рекордеров внешнебарабанного типа, применяемых в технологии CtP.

а) один источник излучения;

б) большая оптическая глубина резкости;

в) простота фокусировки;

г) возможность экспонирования больших форматов.

Задание 60 (множественный выбор). Применение фиолетового лазера с длиной волны 410 нм позволяет обеспечить в системах CtP.

а) устранение муара;

б) получение растровой точки различной формы;

в) получение дерастрированных изображений;

г) получение многоцветных изображений;

д) высокую производительность и большую «жесткость» растровой точки.

Задание 61 (множественный выбор). Достоинства рекордеров внутрибарабанного типа, применяемых в технологии CtP…

а) возможность экспонирования больших форматов;

б) большая оптическая глубина резкости;

в) высокая точность записи;

г) простота фокусировки;

д) один источник излучения.

Задание 62 (множественный выбор). Электрографический способ изготовления печатных форм по технологии CtP осуществляется на...

а) фотополимерных пластинах;

б) полиэстровой и бумажной основах;

в) фотопленках с металлическим напылением;

г) монометаллических формных пластинах;

д) цилиндрах со специальных покрытием.

Задание 63 (множественный выбор). Системы CtP, как правило, оснащаются...

а) устройством для обжига пластин;

б) лазерным источником света для форматной записи;

в) устройством контроля дозы экспонирования;

г) штифтовой приводкой для точного позиционирования пластин;

д) устройством лазерного гравирования.

Задание 64 (множественный выбор). Офсетные формы на полиэстровой и бумажной основах применяют для печати…продукции.

а) журнальной;

б) этикеточной;

в) бланочной;

г) книжной (малые тиражи);

д) газетной.

Задание 65 (множественный выбор). Основными факторами, определяющими качество печатных форм, применяемых в термальной технологии CtP, являются...

а) фокусировка луча рекордера;

б) скорость вращения барабана рекордера;

в) температура источника излучения;

г) скорость (время) транспортировки пластины;

д) мощность лазера рекордера.

Задание 66 (множественный выбор). Достоинства рекордеров внешнебарабанного типа, применяемых в технологии CtP...

а) один источник излучения;

б) простота фокусировки;

в) возможность экспонирования больших форматов;

г) большая оптическая глубина резкости.

Задание 67 (одиночный выбор). Офсетные формы на полиэстровой и бумажной основах имеют тиражестойкость в диапазоне…оттисков.

а) 5000−15 000;

б) 15 000−50 000;

в) 25 000−50 000;

г) 50 000−100 000;

д) 75 000−150 000.

1. Что такое печатная форма? Какие элементы она содержит?

2. Какие копировальные слои используются в плоской офсетной печати и почему?

3. Дайте определение копировального процесса. Какие элементы копировального процесса участвуют в изготовлении печатной формы?

4. Какие требования предъявляются к копировальным слоям?

5. Приведите структуру монометаллической печатной формы.

6. Что такое предварительно очувствленная формная пластина?

7. Расскажите о стадиях изготовления предварительно очувствленной пластины офсетной печати.

8. Как выполняется входной контроль офсетных пластин? Какие при этом используются данные?

9. Назовите операции механизированной обработки копии.

10. Расскажите о процессе экспонирования формного материала в копировальной раме с вакуумным прижимом.

11. Зачем нужно гуммирование? Какой основной компонент гуммирующего раствора?

12. Как оценивается качество печатных форм офсетной печати? Назовите требования к печатным формам?

13. Какие требования безопасности труда предъявляются к процессу изготовления печатных форм?

14. Перечислите основные способы изготовления печатных форм и кратко дайте их характеристику.

15. Приведите схему косвенного электрофотографического способа изготовления печатной формы.

16. Дайте последовательность операций изготовления печатной формы фотомеханическим способом.

17. Нарисуйте схему изготовления печатной формы диффузионным переносом.

18. Что такое форматная запись информации?

19. Что такое поэлементная запись информации?

20. Приведите группы копировальных слоев. Соотнесите группу и тип копировального слоя.

21. Дайте определения основным показателям печатных форм.

22. Приведите этапы изготовления печатной формы по технологии «Компьютер - печатная форма». Какое при этом используется оборудование?

23. Назовите конструктивные варианты формовыводных устройств. Укажите их недостатки и достоинства.

24. Сравните свойства экспонирующих устройств барабанного типа.

25. Дайте классификацию формных пластин, используемых при изготовлению печатных форм по технологии «Компьютер - печатная форма».




Поделиться с друзьями:


Дата добавления: 2014-10-15; Просмотров: 1633; Нарушение авторских прав?; Мы поможем в написании вашей работы!


Нам важно ваше мнение! Был ли полезен опубликованный материал? Да | Нет



studopedia.su - Студопедия (2013 - 2025) год. Все материалы представленные на сайте исключительно с целью ознакомления читателями и не преследуют коммерческих целей или нарушение авторских прав! Последнее добавление




Генерация страницы за: 0.008 сек.