Студопедия

КАТЕГОРИИ:


Архитектура-(3434)Астрономия-(809)Биология-(7483)Биотехнологии-(1457)Военное дело-(14632)Высокие технологии-(1363)География-(913)Геология-(1438)Государство-(451)Демография-(1065)Дом-(47672)Журналистика и СМИ-(912)Изобретательство-(14524)Иностранные языки-(4268)Информатика-(17799)Искусство-(1338)История-(13644)Компьютеры-(11121)Косметика-(55)Кулинария-(373)Культура-(8427)Лингвистика-(374)Литература-(1642)Маркетинг-(23702)Математика-(16968)Машиностроение-(1700)Медицина-(12668)Менеджмент-(24684)Механика-(15423)Науковедение-(506)Образование-(11852)Охрана труда-(3308)Педагогика-(5571)Полиграфия-(1312)Политика-(7869)Право-(5454)Приборостроение-(1369)Программирование-(2801)Производство-(97182)Промышленность-(8706)Психология-(18388)Религия-(3217)Связь-(10668)Сельское хозяйство-(299)Социология-(6455)Спорт-(42831)Строительство-(4793)Торговля-(5050)Транспорт-(2929)Туризм-(1568)Физика-(3942)Философия-(17015)Финансы-(26596)Химия-(22929)Экология-(12095)Экономика-(9961)Электроника-(8441)Электротехника-(4623)Энергетика-(12629)Юриспруденция-(1492)Ядерная техника-(1748)

Решение. 1. Определяем требуемое наименьшее удельное давление на контактных поверхностях соединения по формуле:




1. Определяем требуемое наименьшее удельное давление на контактных поверхностях соединения по формуле:

[ Р min] .

 

Если задано передаваемое осевое усилие Ро, то требуемое наименьшее удельное давление на контактных поверхностях соединения определяем по формуле:

 

[ Р min] , Н/м2.

2. По полученному значению [ Р min] определяем необходимую величину наименьшего расчётного натяга по формуле:

мкм

 

где Е1 и Е2 – модули упругости соответственно вала и отверстия; С1 и С2 – коэффициенты, определяемые, по формулам:

 

 

Рис. 2.1. Эскиз соединения деталей с натягом

a) вал с отверстием; б) вал без отверстия (D1 =0)

 

 

а) для вала:

;

 

б) для отверстия:

.

 

 

Подставляем найденные значения С1 и С2 в формулу:

 

.

 

3. Если шероховатости сопрягаемых поверхностей обозначены параметром Rz, то определяем величину наименьшего допустимого натяга по формуле:

 

.

 

Если же шероховатость поверхности оценена параметром , тогда наименьший натяг определяется по формуле:

.

 

4. Определяем наибольшее удельное давление на контактных поверхностях вала P1 и втулки P2, при котором отсутствует пластическая деформация на контактных поверхностях деталей.

а) для вала:

;

 

б) для втулки:

.

В качестве наибольшего удельного давления [ Рн.б. ] берётся наименьшее из двух значений (P1 или P2), принимаем P2,, имеющем значение меньшее, чем P1.. Следовательно, [ Рн.б. ] .

 

5. Определяем величину наибольшего расчетного натяга по формуле:

 

6. Определяем наибольший допустимый натяг [ N max] с учетом шероховатостей поверхностей по формуле:

 

.

 

При более точных расчётах необходимо учитывать поправку, если при рабочей температуре натяг увеличивается, а также коэффициент, учитывающий увеличение удельного давления торцов охватывающей детали [3].

7. Условия подбора посадки:

а) наибольший натяг N max в подобранной посадке должен быть не больше [ N max]: N max [ N max];

б) наименьший натяг N minу выбранной посадки с учетом допусков возможных колебаний действующей нагрузки и других факторов должен быть больше [N min ]:

N min ≥ [N min ].

 

8. Пользуясь справочником [3], находим посадку, соответствующую условиям подбора.

В нашем примере выбираем посадку , для которой

 

N max= 106 мкм < [N max ] =124 мкм;

N min = 56 мкм > [N min ] = 53 мкм.

 

Запас прочности соединения для данной посадки равен:

 

N min – [N min ] = 56 – 53 = 3 мкм.

 

Запас прочности деталей: [N max ] – N max = 124 – 106 = 18мкм.

 

 

9. Определяем усилие запрессовки по формуле:

где fП – коэффициент трения при запрессовке; fП = (1,15 ÷1,2)· f.

 

Схема расположения полей допусков деталей посадки с натягом в системе отверстия представлена на рис.2.2.

 

Удельное давление Р max при наибольшем натяге N max в посадке определяется по формуле:

÷

 

.

Рис. 2.2 Схема расположения полей допусков деталей посадки

с натягом в системе отверстия

 

В тексте записки следует привести:

1) схему расположения полей допусков отверстия и вала;

2) эскизы деталей и соединения в сборе;

3) обозначить предельные размеры деталей и посадки в буквенном и числовом выражениях;

4) обозначить шероховатость посадочных поверхностей.

 

Задача 3. Допуски и посадки подшипников качения

Методические указания

При решении задачи необходимо руководствоваться заданием, указанным в таблице 1, приложения А в соответствии с заданным вариантом. Согласно индивидуальному варианту требуется выполнить следующие работы.

1. Установить номинальные значения параметров подшипника, принять один из видов нагружения для каждого кольца, выбрать посадки наружного и внутреннего колец.

2. Пользуясь справочниками, найти предельные отклонения вала и отверстия в корпусе и колец подшипника. Определить зазоры и натяги в соединениях.

3. Подобрать шероховатость посадочных поверхностей сопрягаемых деталей, установить допускаемые отклонения геометрической формы посадочных поверхностей и биения заплечиков [3].

4. Выбрать экономические способы окончательной обработки и контроля деталей.

5. Привести в записке схемы расположения полей допусков выбранных посадок, вычертить эскизы сопряжений подшипника с неосновными деталями, отдельно вала и отверстия со всеми необходимыми обозначениями.

Номинальные размеры параметров подшипника определяют, пользуясь справочником [2] или приложением Б, таблица 1.

Посадки подшипников качения на вал и в корпус выбираются в зависимости от вида нагружения колец по справочнику [3], по ГОСТ 3325-85 [10],либо по таблице 3.1.

Для всех вариантов принимаем циркуляционное нагружение - для внутреннего кольца и местное нагружение – для наружного кольца подшипника.

В зависимости от выбранной посадки устанавливаются предельные отклонения сопрягаемых деталей (вал - внутреннее кольцо; корпус – наружное

кольцо). Отклонения на диаметры колец подшипника выбирают по специальным таблицам, приведённым в разделе "Подшипники качения" справочника [3]; ГОСТ 520-2002, на неосновные (присоединительные) детали - по справочнику [3], ГОСТ 25347-82 [9].

 

Таблица 3. 1 Посадки подшипников качения класса точности 0 и 6 на вал и отверстие корпуса (по ГОСТ 3325-85)

 

Класс точности подшипника Нагружение кольца
местное циркуляционное колебательное
Посадки внутреннего кольца на вал
Шариковые и роликовые радиально-упорные подшипники качения
 
 
  Посадки наружного кольца в корпус
Шариковые и роликовые радиально-упорные подшипники качения
 
 
             

Зазоры, натяги и все необходимые расчеты определяются так же, как и для гладких цилиндрических соединений, приведенных в задаче 1.

Шероховатость поверхностей, допускаемые отклонения от правильной геометрической формы посадочных поверхностей и допускаемые отклонения биения заплечиков вала и отверстия в корпусе под подшипники определяются по справочнику [3].

Выбор экономических способов окончательной обработки и измерительных средств для вала и корпуса производится аналогично гладким цилиндрическим деталям (задача 1).

Схема расположения полей допусков деталей соединения (наружное кольцо подшипника - корпус и внутреннее кольцо - вал) изображается так же, как и для гладких цилиндрических деталей соединения (см. задачу 1).

На сборочных чертежах посадки подшипников качения обозначают следующим образом: Ø 70 или Ø 150 ,

где - m6 и H7 - поля допусков неосновных деталей (вала и отверстия корпуса) по 6 и 7 квалитетам; L0 - поле допуска внутреннего диаметра внутреннего кольца подшипника по 0 классу точности; l0 - поле допуска наружного диаметра наружного кольца подшипника по 0 классу точности.

Пример. Подобрать посадки на кольца подшипника № 216 нулевого класса точности с деталями редуктора. Нагрузка на подшипник Р = 6000 Н.

Решение. По справочнику [2] или приложению Б находим:

d = 80 мм (80·10-3м) - номинальный размер диаметра внутреннего кольца подшипника;

D = 140 мм - (140·10-3 м) – номинальный диаметр наружного кольца;

B = 26 мм (26·10-3м) - ширина кольца;

r = 3мм (3·10-3 м) – радиус закругления.

К – коэффициент серии нагружения; (для легкой серии нагружения К = 2,8; для средней К = 2,3; для тяжелой К = 2,0).

По условиям работы заданного узла принимаем циркуляционный вид нагружения для внутреннего кольца подшипника, так как вращается вал и усилие передается последовательно всей дорожке качения внутреннего кольца подшипника. Для наружного кольца принимаем местный вид нагружения. Это кольцо допускает некоторое перемещение при толчках и ударах.

L0 – отклонение отверстия внутреннего кольца;

l0 – отклонение наружного размера подшипника.

Посадка внутреннего кольца на вал выбирается исходя из условий работы заданного узла по величине наименьшего расчетного натяга. Значение наименьшего расчетного натяга определяется по формуле:

(натяг округляется в сторону увеличения полученного значения натяга).

Так как присоединительная деталь (вал) изготавливается по 6 квалитету (для подшипников качения "0" и "6" класса точности) в системе отверстия и он соединяется с отверстием внутреннего кольца подшипника неподвижно, то, пользуясь ГОСТ 25347-82 [9], находим его поле допуска (k, m, n или p), у которого нижнее отклонение должно быть равно или больше N min .p., т.е. ei ≥ N min .p.

Для рассматриваемо­го примера это условие будет выдержано, если примем поле допуска m6, у которого еs = +30 мкм и еi = +11 мкм.

Посадка внутреннего кольца подшипника на вал обозначается .

Проверяем внутреннее кольцо подшипника качения на прочность. Вычисляем значение допустимого натяга:

 

, или 364 мкм

 

где p] = 400 МПа - допустимое напряжение на растяжение подшипниковой стали; d = 80∙10-3 м - внутренний диаметр внутреннего кольца подшипника.

Если натяг (Nдon) будет не равен целому числу мкм, то его округляют в сторону уменьшения полученного значения натяга.

Допустимый натяг Nдоп = 364 мкм больше наибольшего табличного натяга Nmax. т. = 45мкм и, следовательно, подшипник имеет значительный запас прочности.

Для соединения наружная поверхность наружного кольца подшипника - отверстие в корпусе принимаем посадку . Предельные отклонения, размеры посадочных поверхностей, зазоры и натяги определяем аналогично решению, приведенному в задачах 1 и 2.

Шероховатость посадочной поверхности вала принимаем Ra =1,25 мкм, а отверстия в корпусе - Ra= 2,5 мкм [3]. Для достижения выбранной шероховатости и квалитета посадочных поверхностей целесообразно применять закалённый вал, обработанный круглым чистовым шлифованием, а отверстие в корпусе - тонким растачиванием.

Допускаемая овальность и конусность посадочных поверхностей не должна быть более: для вала - 0,010 мм и для отвер­стия - 0,020 мм [3]. Допускаемое отклонение биения заплечиков не должно быть более: для вала - 0,025 мм и для отверстия - 0,050 мм.

Эскизы посадочных поверхностей и примеры обозначения посадки и предельных размеров деталей приведены на рис. 3.1.

 

Рис. 3.1 Чертежи соединения подшипника качения с валом и

корпусом и отдельно присоединительных деталей

 

 

Схемы расположение полей допусков деталей соединений представлены на рис.3.2.

 

Рис. 3.2 Схема расположения полей допусков присоединительных

деталей с кольцами подшипника качения

 

Задача 4. Допуски и посадки шпоночных соединений

Методические указания

При решении задачи необходимо руководствоваться заданием, указанным в таблице 1, приложения А в соответствии с заданным вариантом.

По данной теме необходимо выполнить следующие работы.

1. Исходя из номинального диаметра вала, соответствующего заданному варианту, по справочнику [3], ГОСТ 23360-78 [11], ГОСТ 24071-97 [12] определить номинальные размеры шпонки и пазов вала и втулки.

2. Из условия работы и назначения шпоночного соединения выбираются посадки: шпонка - паз вала и шпонка – паз втулки.

Выбор полей допусков шпонки по ширине и шпоночных пазов для призматических и сегментных шпонок производится по справочнику [3], либо по таблицам ГОСТ 23360-78 [11]и ГОСТ 24071-97 [12], а числовые значения отклонений по ГОСТ 25346-89 [8].

Кроме того необходимо рассчитать предельные размеры шпонки и пазов идопуски этих размеров; определить наибольшие и наименьшие зазоры или натяги в соединении. Построить схемы расположения полей допусков деталей соединения.

3. Выбрать экономические способы окончательной обработки поверхностей шпонки и пазов.

Экономическими способами окончательной обработки поверхностей являются: шпонки - плоское получистовое шлифование, паза вала под сегментную шпонку - фрезерование трехсторонней дисковой фрезой, паза вала под призматическую шпонку - фрезерование чистовое концевой фрезой и паза втулки - протягивание в крупносерийном, долбление в индивидуальном и мелкосерийном производствах.

4. Шероховатость поверхности деталей шпоночного соединения с призматической и сегментной шпонками выбирается по справочнику [3].

5. Привести эскизы деталей шпоночного соединения и проставить предельные размеры на них с буквенными и числовыми обозначениями отклонений; указать на деталях шероховатость поверхностей.

6. Описать контрольно-измерительные средства для комплексной и поэлементной проверки деталей шпоночного соединения.

Пример. Подобрать посадки призматической шпонки с пазами вала и втулки. Номинальный размер диаметра вала d = 30мм.

Решение. Номинальные размеры деталей шпоночного соеди­нения принимаем по ГОСТ 23360-78 [11]:

b= 8 мм - ширина шпонки,

h= 7 мм - высота шпонки.

Шпоночное соединение предназначено для серийного производства общего машиностроения. По ГОСТ 23360-78 выбираем посадки: соединение шпонка – паз вала , соединение шпонка - паз втулки .

После выбора числовых значений по ГОСТ 25347-82 [9] посадки запишутся: шпонка – паз вала , мм; шпонка - паз втулки , мм.

Расчеты предельных размеров, допусков, зазоров и натягов шпоночного соединения привести в пояснительной записке.

Принимаем шероховатость рабочих поверхностей шпонки Ra =2,5 мкм, паза вала - Rz= 20 мкм и паза втулки Rz =20 мкм, нерабочих поверхностей шпонки, паза вала и паза втулки - Rz =40 мкм.

Выбираем экономические способы окончательной обработки:

- шпонки - плоское шлифование;

- паза вала - фрезерование чистовое концевой фрезой;

- паза втулки - протягивание чистовое.

Перечень контрольно-измерительных средств, необходимых для контроля деталей шпоночного соединения, должен быть описан и пояснен эскизами соответствующих средств, пользуясь литературными источниками [3,5].

Схемы расположения полей допусков деталей приведены на рис. 4.1.

 

Рис. 4.1 Схема расположения полей допусков деталей посадок

шпонка-паз втулки и шпонка-паз вала

 

Эскизы деталей шпоночного соединения представлены на рис. 4.2.

 

Рис. 4.2 Эскизы шпоночного соединения и отдельно каждой детали

 

Далее в записке должны быть также приведены все необходимые расчеты, как это было сделано в задаче 1.

 

Задача 5. Допуски и посадки шлицевых соединений

Методические указания

При решении задачи необходимо руководствоваться заданием, указанным в таблице 1, приложения А в соответствии с заданным вариантом.

По данной теме необходимо выполнить следующие работы.

1. Выбрать способ центрирования и посадки элементов шлицевого соединения.

2. Определить предельные отклонения центрирующего и нецентрирующего диаметров, а также ширину пазов втулки и толщину зубьев вала.

3. Выбрать шероховатость сопрягаемых поверхностей деталей и обозначить её на эскизе; указать экономические способы окончательной обработки поверхностей шлицевого соединения, обеспечивающие заданную точность и шероховатость поверхности. Построить схемы расположения полей допусков выбранных посадок.

4. Указать контрольно-измерительные средства, применяемые для комплексной и поэлементной проверки шлицевых деталей на автотракторных заводах и ремонтных предприятиях.

5. Вычертить эскизы поперечных сечений шлицевого соединения (в сборе) и деталей, проставить посадочные и предельные поэлементные размеры (в буквенных и числовых обозначениях).

Номинальные размеры элементов деталей шлицевого соединения определяются по ГОСТ 1139-80 [14]. Исходя из назначения и условий работы заданного шлицевого соединения, выбирают способ центрирования и посадки центрирующих поверхностей. При выборе рекомендуется пользоваться литературой [1, 3].

На основании выбранных посадок и заданных номинальных размеров шлицевого соединения по справочнику [3] определяются их квалитеты, предельные отклонения.

Схемы расположения полей допусков деталей шлицевого соединения строятся по аналогии с деталями гладкого ци­линдрического соединения. Шероховатость поверхности деталей определяется по справочнику [3].

Средства комплексного и поэлементного контроля деталей шлицевого соединения на заводах массового и крупносерийного производства (автотракторные заводы) приведены в литературе [1,3,5]. Характерным для этого контроля является применение комплексных и поэлементных калибров. В работе необходимо кратко описать конструкции принятых калибров. На ремонтных предприя-

тиях комплексная проверка шлицевых деталей производится заменяемыми сопрягаемыми деталями. Измерение отдельных элементов шлицевых деталей осуществляется универсальными измерительными средствами.

Простановка на чертежах предельных размеров элементов шлицевого соединения производится по ГОСТ 1139-80.

Пример. Определить посадку шестерни на ведущий вал приводного шкива трактора "Беларусь".

Исходные данные:

z = 8 шт – количество шлицов;

d = 42 мм – внутренний диаметр;

D = 48 мм – наружный диаметр.

На основании исходных данных по справочнику [3] принимаем среднюю серию нагружения и определяем b = 8 мм, (где b – номинальный размер по ширине шлица).

Решение. Обоснование вида центрирования шлицевого соединения: приводной механизм служит для передачи значительных по величине крутящих моментов, при соединении подвижном принимаем посадку с зазором, центрирование по " D ", т.к. шестерня каретки в процессе работы редко перемещается по валу.

Сочетание полей допусков выбираем из группы полей допусков преимущественного применения. Условное обозначение рассматриваемого шлицевого соединения:

D – 8 х 42 х 48 х 8 .

Числовые значения предельных отклонений на размеры шлицевого соединения выбираем по таблицам стандарта ГОСТ 25347-82 [9].

Предельные размеры и отклонения элементов деталей шлицевого соединения, шероховатость поверхности и способы обработки их приведены в таблице 5.1.

 

Таблица 5.1 Предельные размеры, отклонения, шероховатость поверхности и способы окончательной (чистовой) обработки шлицевых поверхностей

 

Наименование элементов деталей шлицевого соединения Предель-ные размеры, мм Предельные отклонения, мкм Шероховатость поверхности, мкм Способ окончательной (чистовой) обработки
Верхнее Нижнее
Центрирующие элементы:
Отверстие 48 Н 7 +25   =1,25 протягивание
Вал   48 f 7   -25   -50   =0,62 шлифование
Ширина впадин отверстия 8 F 8   +35   +13   =1,25   протягивание
Толщина зубьев вала 8 f 8 -13   -35   =1,25   шлифование
Нецентрирующие элементы:
Отверстие 42 Н 11 +160   Rz =40 зенкерование
Вал 42-2,5   - 2500 Rz =40 фрезерование

 

Схемы расположения полей допусков элементов деталей, выбранных посадок шлицевого соединения приведены на рис. 5.1., а эскизы соединении и деталей – на рис.5.2.

 

 

Рис. 5.1 Схемы расположения полей допусков посадок элементов

шлицевого соединения

Рис.5.2 Эскизы шлицевого соединения и отдельно каждой детали

 

Задача 6. Расчет размерных цепей

Методические указания

При решении задачи необходимо руководствоваться заданием, указанным в таблице 1, приложения А, № рисунка, указанный в скобках, выбирается из приложения В согласно заданного варианта.

По данной теме необходимо выполнить следующие работы.

1. Представить в записке эскиз заданного узла, выявить составляющие звенья размерной цепи с заданным замыкающим размером.

2. Построить схему размерной цепи.

3. Проверить правильность установленных номинальных размеров составляющих звеньев цепи.

4. Определить квалитет звеньев размерной цепи.

5. Рассчитать размерную цепь.

Размерная цепь – это замкнутый контур взаимосвязанных размеров (звеньев) отдельной детали или сборочной единицы, например, узла редуктора.

В качестве составляющих звеньев для деталей являются их взаимосвязанные размеры, один из которых является замыкающим.

В сборочных единицах в качестве звеньев являются размеры деталей, составляющих размерную цепь, а замыкающим звеном, как правило, является зазор, либо пространственное положение одной или нескольких деталей относительно принятых базовых поверхностей.

Замыкающее звено размерной цепи характеризует точность, которую необходимо обеспечить при сборке (изготовлении) для нормальной эксплуатации рассматриваемой сборочной единицы (детали).

В общем случае целью расчета размерных цепей является решение одной из двух нижеследующих задач:

1.Прямая задача (проектная). По заданной точности замыкающего звена определяется точность составляющих звеньев, то есть по заданным предельным отклонениям и допуску замыкающего звена рассчитываются предельные отклонения и допуски составляющих звеньев.

2. Обратная задача (проверочная). По известным (заданным) допускам и предельным отклонениям, составляющих звеньев определяются предельные отклонения и погрешности замыкающего звена.

В зависимости от результатов решения прямой задачи используют несколько методов достижения точности замыкающего звена. В том случае, если в результате расчета точность размеров составляющих звеньев не превышает допустимой экономической точности размера их изготовления, обеспечивается полная взаимозаменяемость деталей при сборке (метод полной взаимозаменяемости).

Применяют также метод компенсации (применения набора прокладок), метод подгонки выбранного звена, метод регулировки и др.

 

Методические указания

Для успешного выполнения задачи студент должен разобраться в конструкции, выявить условия работы заданного узла, установить последовательность его сборки и разборки. Рекомендуемая методика выявления составляющих звеньев позволяет избежать лишних ошибок при проведении размерного анализа и облегчает решение задачи.

Номинальные размеры звеньев, составляющих размерную цепь, студентом назначаются приближенно по масштабу, в кото­ром вычерчен узел, причем исходным номинальным размером является заданный размер детали (обычно подшипника). При­нятые номинальные размеры следует уточнить с нормальными линейными размерами по стандарту [3]. Номинальные размеры стандартизованных деталей определяются по соответствующим ГОСТ (например, размер ширины колец подшипников качения [2,3]. Уплотняющие прокладки под крышками подшипников принимаются равными 0,5±0,05 мм по ГОСТ 9347-74 «Картон прокладочный и уплотнительные прокладки из него. Технические условия».

Студент в курсовой работе решает только одну простую цепь, решая первую задачу методом полной взаимозаменяемости без учета ее связей с другими размерными цепями узла.

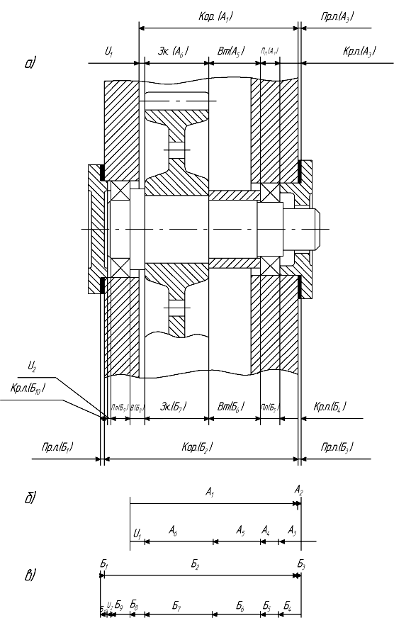
Пример 1. Решить размерную цепь узла редуктора (рис. 6.1.), замыкающим звеном которой является расстояние между торцом зубчатого колеса и корпусом, равное U1 =10±1,5 мм.

Примечание. В примере и в вариантах заданий допуск на несовпадение торцов зубчатых колес в учебных целях принят уменьшенным, а на зазоры несколько завышенными.

Решение. Выявим составляющие звенья размерной цепи. Рассматривая эскиз узла (рис.6.1. а), выявляем размерные связи, влияющие на точность замыкающего звена, записываем эти связи через сборочные базы, а именно: замыкающее звено (U1) – зубчатое колесо (Зк) – распорная втулка (Вт) - подшипник правый (Пп) - крышка правая (Кр.п) - прокладка правая (Пр.п) - корпус (Кор) -замыкающее звено (U1).

После выявления составляющих размеров вычерчиваем схему размерной цепи (рис.6.1.б) и определяем увеличивающие (А1 и А2) и уменьшающие (А3, А4, А5 и А6) размеры.

По эскизу (рис.6.1.а) определяем номинальные размеры составляющих звеньев:

- расстояние от обработанной до необработанной части корпуса – А1 = 275мм;

- размер уплотняющей прокладки по ГОСТ 9347-74 - А2 = 0,5±0,05мм;

- размер выступа крышки – А3 =25мм;

- монтажная высота роликоподшипника 316 [2] – А4 = 35,5-0,150 мм;

- размер распорной втулки – А5 = 95мм;

- размер зубчатого колеса от левого торца до правого торца ступицы – А6 =110мм.

Проверяем правильность установленных номинальных размеров составляющих звеньев:

U1 ,

где U1 – номинальный размер замыкающего звена;

m – число увеличивающих звеньев;

n – число уменьшающих звеньев.

Рассчитанный номинальный размер замыкающего звена соответствует заданному, следовательно, все номинальные размеры размерной цепи подобраны правильно.

По заданным предельным отклонениям определяем допуск замыкающего звена (ТU1):

ТU1 = ESU1 - EIU1 = (+1,5) – (–1,5) = 3,0 мм,

где ESU1 – верхнее отклонение; EIU1 – нижнее отклонение.

Результаты расчета заносим в графы 1,2,3 расчетной таблицы 6.1.

Значения единиц допуска для всех номинальных размеров звеньев (кроме

тех, для которых задан допуск) определяем расчетом, либо по таблице 6.2 и заносим в графу 4 расчетной таблицы 6.1 (Кизв.).

 

Среднее количество единиц допуска рассчитывается по формуле [1,3]:

 

где Кизв – число известных звеньев.

 

Таблица 6.1 Расчетная таблица к решению размерной цепи узла редуктора

 

Звенья размерной цепи
Обозначение звеньев   Наименование звеньев Номинальный размер, мм Значение единицы допуска Квалитет Допуск, мм Предельные отклонения, мм
Заданный и расчётный Принятый Заданный и расчётный Принятый Нижнее Верхнее
                   
А1 А2   А3 А4 А5 А6 U1   Увеличи-вающие   Уменьшаю-щие     Замыкаю-щее 0,5   25,0 35,5 95,0 3,243 –   1,303 – 2,168 2,168 – по ГОСТ 9347-74 –     – 0,81 0,10   0,32 0,15 0,54 0,54 3,00 1,35 0,10   0,32 0,15 0,54 0,54 3,00 -1,29 -0,05   -0,16 -0,15 -0,54 -0,54 -1,50 +0,06 +0,05   +0,16 +1,50

 

Таблица 6.2 Значение единицы допуска для интервалов размеров

 

Интервалы размеров, мм До 3 Св.3 до 6 Св.6 до 10 Св.10 до 18 Св.18 до 30 Св.30 до 50 Св. 50 до 80 Св. 80 до 120 Св. 120 до 180 Св.180 до 250 Св.250 до 315 Св.315 до 400 Св.400 до 500
i, мкм 0, 55 0,73 0,90 1,08 1,31 1,56 1,86 2,17 2,52 2,89 3,22 3,54 3,89

 

 

Рис. 6.1 Эскиз заданного узла редуктора:

а – эскиз узла; б – схема размерной цепи узла

 

Рассчитанное среднее количество единиц допуска деталей находится между 13 и 14 квалитетами (см.таблицу 6.3).

 

Таблица 6.3 Значения числа единиц допуска для квалитетов IT5 … IT17

 

Квалитет                          
Количество единиц допуска, а                          

 

13 квалитет с технологической точки зрения является экономическим. Обычно для решения размерных цепей методом полной взаимозаменяемости назначают 11, 12, 13 и 14 квалитеты. После принятия квалитета заполняем графу 5 расчетной таблицы 6.1.

По принятому квалитету (IТ13, a c = 250) определяем допуски всех составляющих размеров [3]и данные заносим в графу 7 расчетной таблицы 6.1.

Суммарный допуск составляющих размеров, равный расчетному значению допуска замыкающего звена, составляет:

.

Расчетный допуск замыкающего размера оказался меньше заданного (ТU1 = 3мм), следовательно, часть составляющих размеров должна быть выполнена с расширенными допусками. Величина, на которую могут быть увеличены допуски составля­ющих размеров, составит:

 

ТU1 – ТUP = 3,00 – 2,46 = 0,54 мм.

Из технологических соображений наиболее целесообразно расширить допуск составляющего размера А1 до:

 

ТА1P= 0,81 + 0,54 = 1,35 мм.

Допуск размера А1 соответствует примерно 14 квалитету и равен 1 =1,35мм. Условие TU1 =соблюдено. Результат расчета заносим в графы 6 и 8 таблицы 6.1.

Если ТUP окажется больше ТU1 , то допуск одного из составляющих размеров нужно уменьшить (обычно берут ту деталь, которую легче изготовить и измерить).

Определение предельных отклонений.

Определяем предельные отклонения составляющих размеров (кроме зависимого размера А1), при этом принимаем расположение полей допусков для охватываемых поверхностей (А5, А6)со знаком минус (–), для охватывающих со знаком плюс (+), а для остальных симметричное (±). Результаты заносим в графы 9 и 10 расчётной таблицы 6.1.

Определяем предельные отклонения зависимого размера по формулам:

а) верхнее предельное отклонение:

ESU1 = ES Аiув. EI Aiум;

ESU1 = (ESA1 + ESA2) – (EIA3 + EIA4+ EIA5 + EIA6);

1,5 = (ESA1 + 0,05) – (–0,16 – 0,15 – 0,54 – 0,54);

ESA1 = 1,5 – 1,44 = +0,06 мм;

б) нижнее предельное отклонение:

EI U1= EI Аiув ESAiум;

EI U1= (EIА1 + EIА2) – (ESA3 + ESA4 + ESA5 + ESA6);

–1,5 = (EIА1 – 0,05) – (0,16 + 0 + 0 + 0);

EIА1 = –1,5 + 0,21 = –1,29 мм.

 

Таким образом, размер зависимого звена составит:

А1 = мм.

Правильность расчёта можно проверить, определив допуск зависимого размера и сравнив его с принятым выше (ТА1 = 1,35мм), т.е.:

ТА1 = ESA1 – EIА1 = +0,06 – (–1,29) = 1,35 мм.

Убедившись в правильности расчёта, заносим предельные отклонения зависимого размера в расчётную таблицу 6.1.

 

Литература

1. Анухин В.И. Допуски и посадки. Учебное пособие. 4-е изд. - СПб.: Питер, 2007.- 207 с.: ил. – (Серия «Учебное пособие»), ISBN 968 -591180-331-5.

2. Дунаев П.Ф. Конструирование узлов и деталей машин: учеб.пособие для студ.высш.учеб.заведений /П.Ф.Дунаев, О.П.Леликов. - 9-е изд., перераб. и доп. – М.:Издательский центр «Академия», 2006. – 496 с., ISBN 5-7695-2727-6.

3. Допуски и посадки: Справочник: в 2 ч. /М.А.Палей, А.Б.Романов, В.А.Брагинский. - 8-е изд., перераб. и доп. - СПб.: Издательство «Политехника», 2001., ISBN 5-7325-0512-1.

4. Чижикова Т.В. Стандартизация, сертификация и метрология. Основы взаимозаменяемости. М.: КолосС, 2002.-240 с.: ил. – (Учебники и учеб.пособия для студентов вузов),., ISBN 5 – 9532-0008-0.

5. Васильев А.С. Основы метрологии и технические измерения. 2-е издание. М.: Машиностроение, 1988. – 192с.

6. Мамаев А.Д. Взаимозаменяемость, допуски и посадки гладких и типовых соединений. Курс лекций. – СПБ.: СПбГАУ, 2005.- 35 с., ISBN 5-85983-231-1.

7. ГОСТ 8.051-81. Погрешности, допускаемые при измерении линейных размеров до 500 мм. – Введ. 01.01.1982. Взамен ГОСТ 8.051-73. – М.: Изд-во стандартов, 1982. -10с.

8. ГОСТ 25346-89. Основные нормы взаимозаменяемости. Единая система допусков и посадок. Общие положения, ряды допусков и основных отклонений. Введ.01.01.90.Взамен ГОСТ25346-82. М.: Изд-во стандартов, 1989,-32с.

9. ГОСТ 25347-82. Основные нормы взаимозаменяемости. Единая система допусков и посадок. Поля допусков и рекомендуемые посадки. Введ. 01.07.83.–М.: Изд-во стандартов, 1982.-52с.

10. ГОСТ 3325-85. Подшипники качения. Поля допусков и технические требования к посадочным поверхностям валов и корпусов. Посадки. Введ.01.01.87. Взамен ГОСТ 3325-55.– М.: Изд-во стандартов,1986.-94с.

11. ГОСТ 23360-78. Основные нормы взаимозаменяемости. Соединения шпоночные с призматическими шпонками. Размеры шпонок и сечений пазов. Допуски и посадки. – Введ. 01.01.80. Взамен ГОСТ 8788-68, ГОСТ 8789-68, ГОСТ 7227-58 в части призматических шпонок.– М.: Изд-во стандартов, 1986. -16с.

12. ГОСТ 24071-97 (ИСО 3912-77). Основные нормы взаимозаменяемости. Сегментные шпонки и шпоночные пазы. Введ. 01.01.81. Взамен ГОСТ 24071-80. – М.: Изд-во стандартов, 1985. – 6с.

13. ГОСТ 24068-80. Основные нормы взаимозаменяемости. Соединения шпоночные с клиновыми шпонками. Размеры шпонок и сечений пазов. Допуски и посадки. Введ. 01.01.01. Взамен ГОСТ 8791-68, ГОСТ 8792-68, ГОСТ 8793-68. – М.: Изд-во стандартов, 1985, - 12с.

14. ГОСТ 1139-80. Основные нормы взаимозаменяемости. Соединения шлицевые прямобочные. Размеры и допуски. Введ. 01.0182. – М.: Изд-во стандартов, 1982, -9с.




Поделиться с друзьями:


Дата добавления: 2014-10-15; Просмотров: 4284; Нарушение авторских прав?; Мы поможем в написании вашей работы!


Нам важно ваше мнение! Был ли полезен опубликованный материал? Да | Нет



studopedia.su - Студопедия (2013 - 2026) год. Все материалы представленные на сайте исключительно с целью ознакомления читателями и не преследуют коммерческих целей или нарушение авторских прав! Последнее добавление




Генерация страницы за: 0.037 сек.