Студопедия

КАТЕГОРИИ:


Архитектура-(3434)Астрономия-(809)Биология-(7483)Биотехнологии-(1457)Военное дело-(14632)Высокие технологии-(1363)География-(913)Геология-(1438)Государство-(451)Демография-(1065)Дом-(47672)Журналистика и СМИ-(912)Изобретательство-(14524)Иностранные языки-(4268)Информатика-(17799)Искусство-(1338)История-(13644)Компьютеры-(11121)Косметика-(55)Кулинария-(373)Культура-(8427)Лингвистика-(374)Литература-(1642)Маркетинг-(23702)Математика-(16968)Машиностроение-(1700)Медицина-(12668)Менеджмент-(24684)Механика-(15423)Науковедение-(506)Образование-(11852)Охрана труда-(3308)Педагогика-(5571)Полиграфия-(1312)Политика-(7869)Право-(5454)Приборостроение-(1369)Программирование-(2801)Производство-(97182)Промышленность-(8706)Психология-(18388)Религия-(3217)Связь-(10668)Сельское хозяйство-(299)Социология-(6455)Спорт-(42831)Строительство-(4793)Торговля-(5050)Транспорт-(2929)Туризм-(1568)Физика-(3942)Философия-(17015)Финансы-(26596)Химия-(22929)Экология-(12095)Экономика-(9961)Электроника-(8441)Электротехника-(4623)Энергетика-(12629)Юриспруденция-(1492)Ядерная техника-(1748)

Проектирование организации производства




Выявление ведущих деталей изготовляемого оборудования (станка)

Одним из важнейших этапов проектирования является определение ведущих деталей станка. Необходимо выявить ведущие детали станка, их примерные габариты и основные технологические операции.

В качестве ведущих выбираются детали, определяющие выбор размеров основных типов станков для обработки базовых деталей (станин, корпусных деталей средних размеров), деталей типа тел вращения (наиболее длинных валов и ходовых винтов, крупных маховиков, венцов).

На рис. 3.3.1. приведена компоновка токарного станка

Рис. 3.3.1. Компоновка токарного станка: 1 – основание; 2 – передний поперечный суппорт; 3 – продольный суппорт; 4 – шпиндельная бабка; 5 – вертикальный суппорт; 6 – револьверная головка; 7 – станина; 8 – суппорт револьверной головки

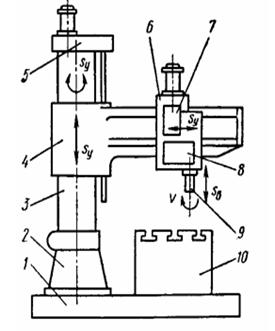
На рис. 3.3.2. приведена компоновка радиально-сверлильного станка. К фун­даментной плите 1 крепят неподвижную колонну 2 с поворотной гильзой 3. На гильзе установлена траверса 4, которая может перемещаться по ней и закрепляться с помощью механизма 5 на определенной высоте в зависимости от размеров обрабатываемой заготовки. Шпиндельная головка 6, внутрикоторой находятся коробка скоростей 7 и коробка подач 8, перемещается по направляющим траверсы в горизонтальном направлении и вместе с траверсой поворачивается вокруг колонны. Шпиндель 9 с инструментом получает главное вращательное движение и движение подачи (поступательное вертикальное). Заготовку закрепляют на столе 10 или непосредственно на фундаментной плите 1.

 

Рис. 3.3.2. Компоновка радиально-сверлильного станка

На рис. 3.3.3. приведена компоновка вертикально-фрезерного станка. В станине 1 размещена коробка скоростей 2. Шпиндельная головка 3 смонтирована в верхней части станины и может поворачиваться в вертикальной плоскости. При этом ось шпинделя 4 можно поворачивать под углом к плоскости рабочего стола 5. Главным движением является вращение шпинделя. Стол, на котором закрепляют заготовку, имеет продольное перемещение по направляющим салазок 6. Салазки имеют поперечное перемещение по направляющим консоли 7, которая перемещается по вертикальным направляющим станины. Таким образом, заготовка, установленная на столе 5, может получать подачу в трех направлениях. В консоли смонтирована коробка

Рис. 3.3.3. Компоновка вертикально-фрезерного станка   станка


Системный подход в организации производства на предприятии и его структурных подразделениях дает возможность осуществить проектирование предприятия как производственной системы. Можно выделить два этапа проектирования предприятия как системы: макропроектирование и организационное проектирование.

Макропроектирование осуществляется при создании новых предприятий, повышения уровня механизации, автоматизации производственного процесса. Организационное проектирование обосновывает решения, направленные на рациональное сочетание в пространстве и во времени основных элементов производственной системы и включает следующие этапы.

Этапы организационного проектирования:

• разработка организационной структуры предприятия;

• обоснование производственной структуры основных цехов предприятия;

• обоснование организационных решений по важнейшим видам обеспечения основного производства на предприятии;

• проверка экономической целесообразности разработанных проектов;

• осуществление пространственной планировки цехов и составление генерального плана предприятия.

Выполнение работ по проектированию предприятий включает следующие стадии:

• разработка или получение задания на проектирование структуры;

• разработка технического предложения;

• разработка технического проекта;

• разработка рабочего проекта.

Макропроектирование осуществляется при создании новых предприятий или производств.

Этапы макропроектирования включает:

• обоснование объектов и объемов производства продукции;

• выбор наиболее целесообразной организационно-правовой формы (ОФП);

• определение места расположения предприятия (МРП).

Последовательность организационного проектирования предприятия как производственной системы представлена на рис. 4.1.1.


 

 


Рис. 4.1.1. Алгоритм организационного проектирования производственной системы





Поделиться с друзьями:


Дата добавления: 2014-10-23; Просмотров: 332; Нарушение авторских прав?; Мы поможем в написании вашей работы!


Нам важно ваше мнение! Был ли полезен опубликованный материал? Да | Нет



studopedia.su - Студопедия (2013 - 2026) год. Все материалы представленные на сайте исключительно с целью ознакомления читателями и не преследуют коммерческих целей или нарушение авторских прав! Последнее добавление




Генерация страницы за: 0.01 сек.