Студопедия

КАТЕГОРИИ:


Архитектура-(3434)Астрономия-(809)Биология-(7483)Биотехнологии-(1457)Военное дело-(14632)Высокие технологии-(1363)География-(913)Геология-(1438)Государство-(451)Демография-(1065)Дом-(47672)Журналистика и СМИ-(912)Изобретательство-(14524)Иностранные языки-(4268)Информатика-(17799)Искусство-(1338)История-(13644)Компьютеры-(11121)Косметика-(55)Кулинария-(373)Культура-(8427)Лингвистика-(374)Литература-(1642)Маркетинг-(23702)Математика-(16968)Машиностроение-(1700)Медицина-(12668)Менеджмент-(24684)Механика-(15423)Науковедение-(506)Образование-(11852)Охрана труда-(3308)Педагогика-(5571)Полиграфия-(1312)Политика-(7869)Право-(5454)Приборостроение-(1369)Программирование-(2801)Производство-(97182)Промышленность-(8706)Психология-(18388)Религия-(3217)Связь-(10668)Сельское хозяйство-(299)Социология-(6455)Спорт-(42831)Строительство-(4793)Торговля-(5050)Транспорт-(2929)Туризм-(1568)Физика-(3942)Философия-(17015)Финансы-(26596)Химия-(22929)Экология-(12095)Экономика-(9961)Электроника-(8441)Электротехника-(4623)Энергетика-(12629)Юриспруденция-(1492)Ядерная техника-(1748)

Сталь прокатная угловая неравнополочная




Сталь прокатная угловая равнополочная

 

номер уголка Размеры, мм Площадь сечения, (см2) Коорди-ната центра тяжести, хc (см) Геометрические относительно осей     Ixy см     Масса 1 м, кг
b t х v u
Ix см4 ix см Iv, max см4 iv, max см Iu min см4 iu min см
                         
      2.96 1.53 7.11 1.55 11.27 1.95 2.95 1.00 4.16 2.32
  3.89 1.38 9.21 1.54 14.63 1.94 3.80 0.99 5.42 3.05
  4.80 1.42 11.20 1.53 17.77 1.92 4.63 0.98 6.57 3.77
5.6     4.38 1.42 13.10 1.73 20.79 2.18 5.41 1.11 7.69 3.44
  5.41 1.57 15.97 1.72 25.36 2.16 6.59 1.10 9.41 4.25
6.3     4.96 1.69 18.86 1.95 29.90 2.45 7.81 1.25 11.00 3.90
  6.13 1.74 23.10 1.94 36.60 2.44 9.52 1.25 13.70 4.81
  7.28 1.78 27.06 1.93 42.94 2.43 11.18 1.24 15.90 5.72
    4.5 6.20 1.88 29.04 2.16 46.03 2.72 12.04 1.39 17.00 4.87
  6.86 1.90 31.94 2.16 50.67 2.72 13.22 1.39 18.70 5.38
  8.15 1.94 37.58 2.15 59.64 2.71 15.52 1.38 22.10 6.39
  9.42 1.99 42.98 2.14 68.19 2.69 17.77 1.37 25.20 7.39
  10.67 2.02 48.16 2.12 76.35 2.68 19.97 1.36 28.20 8.37
7.5     7.39 2.02 39.53 2.31 62.65 2.91 16.41 1.49 23.1 5.80
  8.78 2.06 46.57 2.30 73.87 2.90 19.28 1.48 27.3 6.89
  10.15 2.10 53.34 2.29 84.61 2.89 22.07 1.47 31.2 7.96
  11.50 2.15 59.84 2.28 94.89 2.87 24.80 1.47 35.0 9.02
  12.83 2.18 66.10 2.27 104.72 2.86 27.48 1.46 38.6 10.07
    5.5 8.63 2.17 52.68 2.47 83.56 3.11 21.80 1.59 30.9 6.78
  9.38 2.19 56.97 2.47 90.40 3.11 23.54 1.58 33.4 7.36
  10.85 2.23 65.31 2.45 103.66 3.09 26.97 1.58 38.3 8.51
  12.30 2.27 73.36 2.44 116.39 3.08 30.32 1.57 43.0 9.65
      10.61 2.43 82.10 2.78 130.22 3.50 33.97 1.79 48.1 8.33
  12.28 2.47 94.30 2.77 149.67 3.49 38.94 1.78 55.4 9.64
  13.93 2.51 106.11 2.76 168.42 3.48 43.80 1.77 62.3 10.93
  15.60 2.55 118.00 2.75 186.00 3.46 48.60 1.77 68.0 12.20

 

Продолжение таблицы 10

 

номер уголка Размеры, мм Площадь сечения, (см2) Коорди-ната центра тяжести, хc (см) Геометрические характеристики относительно осей     Ixy см     Масса 1 м, кг
b t х v u
Ix см4 ix см Iv, max см4 iv, max см Iu min см4 iu min см
                         
    6.5 12.82 2.68 122.10 3.09 193.46 3.89 50.73 1.99 71.4 10.06
  13.75 2.71 130.59 3.08 207.01 3.88 54.16 1.98 76.4 10.79
  15.60 2.75 147.19 3.07 233.46 3.87 60.92 1.98 86.3 12.25
  19.24 2.83 178.95 3.05 283.83 3.84 74.08 1.96 110.0 15.10
  22.80 2.91 208.90 3.03 330.95 3.81 86.84 1.95 122.0 17.90
  26.28 2.99 237.15 3.00 374.98 3.78 99.32 1.94 138.0 20.63
  29.68 3.06 263.82 2.98 416.04 3.74 111.61 1.94 152.0 23.30
      15.15 2.96 175.61 3.40 278.54 4.29 72.68 2.19 106.0 11.89
  17.20 3.00 198.17 3.39 314.51 4.28 81.83 2.18 116.0 13.50
12.5     19.69 3.36 294.36 3.87 466.76 4.87 121.96 2.49 172.0 15.46
  22.00 3.40 327.48 3.86 520.00 4.86 135.38 2.48 192.0 17.30
  24.33 3.45 359.82 3.85 571.04 4.84 148.59 2.47 211.0 19.10
  28.89 3.53 422.23 3.82 670.02 4.82 174.43 2.46 248.0 22.68
  33.37 3.61 481.76 3.80 763.90 4.78 199.62 2.45 282.0 26.20
  37.77 3.68 538.56 3.78 852.84 4.75 224.29 2.44 315.0 29.65
      24.72 3.78 465.72 4.34 739.42 5.47 192.03 2.79 274.0 19.41
  27.33 3.82 512.29 4.33 813.62 5.46 210.96 2.78 301.0 21.45
  32.49 3.90 602.49 4.31 956.98 5.43 248.01 2.76 354.0 25.50
      31.43 4.30 774.2 4.96 1229.1 6.25 319.38 3.19 455.0 24.67
  34.42 4.35 844.2 4.95 1340.7 6.24 347.77 3.18 496.0 27.02
  37.39 4.39 912.9 4.94 1450.0 6.23 375.78 3.17 537.0 29.35
  43.57 4.47 1046.5 4.92 1662.1 6.20 430.81 3.16 615.0 33.97
  49.07 4.55 1175.2 4.89 1865.7 6.17 484.64 3.14 690.0 38.52
  54.79 4.63 1290.2 4.87 2061.0 6.13 537.46 3.13 771.0 43.01
  60.40 4.70 1418.9 4.85 2248.3 6.10 589.43 3.12 830.0 47.44
      38.8 4.85 1216.4 5.60 1933.4 7.06 499.78 3.59 716.0 30.47
  42.19 4.89 1316.6 5.59 2092.8 7.04 540.45 3.58 776.0 33.12
      47.10 5.37 1822.8 6.22 2896.2 7.84 749.40 3.99 1073.0 36.97
  50.85 5.42 1960.8 6.21 3116.2 7.83 805.35 3.98 1156.0 39.92
  54.60 5.46 2097.0 6.20 3333.0 7.81 861.00 3.97 1236.0 42.80
  61.98 5.54 2362.6 6.17 3755.4 7.78 969.74 3.96 1393.0 48.65
  76.54 5.70 2871.5 6.12 4560.4 7.72 1181.9 3.93 1689.0 60.08
  94.29 5.89 3466.2 6.06 5494.0 7.63 1438.4 3.91 2028.0 74.02
  111.54 6.07 4019.6 6.00 6351.1 7.55 1688.2 3.89 2332.0 87.56

Окончание таблицы 10

 

номер уголка Размеры, мм Площадь сечения, (см2) Коорди-ната центра тяжести, хc (см) Геометрические характеристики относительно осей     Ixy см     Масса 1 м, кг
b t х v u
Ix см4 ix см Iv, max см4 iv, max см Iu min см4 iu min см
                         
      60.38 5.91 2814.4 6.83 4470.2 8.60 1158.6 4.38 1655.0 47.40
  68.58 6.02 3175.4 6.80 5045.4 8.58 1305.5 4.36 1862.0 53.83
      78.40 6.75 4717.1 7.76 7492.1 9.78 1942.1 4.98 2775.0 61.55
  87.72 6.83 5247.2 7.73 8336.7 9.75 2157.8 4.96 3089.0 68.86
  96.96 6.91 5764.9 7.71 9159.7 9.72 2370.0 4.94 3395.0 76.11
  106.12 7.00 6270.3 7.69 9961.6 9.69 2579.0 4.93 3691.0 83.31
  119.71 7.11 7006.4 7.65   9.64 2887.3 4.91 4119.0 93.97
  133.12 7.23 7716.9 7.61   9.59 3189.9 4.90 4527.0 104.50
  141.96 7.31 8176.8 7.59   9.56 3389.0 4.89 4788.0 111.44

 


 
 

 


Таблица 11

 

номер профиля Размеры, мм Площадь сечения см2 Координаты центра тяжести, см Геометрические характеристики относительно осей Положение оси u tg a Масса 1 м, кг
В b t хс yс x y u Ixy см4
Ix см4 ix см Iy см4 iy см Iumin см4 iumin см
1. 2. 3. 4. 5. 6. 7. 8. 9. 10. 11. 12. 13. 14. 15. 16.
5.5/3.6       3.58 0.84 1.82 11.37 1.78 3.70 1.02 2.19 0.78 3.74 0.406 2.81
  4.41 0.88 1.87 13.82 1.77 4.48 1.01 2.65 0.78 4.50 0.404 3.46
6.3/4.0       4.04 0.91 2.03 16.33 2.01 5.16 1.13 3.07 0.87 5.25 0.397 3.17
  4.98 0.95 2.08 19.91 2.00 6.26 1.12 3.73 0.86 6.41 0.396 3.91
  5.90 0.99 2.12 23.31 1.99 7.29 1.11 4.36 0.86 7.44 0.393 4.63
  7.68 1.07 2.20 29.60 1.96 9.15 1.09 5.58 0.85 9.27 0.386 6.03
7/4.5       5.59 1.05 2.28 27.76 2.23 9.05 1.27 5.34 0.98 9.12 0.406 4.39
7.5/5       6.11 1.17 2.39 34.81 2.39 12.47 1.43 7.24 1.09 12.0 0.436 4.79
  7.25 1.21 2.44 40.92 2.38 14.60 1.42 8.48 1.08 14.1 0.435 5.69
  9.47 1.29 2.52 52.38 2.35 18.52 1.40 10.87 1.07 17.8 0.430 7.43
8/5       6.36 1.13 2.60 41.64 2.56 12.69 1.41 7.57 1.09 13.2 0.387 4.99
  7.55 1.17 2.65 48.98 2.55 14.85 1.40 8.88 1.08 15.5 0.386 5.92

 

номер профиля Размеры, мм Площадь сечения см2 Координаты центра тяжести, см Геометрические характеристики относительно осей Положение оси u tg a Масса 1 м, кг
В b t хс yс x y u Ixy см4
Ix см4 ix см Iy см4 iy см Iumin см4 iumin см
                               
9/5.6     5.5 7.86 1.26 2.92 65.28 2.88 19.67 1.58 11.77 1.22 20.54 0.384 6.17
  8.54 1.28 2.95 70.58 2.88 21.22 1.58 12.70 1.22 22.23 0.384 6.70
  11.18 1.36 3.04 90.87 2.85 27.08 1.56 16.29 1.21 28.33 0.380 8.77
10/6.3       9.59 1.42 3.23 98.29 3.20 30.58 1.79 18.20 1.38 31.5 0.393 7.53
  11.09 1.46 3.28 112.9 3.19 34.99 1.78 20.83 1.37 36.1 0.392 8.70
  12.57 1.50 3.32 127.0 3.18 39.21 1.77 23.38 1.36 40.5 0.391 9.87
  15.47 1.58 3.40 133.8 3.15 47.13 1.75 28.34 1.35 48.6 0.387 12.14
11/7     6.5 11.45 1.58 3.55 142.4 3.53 45.61 2.00 26.94 1.53 46.8 0.402 8.98
  13.93 1.64 3.61 171.5 3.51 54.64 1.98 32.31 1.52 55.9 0.400 10.93
12.5/8       14.06 1.80 4.01 226.5 4.01 73.73 2.29 43.40 1.76 74.7 0.407 11.04
  15.96 1.84 4.04 255.6 4.00 82.95 2.28 48.82 1.75 84.10 0.406 12.53
  19.70 1.92 4.14 311.6 3.98 100.5 2.26 59.33 1.74 102.0 0.404 15.47
  23.36 2.00 4.22 364.8 3.95 116.8 2.24 69.47 1.72 118.0 0.400 18.34
14/9       18.00 2.03 4.49 363.7 4.49 119.8 2.58 70.27 1.98 121.0 0.411 14.13
  22.24 2.12 4.58 444.5 4.47 145.5 2.56 85.51 1.96 147.0 0.409 17.46
16/10       22.87 2.24 5.19 606.0 5.15 186.0 2.85 110.4 2.20 194.00 0.391 17.96
  25.28 2.28 5.23 666.6 5.13 204.1 2.84 121.2 2.19 213.00 0.390 19.85
  30.04 2.36 5.32 784.2 5.11 238.8 2.82 142.1 2.18 249.00 0.388 23.59
  34.72 2.43 5.40 897.2 5.08 271.6 2.80 162.5 2.16 282.00 0.385 27.26
18/11       28.33 2.44 5.88 952.3 5.80 276.4 3.12 165.4 2.42 295.00 0.375 22.24
  33.69 2.52 5.97 1122.6 5.77 324.1 3.10 194.3 2.40 348.00 0.374 26.44
20/12.5       34.9 2.79 6.50 1449.0 6.45 446.4 3.58 263.8 2.75 465.00 0.392 27.37
  37.9 2.83 6.54 1568.2 6.43 481.9 3.57 285.0 2.74 503.00 0.392 29.74
  43.9 2.91 6.62 1800.8 6.41 550.8 3.54 326.5 2.73 575.00 0.390 34.43
  49.8 2.99 6.71 2026.1 6.38 616.7 3.52 367.0 2.72 643.00 0.388 39.07

 


 
 


Таблица 12

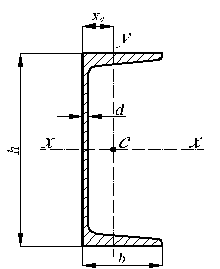
Сталь гарячекатанная. Балки двутавровые

 

 

номер балки Размеры балки, мм Площадь сечения см2 Масса 1м, кг Геометрические характеристики относительно осей
h b d t Ix см4 Wx см3 ix см Sx см3 Iy см4 Wy см3 iy см
                           
      4.5 7.2 12.0 9.46   39.7 4.06 23.0 17.9 6.49 1.22
      4.8 7.3 14.7 11.50   58.4 4.88 33.7 27.9 8.72 1.38
      4.9 7.5 17.4 13.70   81.7 5.73 46.8 41.9 11.50 1.55
      5.0 7.8 20.2 15.90   109.0 6.57 62.3 58.6 14.50 1.70
      5.1 8.1 23.4 18.40   143.0 7.42 81.4 82.6 18.40 1.88
18a     5.1 8.3 25.4 19.90   150.0 7.51 89.8 114.0 22.80 2.12
      5.2 8.4 26.8 21.00   184.0 8.28 104.0 115.0 23.10 2.07
20a     5.2 8.6 28.9 22.70   203.0 8.37 114.0 155.0 28.20 2.32
      5.4 8.7 30.6 24.00   232.0 9.13 131.0 157.0 28.60 2.27
22a     5.4 8.9 32.8 25.80   254.0 9.22 143.0 206.0 34.30 2.50
      5.6 9.5 34.8 27.30   289.0 9.97 163.0 196.0 34.50 2.37
24a     5.6 9.8 37.5 29.40   316.7 10.10 178.0 260.0 41.60 2.63
      6.0 9.8 40.2 31.50   371.1 11.20 210.0 260.0 41.50 2.54
27a     6.0 10.2 43.2 33.90   407.4 11.30 229.0 337.0 50.00 2.80
      6.5 10.2 46.5 36.50   472.0 12.30 268.0 337.0 49.90 2.69
30a     6.5 10.7 49.9 39.20   518.0 12.50 282.0 436.0 60.10 2.95
      7.0 11.2 53.8 42.20   597.0 13.50 339.0 419.0 59.90 2.79
      7.5 12.3 61.9 48.60   743.0 14.70 423.0 516.0 71.10 2.89
      8.3 13.0 72.6 57.00   953.1 16.20 545.0 667.0 86.10 3.03
      9.0 14.2 84.7 66.50   1230.0 18.10 708.0 808.0 101.00 3.09
      10.0 15.2 100.0 78.50   1589.0 19.90 919.0 1043.0 123.00 3.23
      11.0 16.5 118.0 92.60   2035.0 21.80 1181.0 1356.0 151.00 3.39
      12.0 17.8 138.0 108.0   2560.0 23.60 1491.0 1725.0 182.00 3.54

 


 

Таблица 13




Поделиться с друзьями:


Дата добавления: 2014-10-31; Просмотров: 619; Нарушение авторских прав?; Мы поможем в написании вашей работы!


Нам важно ваше мнение! Был ли полезен опубликованный материал? Да | Нет



studopedia.su - Студопедия (2013 - 2026) год. Все материалы представленные на сайте исключительно с целью ознакомления читателями и не преследуют коммерческих целей или нарушение авторских прав! Последнее добавление




Генерация страницы за: 0.008 сек.