Студопедия

КАТЕГОРИИ:


Архитектура-(3434)Астрономия-(809)Биология-(7483)Биотехнологии-(1457)Военное дело-(14632)Высокие технологии-(1363)География-(913)Геология-(1438)Государство-(451)Демография-(1065)Дом-(47672)Журналистика и СМИ-(912)Изобретательство-(14524)Иностранные языки-(4268)Информатика-(17799)Искусство-(1338)История-(13644)Компьютеры-(11121)Косметика-(55)Кулинария-(373)Культура-(8427)Лингвистика-(374)Литература-(1642)Маркетинг-(23702)Математика-(16968)Машиностроение-(1700)Медицина-(12668)Менеджмент-(24684)Механика-(15423)Науковедение-(506)Образование-(11852)Охрана труда-(3308)Педагогика-(5571)Полиграфия-(1312)Политика-(7869)Право-(5454)Приборостроение-(1369)Программирование-(2801)Производство-(97182)Промышленность-(8706)Психология-(18388)Религия-(3217)Связь-(10668)Сельское хозяйство-(299)Социология-(6455)Спорт-(42831)Строительство-(4793)Торговля-(5050)Транспорт-(2929)Туризм-(1568)Физика-(3942)Философия-(17015)Финансы-(26596)Химия-(22929)Экология-(12095)Экономика-(9961)Электроника-(8441)Электротехника-(4623)Энергетика-(12629)Юриспруденция-(1492)Ядерная техника-(1748)

Определение прочности таблеток на истирание




ОПРЕДЕЛЕНИЕ ТАЛЬКА

Около 1 г (точная навеска) порошка растертых таблеток обрабатывают в сосуде 200 мл теплой воды, жидкость отфильтровывают через беззольный фильтр и сосуд тщательно ополаскивают водой. Остаток на фильтре несколько раз промывают теплой водой (по 10 мл) до отсутствия видимого остатка после выпаривания капли промывной воды на часовом стекле. Фильтр с остатком высушивают, сжигают, прокаливают и взвешивают с точностью до 0,0001 г.

Если таблетки содержат несгораемые или нерастворимые в теплой воде вещества, то навеску таблеток после сжигания и прокаливания обрабатывают при нагревании 30 мл разведенной хлористоводородной кислоты, раствор фильтруют и остаток на фильтре промывают горячей водой до отсутствия в промывной воде реакции на хлориды. Фильтр с остатком высушивают, сжигают, прокаливают и взвешивают с точностью до 0,0001 г.

Определение аэросила проводят по этой же методике.

 

ПРИЛОЖЕНИЕ 2

Определение прочности проводится на устройстве для истирания таблеток, представ ленном на рис. 1.

Устройство состоит из барабана (а) диаметром 200 мм со съемной крышкой, по внутреннему периметру которого расположены 12 лопастей под углом 20° к касательной барабана, часового механизма и электрооборудования, обеспечивающего вращение барабана со скоростью 20 об/мин.

10 таблеток, обеспыленных и взвешенных с точностью до 0,001 г, помещают в барабан, привинчивают крышку и включают устройство на 5 мин, что соответствует 100 оборотам барабана. По истечении установленного времени таблетки обеспыливают и определяют их массу с точностью до 0,001 г.

Прочность таблеток на истирание в процентах (П) вычисляют по формуле:

где Рнач, Pкон — масса таблеток до и после испытания соответственно в граммах. Форма таблеток не должна изменяться в процессе испытания.

 

 
 

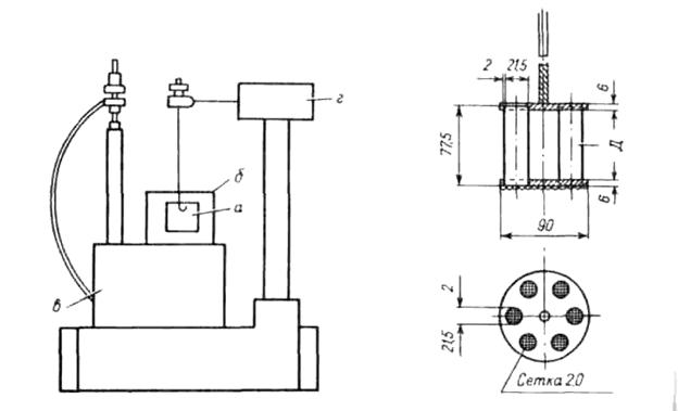
Рис. 2. Лабораторный идентификатор процесса распадаемости.

А - корзинка; б— сосуд для жидкости; в— термостатическое устройство; г- электро-

механическое устройство; д — стеклянная трубка.

 

ПРИЛОЖЕНИЕ 3




Поделиться с друзьями:


Дата добавления: 2014-11-25; Просмотров: 894; Нарушение авторских прав?; Мы поможем в написании вашей работы!


Нам важно ваше мнение! Был ли полезен опубликованный материал? Да | Нет



studopedia.su - Студопедия (2013 - 2026) год. Все материалы представленные на сайте исключительно с целью ознакомления читателями и не преследуют коммерческих целей или нарушение авторских прав! Последнее добавление




Генерация страницы за: 0.009 сек.