Студопедия

КАТЕГОРИИ:


Архитектура-(3434)Астрономия-(809)Биология-(7483)Биотехнологии-(1457)Военное дело-(14632)Высокие технологии-(1363)География-(913)Геология-(1438)Государство-(451)Демография-(1065)Дом-(47672)Журналистика и СМИ-(912)Изобретательство-(14524)Иностранные языки-(4268)Информатика-(17799)Искусство-(1338)История-(13644)Компьютеры-(11121)Косметика-(55)Кулинария-(373)Культура-(8427)Лингвистика-(374)Литература-(1642)Маркетинг-(23702)Математика-(16968)Машиностроение-(1700)Медицина-(12668)Менеджмент-(24684)Механика-(15423)Науковедение-(506)Образование-(11852)Охрана труда-(3308)Педагогика-(5571)Полиграфия-(1312)Политика-(7869)Право-(5454)Приборостроение-(1369)Программирование-(2801)Производство-(97182)Промышленность-(8706)Психология-(18388)Религия-(3217)Связь-(10668)Сельское хозяйство-(299)Социология-(6455)Спорт-(42831)Строительство-(4793)Торговля-(5050)Транспорт-(2929)Туризм-(1568)Физика-(3942)Философия-(17015)Финансы-(26596)Химия-(22929)Экология-(12095)Экономика-(9961)Электроника-(8441)Электротехника-(4623)Энергетика-(12629)Юриспруденция-(1492)Ядерная техника-(1748)

Методы измерения длины волокон




Разные, наиболее типичные методы определения длины волокон можно разделить на четыре основные группы:

1. Промер отдельных волокон:

- промер длины распрямленных волокон;

- промер курвиметром зарисовки не распрямленных волокон или их проекции на экран.

2. Сортировка штапеля или деление штапеля волокон на классы длин:

- сортировка штапеля вручную;

- приготовление и сортировка штапеля на механических приборах;

- сортировка штапеля прибором с выпускным валиком;

- сортировка штапеля в гребенном поле.

3. Промер длины волокон без деления штапеля на группы длин:

- для штапеля с двумя ровными концами;

- просвечиванием штапеля на фотоэлементном приборе.

4. Промеривание длины волокон в продукте (потоке) очесыванием зажатой части продукта.

Рассмотрим сущность нескольких самых распространенных методов измерения длины волокон.

1.1. Промер отдельных распрямленных волокон. Его обычно осуществляют вручную с помощью миллиметровой линейки. Для химических волокон этот метод является стандартным (ГОСТ 10213.4-2002). Все волокна, которые входят в отобранную навеску, поочередно укладывают на пластину, смазанную касторовым маслом, и распрямляют до полного устранения извитости. Результаты измерений записывают по соответствующим классам длин с интервалом 1 мм Фактическую среднюю длину волокна подсчитывают по формуле (3.1.), а ее отклонение от номинальной - по формуле (3.8). Содержание длинных волокон определяют по формуле (3.9). Измерение длины промером отдельных волокон используют для проверки точности определения длины на приборах.

2.1. Сортировка и измерение длины отдельных штапелей. Такой метод применяется для определения длины натуральной шерсти (ГОСТ 21244-75). Из каждой лабораторной пробы выделяют все сохраненные штапели (косицы). Каждый штапель (косицу) распрямляют по линейке, не растягивая извитости, и измеряют длину основной массы волокон. Измеренные штапели (косицы) группируют по классам длин с интервалом 10 мм и определяют раздельно их массу. Среднюю массодлину подсчитывают по формуле (3.2) или по формулам ГОСТ 21244-75.

2.2.Приготовление штапеля с ровным концом и его рассортировкой по длинам на механических приборах. При определении длины хлопкового волокна по ГОСТ 3274.5—72 используется штапель с одним ровным концом. Его приготавливают вручную или на механическом штапелеукладчике.

Для сортировки волокон по классам от максимальных к минимальным длинам используют другой прибор — рассортировщик. Зажим с приготовленным штапелем с ровным концом снимают из штапелеукладчика и устанавливают на столике механизма подачи рассортировщика.

Хлопковые волокна рассортировывают на группы до 16 или 20 мм. Собрав каждую группу волокон, их взвешивают. Полученные данные используют для подсчета характеристик длины и неравномерности волокон по длине.

2.3. Сортировка штапеля на приборе с выпускными валиками системы Жукова. Этот прибор ГОСТ 3274.5—72 рекомендуется для определения длины хлопкового волокна. Приготовленный из пробной ленты вручную штапель с одним ровным концом с помощью зажима закладывают в прибор. Волокна, рассортированные по группам с разницей в длине 2 мм, взвешивают раздельно.

Установлено, что группа волокон со средней длиной L частично попадает в обе смежные с ней группы. Чтобы определить истинную массу группы волокон длиной L, необходимо от массы волокон группы длиной (L — 2) взять 17%, группы длиной L — 46%, а группы длиной (L + 2)—37% и полученные величины сложить. Для ускорения таких подсчетов используют счетный круг.

2.4. Определение длины волокон с помощью электроемкостного прибора алметра. Этот прибор используют для определения длины хлопкового, шерстяного и химического волокон. Сначала готовят штапель с ровным концом на укладчике с гребенным полем.

Когда из пробы набран штапель массой 300-350 мг, прибор автоматически останавливается. Для лучшей распрямленности и параллелизации волокон в штапеле его повторно укладывают на гребенное поле.

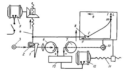
Приготовленный штапель 1 (рис. 3.4) закладывают между двумя прозрачными пленками в приемное устройство 2, которое автоматически с постоянной малой скоростью продвигается внутрь прибора, где штапель 1 проходит через конденсатор 3 с пластинами шириной 1,8 мм. Поскольку диэлектрическая постоянная воздуха меньше постоянной волокон, то изменение емкости конденсатора пропорционально изменению массы слоя штапеля и соответствующий этому электрический ток в цепи после усилителя 4 поступает в преобразователь сигнала, вычислительное устройство 5 и самописец 6. На нем записываются диаграммы распределения и штапельная по массе волокон и по числу, а также фиброграмма. Вычислительное устройство 5 автоматически определяет среднюю арифметическую длину La, среднюю массодлину Lд, а также соответствующие коэффициенты вариации длины волокон.

 
 

Рис. 3.4. Схема алметра

 

3.2. Определение длины на сервофибрографе. При определении длины на сервофибрографе (фотоэлементный прибор) большое значение имеет приготовление штапеля-бородки.

Толщина бородки определяется косвенным путем по изменению силы пропускаемого через нее света от источника и силы тока в фотоэлементе.

По записанной фиброграмме определяют среднюю и эффективную длину, а также показатель равномерности.

Рис. 3.5. Схема сервофибрографа

 




Поделиться с друзьями:


Дата добавления: 2014-11-16; Просмотров: 2499; Нарушение авторских прав?; Мы поможем в написании вашей работы!


Нам важно ваше мнение! Был ли полезен опубликованный материал? Да | Нет



studopedia.su - Студопедия (2013 - 2026) год. Все материалы представленные на сайте исключительно с целью ознакомления читателями и не преследуют коммерческих целей или нарушение авторских прав! Последнее добавление




Генерация страницы за: 0.011 сек.