Студопедия

КАТЕГОРИИ:


Архитектура-(3434)Астрономия-(809)Биология-(7483)Биотехнологии-(1457)Военное дело-(14632)Высокие технологии-(1363)География-(913)Геология-(1438)Государство-(451)Демография-(1065)Дом-(47672)Журналистика и СМИ-(912)Изобретательство-(14524)Иностранные языки-(4268)Информатика-(17799)Искусство-(1338)История-(13644)Компьютеры-(11121)Косметика-(55)Кулинария-(373)Культура-(8427)Лингвистика-(374)Литература-(1642)Маркетинг-(23702)Математика-(16968)Машиностроение-(1700)Медицина-(12668)Менеджмент-(24684)Механика-(15423)Науковедение-(506)Образование-(11852)Охрана труда-(3308)Педагогика-(5571)Полиграфия-(1312)Политика-(7869)Право-(5454)Приборостроение-(1369)Программирование-(2801)Производство-(97182)Промышленность-(8706)Психология-(18388)Религия-(3217)Связь-(10668)Сельское хозяйство-(299)Социология-(6455)Спорт-(42831)Строительство-(4793)Торговля-(5050)Транспорт-(2929)Туризм-(1568)Физика-(3942)Философия-(17015)Финансы-(26596)Химия-(22929)Экология-(12095)Экономика-(9961)Электроника-(8441)Электротехника-(4623)Энергетика-(12629)Юриспруденция-(1492)Ядерная техника-(1748)

Кондиционирование




Промышленная вентиляция и

 

Эффективным средством обеспечения надлежащей чистоты и допустимых параметров микроклимата воздуха рабочей зоны является промышленная вентиляция. Вентиляцией называется организованный и регулируемый воздухообмен, обеспечивающий удаление из помещения загрязненного воздуха и подачу на его место свежего.

По способу перемещения воздуха различают системы естественной и механической вентиляции. Система вентиляции, перемещение воздушных масс в которой осуществляется благодаря возникающей разности давлений снаружи и внутри здания, называется естественной вентиляцией. Разность давлений обусловлена разностью плотностей наружного и внутреннего воздуха (гравитационное давление, или тепловой напор ΔРт ) и ветровым напором ΔРв, действующим на здание. Расчетный тепловой напор (Па)

 

,

где g — ускорение свободного падения, м/с2; h — вертикальное расстояние между центрами приточного и вытяжного отверстий, м; rН и rВ — плотность наружного и внутреннего воздуха, кг/м.

При действии ветра на поверхностях здания с подветренной стороны образуется избыточное давление, на заветренной стороне — разряжение. Распределение давлений по поверхности зданий и их величина зависят от направления и силы ветра, а также от взаиморасположения зданий. Ветровой напор (Па)

 

 

где kп коэффициент аэродинамического сопротивления здания; значение kп не зависит от ветрового потока, определяется эмпирическим путем и для геометрически подобных зданий остается постоянным; wв скорость ветрового потока, м/с.

Неорганизованная естественная вентиляция — инфильтрация, или естественное проветривание — осуществляется сменой воздуха в помещениях через неплотности в ограждениях и элементах строительных конструкций благодаря разности давления снаружи и внутри помещения.

 

Рис. 1.6. Схема естественной канальной вытяжной вентиляции:

h1 — нижний ярус окон; h2 верхний ярус окон

Рис. 1.7. Принципиальная схема дефлектора ЦАГИ:

1—патрубок; 2—диффузор; 3— кольцо; 4—зонт

 

Такой воздухообмен зависит от случайных факторов—силы и направления ветра, температуры воздуха внутри и снаружи здания, вида ограждений и качества строительных работ. Инфильтрация может быть значительной для жилых зданий и достигать 0,5...0,75 объема помещения в час, а для промышленных предприятий до 1...1,5 ч-1.

Для постоянного воздухообмена, требуемого по условиям поддержания чистоты воздуха в помещении, необходима организованная вентиляция. Организованная естественная вентиляция может быть вытяжной без организованного притока воздуха (канальная) и приточно-вытяжной с организованным притоком воздуха (канальная и бесканальная аэрация). Канальная естественная вытяжная вентиляция без организованного притока воздуха (рис. 1.6) широко применяется в жилых и административных зданиях. Расчетное гравитационное давление таких систем вентиляции определяют при температуре наружного воздуха +5 ºС, считая, что все давление падает в тракте вытяжного канала, при этом сопротивление входу воздуха в здание не учитывается. При расчете сети воздуховодов прежде всего производят ориентировочный подбор их сечений исходя из допустимых скоростей движения воздуха в каналах верхнего этажа 0,5...0,8 м/с, в каналах нижнего этажа и сборных каналах верхнего этажа 1,0 м/с и в вытяжной шахте 1…l,5 м/с.

Для увеличения располагаемого давления в системах естественной веннтиляции на устье вытяжных шахт устанавливают насадки —дефлекторы (рис. 1.7). Усиление тяги происходит благодаря разрежению, вохникающему при обтекании дефлектора ЦАГИ. Разрежение, создаваемое дафлектором, и количество удаляемого воздуха зависят от скорости ветра и могут быть определены с помощью номограмм.

 

Рис. 1.8. Схема аэрации промышленного эдаи

 

Аэрацией называется организованна естественная общеобменная вентиляция помещений в результате поступления удаления воздуха через открывающиеся фрамуги окон и фонарей. Воздухообмен помещении регулируют различной степенью открывания фрамуг (в зависимости от температуры наружного воздуха, скоро. сти и направления ветра). Как способ вентиляции аэрация нашла широкое применение в промышленных зданиях, характеризующихся технологическими процессами с большими тепловыделениями (прокатных цехах, литейных, кузнечных). Поступление наружного воздуха в цех в холодный период года организуют так, чтобы холодный воздух не попадал в рабочую зону. Для этого наружный воздух подают в помещение через проемы, расположенные не ниже 4,5 м от пола (рис. 1.8), в теплый период года приток наружного воздуха ориентируют через нижний ярус оконных проемов (А = 1,5...2 м).

При расчете аэрации определяют требуемую площадь проходного сечения проемов и аэрационных фонарей для подачи и удаления необходимого количества воздуха. Исходными данными являются конструктивные размеры помещений, проемов и фонарей, величины теплопродукции в помещении, параметры наружного воздуха. Согласно СНиП 2.04.05—91 расчет рекомендуется выполнять на действие гравитационного давления. Ветровой напор надлежит учитывать только при решении вопросов защиты вентиляционных проемов от задувания.

При расчете аэрации составляют материальный (по воздуху) и тепловой баланс помещения:

где Gпритi и Gвытi —масса поступающего и удаляемого воздуха, обладающего теплоемкостью Ср и температурой t.

 

Основным достоинством аэрации является возможность осуществлять большие воздухообмены без затрат механической энергии. h недостаткам аэрации следует отнести то, что в теплый период года эффективность аэрации может существенно падать вследствие повышения температуры наружного воздуха и, кроме того, поступающий? помещение воздух не очищается и не охлаждается.

Вентиляция, с помощью которой воздух подается в производственные помещения или удаляется из них по системам вентиляционных каналов с использованием для этого специальных механических побудителей, называется механической вентиляцией.

 

 

 

Рис 1.9. Принципиальная схема вентиляции для выбора

соотношения объемов приточного и удаляемого воздуха:

 

Механическая вентиляция по сравнению с естественной имеет ряд преимуществ: большой радиус действия вследствие значительного давления, создаваемого вентилятором; возможность изменять или сохранять необходимый воздухообмен независимо от температуры наружного воздуха и скорости ветра; подвергать вводимый в помещение воздух предварительной очистке, осушке или увлажнению, подогреву или охлаждению; организовывать оптимальное воздухораспре-деление с подачей воздуха непосредственно к рабочим местам; улавливать вредные выделения непосредственно в местах их образования и предотвращать их распространение по всему объему помещения, а также возможность очищать загрязненный воздух перед выбросом его в атмосферу. К недостаткам механической вентиляции следует отнести значительную стоимость сооружения и эксплуатации ее и необходимость проведения мероприятий по борьбе с шумом.

Системы механической вентиляции подразделяются на общеобменные, местные, смешанные, аварийные и системы кондиционирования.

Общеобменная вентиляция предназначена для ассимиляции избыточной теплоты, влаги и вредных веществ во всем объеме рабочей зоны помещений. Она применяется в том случае, если вредные выделения поступают непосредственно в воздух помещения, рабочие места не фиксированы, а располагаются по всему помещению. Обычно объем воздуха Lпр, подаваемого в помещение при общеобменной вентиляции, равен объему воздуха Lв, удаляемого из помещения. Однако в ряде случаев возникает необходимость нарушить это равенство (рис. 1.9).

Так,в особо чистых цехах электровакуумного производства, для которых большое значение имеет отсутствие пыли, объем притока воздуха сдается больше объема вытяжки, за счет чего создается некоторый избьггок давления в производственном помещении, что исключает попадание пыли из соседних помещений. В общем случае разница между объемами приточного и вытяжного воздуха не должна превышать 10...15 %.

 

 

Рис. 1.10. Схема истечения воздуха Рис. 1.11. Спектры скорости

из круглого отверстия воздуха при всасывании в трубу

 

Существенное влияние на параметры воздушной среды в рабочей зоне оказывают правильная организация и устройство приточных и вытяжных систем.

Воздухообмен, создаваемый в помещении вентиляционными устройствами, сопровождается циркуляцией воздушных масс в несколько раз больших объема подаваемого или удаляемого воздуха. Возникающая циркуляция является основной причиной распространения и перемешивания вредных выделений и создания в помещении разных по концентрации и температуре воздушных зон. Так, приточная струя, входя в помещение, вовлекает в движение окружающие массы воздуха, в результате чего масса струи в направлении движения будет возрастать, а скорость падать. При истечении из круглого отверстия (рис. 1.10) на расстоянии 15 диаметров от устья скорость струи составит 20 % от первоначальной скорости v0, а объем перемещающегося воздуха увеличится в 4,6 раза.

Скорость затухания движения воздуха зависит от диаметра выпускного отверстия d0: чем больше d0, тем медленнее затухание. Если нужно быстрее погасить скорость приточных струй, подаваемый воздух должен быть разбит на большое число мелких струй.

Существенное влияние на траекторию струи оказывает температура приточного воздуха: если температура приточной струи выше температуры воздуха помещения, то ось загибается вверх, если ниже, то вниз и при изотермическом течении она совпадает с осью приточного отверстия.

К всасывающему отверстию (вытяжная вентиляция) воздух натекает со всех сторон, вследствие чего и падение скорости происходит весьма интенсивно (рис. 1.11). Так, скорость всасывания на расстоянии одного диаметра от отверстия круглой трубы равна 5 % vo.

 

 

Рис 1.12. Схемы организации воздухообмена при

общеобменной вентиляции

 

Циркуляция воздуха в помещении и соответственно концентрация примесей и распределение параметров микроклимата зависит не только от наличия приточных и вытяжных струй, но и от их взаимного расположения. Различают четыре основные схемы организации воздухообмена при общеобменной вентиляции: сверху—вверх (рис. 1.12, о); сверху —вверх (рис. 1.12, б); снизу —вверх (рис. 1.12, в); снизу — вниз (рис. 1.12, г). Кроме этих схем применяют комбинированные. Наиболее равномерное распределение воздуха достигается в том случае, когда приток равномерен по ширине помещения, а вытяжка сосредоточена.

При организации воздухообмена в помещениях необходимо учитывать и физические свойства вредных паров и газов и в первую очередь их плотность. Если плотность газов ниже плотности воздуха, то удаление загрязненного воздуха происходит в верхней зоне, а подача свежего — непосредственно в рабочую зону. При выделении газов с плотностью большей плотности воздуха из нижней части помещения Удаляется 60...70 % и из верхней части 30...40 % загрязненного воздуха. В помещениях со значительными выделениями влаги вытяжка влажного воздуха осуществляется в верхней зоне, а подача свежего в количестве 60 % — в рабочую зону и 40 % -— в верхнюю зону.

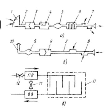
По способу подачи и удаления воздуха различают четыре схемы jбщеобменной вентиляции (рис. 1.13): приточная, вытяжная, приточно-вытяжная и системы с рециркуляцией. По приточной системе воздух сдается в помещение после подготовки его в приточной камере. В мещении при этом создается избыточное давление, за счет которого воздух уходит наружу через окна, двери или в другие помещения. риточную систему применяют для вентиляции помещений, в которые елательно попадание загрязненного воздуха из соседних помещений или холодного воздуха извне.

Установки приточной вентиляции (рис. 1.13, а) обычно состоят из дующих элементов: воздухозаборного устройства 1 для забора чис того воздуха; воздуховодов 2, по которым воздух подается в помещение, фильтров 3 для очистки воздуха от пыли, калориферов 4, в которых подогревается холодный наружный воздух; побудителя движения 5, увлажнителя-осушителя б, приточных отверстий или насадков 7, через которые воздух распределяется по помещению. Воздух из помещения удаляется через неплотности ограждающих конструкций.

 

 

Рис. 1.13. Схемы общеобменной вещ» ляции:

а—приточная вентиляция; б вытяж» вентиляция; в приточно-вытяжная

вентиляция с рециркуляцией

 

Вытяжная система предназначена для удаления воздуха из помещения. При этом в нем создается пониженное давление и воздух соседних помещений или наружный воздух поступает в данное помещение. Вытяжную систему целесообразно применять в том случае, если вредные выделения данного помещения не должны распространяться на соседние, например, для вредных цехов, химических и биологических лабораторий.

Установки вытяжной вентиляции (рис. 1.13,6) состоят из вытяжных отверстий или насадков 8, через которые воздух удаляется из помещения; побудителя движения 5; воздуховодов 2, устройств для очистки воздуха от пыли или газов 9, устанавливаемых для защиты атмосферы, и устройства для выброса воздуха 10, которое располагается на 1...1.5 м выше конька крыши. Чистый воздух поступает в производственное помещение через неплотности в ограждающих конструкциях, что является недостатком данной системы вентиляции, так как неорганизованный приток холодного воздуха (сквозняки) может вызвать простудные заболевания.

Приточно-вытяжная вентиляция — наиболее распространенная система, при которой воздух подается в помещение приточной системой, а удаляется вытяжной; системы работают одновременно.

В отдельных случаях для сокращения эксплуатационных расходов на нагревание воздуха применяют системы вентиляции с частичной рециркуляцией (рис. 1.13, в). В них к поступающему снаружи воздуху подмешивают воздух, отсасываемый из помещения П вытяжной системой. Количество свежего и вторичного воздуха регулируют клапанами 11 и 12. Свежая порция воздуха в таких системах обычно составляет 20... 10 % общего количества подаваемого воздуха. Систему вентиляция с рециркуляцией разрешается использовать только для тех помещений, в которых отсутствуют выделения вредных веществ или выделяющиеся вещества относятся к 4-му классу опасности и концентрация их в воздуxe, подаваемом в помещение, не превышает 30 % ПДК. Применение рециркуляции не допускается и в том случае, если в воздухе помещений содержатся болезнетворные бактерии, вирусы или имеются резко выраженные неприятные запахи.

Отдельные установки общеобменной механической вентиляции могут не включать всех указанных выше элементов. Например, приточные системы не всегда оборудуются фильтрами и устройствами для изменения влажности воздуха, а иногда приточные и вытяжные установки могут не иметь сети воздуховодов.

Расчет потребного воздухообмена при общеобменной вентиляции производят исходя из условий производства и наличия избыточной теплоты, влаги и вредных веществ. Для качественной оценки эффективности воздухообмена применяют понятие кратности воздухообмена kВ — отношение объема воздуха, поступающего в помещение в единицу времени L (мУч), к объему вентилируемого помещения Vп3). При правильно организованной вентиляции кратность воздухообмена должна быть значительно больше единицы.

При нормальном микроклимате и отсутствии вредных выделений количество воздуха при общеобменной вентиляции принимают в зависимости от объема помещения, приходящегося на одного работающего. Отсутствие вредных выделений — это такое их количество в технологическом оборудовании, при одновременном выделении которых в воздухе помещения концентрация вредных веществ не превысит предельно допустимую. В производственных помещениях с объемом воздуха на каждого работающего Vпi < 20 м3 расход воздуха на одного работающего Li должен быть не менее 30 м/ч. В помещении с Vпi =20...40 м3 L пi > 20 м3/ч. В помещениях с Vпi > 40 м3 и при наличии естественной вентиляции воздухообмен не рассчитывают. В случае отсутствия естественной вентиляции (герметичные кабины) расход воздуха на одного работающего должен составлять не менее 60 м3/ч.

Необходимый воздухообмен для всего производственного помещения в целом

L = nLi,

где n — число работающих в данном помещении.

При определении потребного воздухообмена для борьбы с тепло-избытками составляют баланс явной теплоты помещения:

 

 

где ΔQизб—избытки явной теплоты всего помещения, кВт; и —теплосодержание приточного и удаляемого воздуха, кВт; Ср — Удельная теплоемкость воздуха, кДж/(кг-°С); tпр и tух — температура приточного и уходящего воздуха, ºС.

В летнее время вся теплота, которая поступает в помещещ* является суммой теплоизбытков. В холодный период года часть теп ловыделений в помещении расходуется на компенсацию теплопотерь

 

Температура наружного воздуха в теплый период года принимается равной средней температуре самого жаркого месяца в 13 ч. Расчетные температуры для теплого и холодного периодов года приведены в СНиП 2.04.05—91. Температура удаляемого из помещения воздуха

где tрз —температура воздуха в рабочей зоне, °С; а — градиент температуры по высоте помещения, °С/м; для помещений с qя < 23 Вт/м3 можно применять а == 0,5 °С/м. Для «горячих» цехов с qя > 23 Вт/м - а = 0,7... 1,5 °С/м; Н— расстояние от пола до центра вытяжных отверстий, м.

Исходя из баланса явной теплоты помещения определяют необходимый воздухообмен (°С/ч) для ассимиляции теплоизбытков

где rпр — плотность приточного воздуха, кг/м3.

 

При определении необходимого воздухообмена для борьбы с вредными парами и газами составляют уравнение материального баланса вредных выделений в помещении за время dr (с):

где Gврdt—масса вредных выделений в помещении, обусловленных работой технологического оборудования, мг; Lпрспрdt — масса вредных выделений, поступающих в помещение вместе с приточным воздухом, мг; Lвсвdt—масса вредных выделений, удаляемых из помещения вместе с уходящим воздухом, мг; Vпdc dt с— масса вредных паров или газов, накопившихся в помещении за время dt; Спр и Св — концентрация вредных веществ в приточном и удаляемом воздухе, мг/м3.

При равенстве масс приточного и удаляемого воздуха и, принимая, что благодаря вентиляции вредные вещества не накапливаются в производственном помещении, т.е. dc/ dt = 0 и Св = спдк, получим L = (Gврпдк Спр ). Концентрация вредных веществ в удаляемом воздухе равна концентрации их в воздухе помещения и не должна превышать ПДК. Концентрация вредных веществ в приточном воздухе шать д быть по возможности минимальной и не превышать 30 % ПДК. ^Необходимый воздухообмен для удаления избыточной влаги опре-—»шт исходя из материального баланса по влаге

где Gвл - масса водяного пара, выделяющегося в помещение, г/с; rпр —плотность воздуха, поступающего в помещение, кг/м3; d допустимое содержание водяного пара в воздухе помещения при нормативной температуре и относительной влажности воздуха, г/кг; dnp — влагосодержание приточного воздуха, г/кг.

При одновременном выделении в рабочую зону вредных веществ, не обладающих однонаправленным действием на организм человека, например теплоты и влаги, необходимый воздухообмен принимают по наибольшей массе воздуха, полученной в расчетах для каждого вида производственных выделений.

При одновременном выделении в воздух рабочей зоны нескольких вредных веществ однонаправленного действия (триоксид и диоксид серы; оксид азота совместно с оксидом углерода и др., см. СН 245—71) расчет общеобменной вентиляции надлежит производить путем суммирования объемов воздуха, необходимых для разбавления каждого вещества в отдельности до его условных предельно допустимых концентраций [с,], учитывающих загрязнения воздуха другими веществами. Эти концентрации меньше нормативных Спдк и определяютсяиз уравнения .

С помощью местной вентиляции необходимые метеорологические параметры создаются на отдельных рабочих местах. Например, улавливание вредных веществ непосредственно у источника возникновения, вентиляция кабин наблюдения и т.д. Наиболее широкое распространение находит местная вытяжная локализующая вентиляция. Основной метод борьбы с вредными выделениями заключается в устройстве и организации отсосов от укрытий.

Конструкции местных отсосов могут быть полностью закрытыми, полуоткрытыми или открытыми (рис. 1.14). Наиболее эффективны закрытые отсосы. К ним относятся кожухи, камеры, герметично или плотно укрывающие технологическое оборудование (рис. 1.14, ж). Если такие укрытия устроить невозможно, то применяют отсосы с частичным укрытием или открытые: вытяжные зонты, отсасывающие панели, тяжные шкафы, бортовые отсосы и др.

Один из самых простых видов местных отсосов — вытяжной зонт (рис. 1.14, ж). Он служит для улавливания вредных веществ, имеющих меньшую плотность, чем окружающий воздух. Зонты устанавливают над ваннами различного назначения, электро- и индукционными печами и над отверстиями для выпуска металла и шлака из вагранок. Зонты делают открытыми со всех сторон и частично открытыми: с одной, двух и трех сторон. Эффективность работы вытяжного зонта зависит от размеров, высоты подвеса и угла его раскрытия. Чем больше размеры и чем ниже установлен зонт над местом выделения веществ, тем он эффективнее. Наиболее равномерное всасывание обеспечивается при угле раскрытия зонта менее 60°.

Отсасывающие панели применяют для удаления вредных выделений, увлекаемых конвективными токами, при таких ручных операциях, как электросварка, пайка, газовая сварка, резка металла и т.п. Вытяжные шкафы—наиболее эффективное устройство по сравнению с отсосами, так как почти полностью укрывают источник вредных веществ. Незакрытыми в шкафах остаются лишь проемы для обслуживания, через которые воздух из помещения поступает в шкаф. Форму проема выбирают в зависимости от характера технологических операций.

Необходимый воздухообмен в устройствах местной вытяжной венянии рассчитывают, исходя из условия локализации примесей, Являющихся из источника образования. Требуемый часовой объем всасываемого воздуха определяют как произведение площади приемных отверстий отсоса Г(м) на скорость воздуха в них. Скорость воздуха проеме отсоса v (м/с) зависит от класса опасности вещества и типа воздухоприемника местной вентиляции (v = 0,5...5 м/с).

Смешанная система вентиляции является сочетанием элементов местной и общеобменной вентиляции. Местная система удаляет вредные вещества из кожухов и укрытий машин. Однако часть вредных веществ через неплотности укрытий проникает в помещение. Эта часть удаляется общеобменной вентиляцией.

Аварийная вентиляция предусматривается в тех производственных помещениях, в которых возможно внезапное поступление в воздухе большого количества вредных или взрывоопасных веществ. Производительность аварийной вентиляции определяют в соответствии с требованиями нормативных документов в технологической части проекта. Если такие документы отсутствуют, то производительность аварийной вентиляции принимается такой, чтобы она вместе с основной вентиляцией обеспечивала в помещении не менее восьми воздухообменов за 1 ч. Система аварийной вентиляции должна включаться автоматически при достижении ПДК вредных выделений или при остановке одной из систем общеобменной или местной вентиляции. Выброс воздуха аварийных систем должен осуществляться с учетом возможности максимального рассеивания вредных и взрывоопасных веществ в атмосфере.

 

 

Рис. 1.14. Устройства местной вентиляции:

а — укрытие-бокс; 6 — бортовые отсосы (1 — однобортовой; 2 —двухбортовой); в — боковые отсосы (1 – односторонний, 2 – угловой); г – отсос от рабочих столов; д - отсос витражного типа; е – вытяжные шкафы (1 – с верхним отсосом, 2 – с нижним отсосом, 3 – с комбинированным отсосом); ж — вытяжные зонты (/ — прямой; 2 — наклонный)

 

Для создания оптимальных метеорологических условий в производственных помещениях применяют наиболее совершенный вид промышленной вентиляции — кондиционирование воздуха. Кондиционированием воздуха называется его автоматическая обработка с целью поддержания в производственных помещениях заранее заданных метеорологических условий независимо от изменения наружных условий и режимов внутри помещения. При кондиционировании автоматически регулируется температура воздуха, его относительная влажность и скорость подачи в помещение в зависимости от времени года, наружых метеорологических условий и характера технологического процес-са в помещении. Такие строго определенные параметры воздуха создаются в специальных установках, называемых кондиционерами. В ряде случаев помимо обеспечения санитарных норм микроклимата воздуха в кондиционерах производят специальную обработку: ионизацию, дезодорацию, озонирование и т.п.

 

 

 

Рис. 1.15. Схема кондиционера:

/—заборный воздуховод; 2— фильтр; 3— соединительный воздуховод;

4— калориферы первой и второй ступени подогрева; 5— форсунки

воздухоочистки; 6— переходник-каплеуловитель; 7~-калориферы второй

ступени; 8 — вентилятор; 9 — отводной воздуховод

 

Кондиционеры могут быть местными (для обслуживания отдельньк помещений) и центральными (для обслуживания нескольких отдельных помещений). Принципиальная схема кондиционера представлена на рис. 1.15. Наружный воздух очищается от пыли в фильтре 2 и поступает в камеру /, где он смешивается с воздухом из помещения (при рециркуляции). Пройдя через ступень предварительной температурной обработки 4, воздух поступает в камеру II, где он проходит специальную обработку (промывание воздуха водой, обеспечивающую заданные параметры относительной влажности, и очистку воздуха), и в камеру /// (температурная обработка). При температурной обработке зимой воздух подогревается частично за счет температуры воды, поступающей в форсунки 5, и частично, проходя через калориферы 4 и 7. Летом воздух охлаждается частично подачей в камеру //охлажденной (артезианской) воды, и главным образом в итоге работы специальных холодильных машин.

Кондиционирование воздуха играет существенную роль не только с точки зрения безопасности жизнедеятельности, но и во многих технологических процессах, при которых не допускаются колебания температуры и влажности воздуха (особенно в радиоэлектронике). Поэтому установки кондиционирования в последние годы находят все более широкое применение на промышленных предприятиях.

 




Поделиться с друзьями:


Дата добавления: 2014-11-16; Просмотров: 555; Нарушение авторских прав?; Мы поможем в написании вашей работы!


Нам важно ваше мнение! Был ли полезен опубликованный материал? Да | Нет



studopedia.su - Студопедия (2013 - 2026) год. Все материалы представленные на сайте исключительно с целью ознакомления читателями и не преследуют коммерческих целей или нарушение авторских прав! Последнее добавление




Генерация страницы за: 0.011 сек.