Студопедия

КАТЕГОРИИ:


Архитектура-(3434)Астрономия-(809)Биология-(7483)Биотехнологии-(1457)Военное дело-(14632)Высокие технологии-(1363)География-(913)Геология-(1438)Государство-(451)Демография-(1065)Дом-(47672)Журналистика и СМИ-(912)Изобретательство-(14524)Иностранные языки-(4268)Информатика-(17799)Искусство-(1338)История-(13644)Компьютеры-(11121)Косметика-(55)Кулинария-(373)Культура-(8427)Лингвистика-(374)Литература-(1642)Маркетинг-(23702)Математика-(16968)Машиностроение-(1700)Медицина-(12668)Менеджмент-(24684)Механика-(15423)Науковедение-(506)Образование-(11852)Охрана труда-(3308)Педагогика-(5571)Полиграфия-(1312)Политика-(7869)Право-(5454)Приборостроение-(1369)Программирование-(2801)Производство-(97182)Промышленность-(8706)Психология-(18388)Религия-(3217)Связь-(10668)Сельское хозяйство-(299)Социология-(6455)Спорт-(42831)Строительство-(4793)Торговля-(5050)Транспорт-(2929)Туризм-(1568)Физика-(3942)Философия-(17015)Финансы-(26596)Химия-(22929)Экология-(12095)Экономика-(9961)Электроника-(8441)Электротехника-(4623)Энергетика-(12629)Юриспруденция-(1492)Ядерная техника-(1748)

Бурение механизмами. Ударно-канатное бурение




ВОЗВЕДЕНИЕ ЗЕМЛЯНЫХ СООРУЖЕНИЙ БУРЕНИЕМ

 

1. Вид продукции. Вертикальные цилиндрические выемки в грунте: шпуры – глубиной до 5,0 м и диаметром до 75 мм; при больших размерах – скважины.

Назначение:

- для геологических изысканий (скважины);

- для устройства водяных скважин, в т. ч. и артезианских;

- при устройстве свай (скважины);

- для размещения рабочих «игл» инъекторов и эжекторов: тепловых, криогенных, инъекционных при оттаивании или замораживании грунта или его усилении (шпуры), откачке воды при водопонижении и т.п.;

- для размещения зарядов ВВ при использовании взрывной технологии (шпуры и скважины);

- для выявления подземных препятствий (шпуры).

2. Состав процесса:

- разработка грунта;

- подача грунта из скважины на поверхность (очистка забоя);

- обеспечение устойчивости стенок выемки.

Процесс циклически повторяется.

3. Вход в процесс - общий при возведении земсооружений.

4. Ресурсы. Материалы: грунты – I–XII групп.

Техника: определяется видом технологии.

Ручное бурение. Вид продукции – шпуры диаметром Ø = 40-70 мм в грунтах I-IV групп.

Техника – ручной бур; электросверло; ручной пневматический перфоратор типа отбойного молотка. Эти инструменты состоят из бура (шнекового или лопастного), секционной наращиваемой штанги и привода: ручного, электрического, пневматического. Эффективность бурения (в зависимости от рода грунта) – 1,0…3,0 пм/ч.

Вид продукции: скважины диаметром до 150 мм и глубиной до 50 м в плотных грунтах для геологических изысканий.

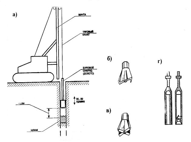
Техника: станки ударно-канатного бурения типа УКБ, буровой снаряд с буром зубильной или крестовой формы, снаряд для очистки забоя – желонка (рис. 4.12).

Состав процесса:

- постановка агрегата на точку;

- работа бура (падение с высоты примерно 1,0 м с частотой 40…60 уд/мин);

- после проходки участка скважины (около 0,5 м) буровой снаряд заменяется на желонку;

- желонкой выполняется очистка скважины;

- после очистки желонка заменяется буровым снарядом и процесс, циклически повторяясь, продолжается до достижения проектной отметки.

 

 

 

Рис. 2.12. Станок ударно-канатного бурения:

а – станок в работе; б – коронка бура зубильной формы; в – то же, крестовой формы; г - желонка

Вращательное бурение. Более производительный, но и более дорогой вид бурения.

Вид продукции: скважины диаметром до 300 мм и глубиной до 50 м во всех видах грунтов.

Техника: установки вращательного бурения, буры – шарошечные, плоские, кольцевые, шнековые, лопастные.

Шарошечными бурами устраиваются скважины диаметром до 300 мм и глубиной до 50 м в плотных грунтах. Очистка забоя – глинистым раствором. Устойчивость стенок скважины обеспечивают глинистый раствор или обсадные трубы.

Плоскими бурами типа РХ (рыбий хвост) устраиваются скважины диаметром до 150 мм и глубиной до 30 м в грунтах средней плотности. Устойчивость стенок скважины обеспечивает глинистый раствор. Очистка забоя выполняется глинистым раствором.

Колонковое бурение. Выполняется для отбора образцов грунта (колонков) ненарушенной структуры с заданной глубины. Для этого при вращательном бурении при достижении заданной отметки производится замена коронки рабочего бура на кольцевую коронку – стакан. С помощью стакана выбуривается колонок естественной структуры данного грунта, затем поднимается на поверхность и передается в лабораторию для необходимых испытаний. Коронка бура меняется на рабочую, и процесс бурения продолжается до следующей отметки исследования грунта.

Более детально техника и технология бурения будет рассмотрена в разделе «Технология устройства свай».

 

 




Поделиться с друзьями:


Дата добавления: 2014-11-18; Просмотров: 808; Нарушение авторских прав?; Мы поможем в написании вашей работы!


Нам важно ваше мнение! Был ли полезен опубликованный материал? Да | Нет



studopedia.su - Студопедия (2013 - 2025) год. Все материалы представленные на сайте исключительно с целью ознакомления читателями и не преследуют коммерческих целей или нарушение авторских прав! Последнее добавление




Генерация страницы за: 0.012 сек.