Студопедия

КАТЕГОРИИ:


Архитектура-(3434)Астрономия-(809)Биология-(7483)Биотехнологии-(1457)Военное дело-(14632)Высокие технологии-(1363)География-(913)Геология-(1438)Государство-(451)Демография-(1065)Дом-(47672)Журналистика и СМИ-(912)Изобретательство-(14524)Иностранные языки-(4268)Информатика-(17799)Искусство-(1338)История-(13644)Компьютеры-(11121)Косметика-(55)Кулинария-(373)Культура-(8427)Лингвистика-(374)Литература-(1642)Маркетинг-(23702)Математика-(16968)Машиностроение-(1700)Медицина-(12668)Менеджмент-(24684)Механика-(15423)Науковедение-(506)Образование-(11852)Охрана труда-(3308)Педагогика-(5571)Полиграфия-(1312)Политика-(7869)Право-(5454)Приборостроение-(1369)Программирование-(2801)Производство-(97182)Промышленность-(8706)Психология-(18388)Религия-(3217)Связь-(10668)Сельское хозяйство-(299)Социология-(6455)Спорт-(42831)Строительство-(4793)Торговля-(5050)Транспорт-(2929)Туризм-(1568)Физика-(3942)Философия-(17015)Финансы-(26596)Химия-(22929)Экология-(12095)Экономика-(9961)Электроника-(8441)Электротехника-(4623)Энергетика-(12629)Юриспруденция-(1492)Ядерная техника-(1748)

Типовые стальные колонны




для зданий оборудованных мостовыми кранами

грузоподъемностью от 10 до 50 т

для высоты Но=10,8 - 18,0 м, шаге колонн крайнего ряда 6/12 м

и среднего ряда 12 м

по серии 1.424.3-7 выпуск 1


 

 

Рис. В.2 Схемы колонн крайнего и среднего рядов для зданий,

оборудованных мостовыми кранами грузоподъемностью от 10 до 50 т,

для высоты Но=10,8…18,0 м, при шаге колонн крайних рядов 6 и 12 м

и среднего ряда 12 м, по серии 1.424.3 – 7.1

 

Таблица В.2 - Основные габаритные размеры колонн при шаге 6 м

Qкр, т режим Обозначение размера Высота, м
10,8 12,0 13,2 14,4 15,6 16,8 18,0
Размеры, мм
легкий средний тяжелый h1         - - -
h2         - - -
г.р.         - - -
z         - - -
легкий средний тяжелый h1         - - -
h2         - - -
г.р.         - - -
z         - - -
16/3,2 легкий средний тяжелый h1         - - -
h2         - - -
г.р.         - - -
z         - - -
20/5 легкий средний тяжелый h1              
h2              
г.р.              
z              
32/5 легкий средний   h1              
h2              
г.р.              
z              
32/5 тяжелый h1 -            
h2 -            
г.р. -            
z -            
50/12,5 h1 -            
h2 -            
г.р. -            
z -            

Табл. В.3

Таблица В.4 - Основные габаритные размеры колонн при шаге 12 м

Qкр, т режим Обозначение размера Высота, м
10,8 12,0 13,2 14,4 15,6 16,8 18,0
Размеры, мм
легкий средний тяжелый h1         - - -
h2         - - -
г.р.         - - -
z         - - -
легкий средний тяжелый h1         - - -
h2         - - -
г.р.         - - -
z         - - -
16/3,2 легкий средний тяжелый h1         - - -
h2         - - -
г.р.         - - -
z         - - -
20/5 легкий средний тяжелый h1              
h2              
г.р.              
z              
32/5 легкий средний   h1              
h2              
г.р.              
z              
32/5 тяжелый h1 -            
h2 -            
г.р. -            
z -            
50/12,5 h1 -            
h2 -            
г.р. -            
z -            

 

Выбор марок надкрановых частей колонн

Крайний ряд Средний ряд

Таблица В.5 - Марки надкрановых частей

  Ряд колонн Наличие проходов вдоль крановых путей Шаг колонн, м Высота надкрановой части колонны h2, м
3,4 3,8 4,0 4,4 4,6 5,0
  Крайний   Без проходов     А1-1 - А2-1 - А3-1 -
А1-2 - А2-2 - А3-2 -
- - - - А3-3 -
    - А4-1 - А5-1 - А6-1
- А4-2 - А5-2 - А6-2
- А4-3 - А5-3 - А6-3
- А4-4 - А5-4 - А6-4
- А4-5 - А5-5 - А6-5
    Средний     Без проходов     - Б1-1 - Б2-1 - Б3-1
- Б1-2 - Б2-2 - Б3-2
- Б1-3 - Б2-3 - Б3-3
- Б1-4 - Б2-4 - Б3-4
- Б1-5 - Б2-5 - Б3-5

 

Примечание. Принятые обозначения: А – тип для колонны крайнего ряда;

Б – тип для колонны среднего ряда; Первая цифра – высота надкрановой части колонны h2; Вторая цифра – номер сечения по несущей способности таблица В.6.

 

 

Таблица В.6 - Сечение надкрановой части колонны

(составное сварное, в зависимости от несущей способности)

 

 

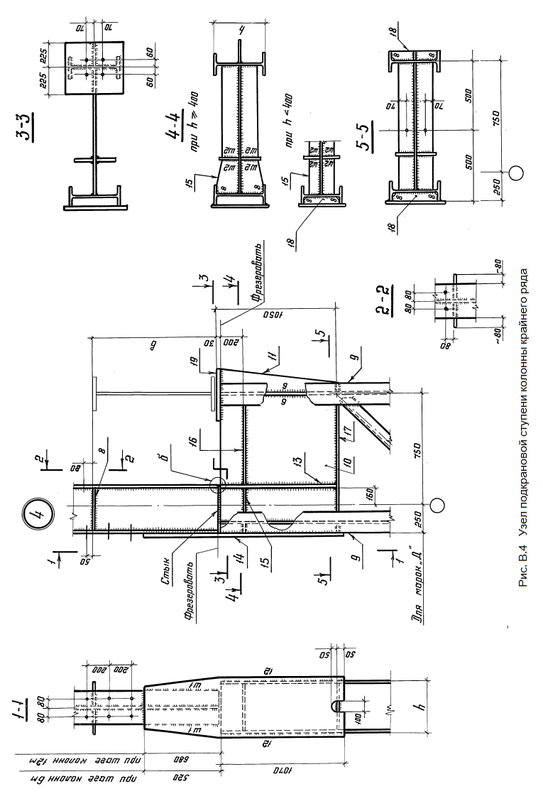
Подкрановая часть колонны запроектирована сквозного сечения с ветвями выполненными из широкополочных (Ш) или нормальных (Б) двутавров.

Подкрановая ступень запроектирована в виде сварной балки стенки.

Решетка подкрановых частей колонн запроектирована двухплоскостной из прокатных уголков; крепление к ветвям бесфасоночное.

Базы колонн запроектированы раздельными для каждой ветви; опирание фрезерованного торца ветви осуществляется на заранее поставленную и выверенную опорную плиту со строганой верхней поверхностью.

 

 

Таблица В.10 - Размеры ветвей подкрановой части колонн марки

Д 1-…Д 26- из стали марки 14Г2

 

  Марка Марка двутавра при номере сечения ветвей колонны Раскосы* из уголка
         
Д 1 - 30Б2 35Б2 30Ш1 - - 75х5/80х6
Д 2 - 30Б2 35Б2 30Ш1 - - 75х5/80х6
Д 3 - 30Б2 35Б2 30Ш1 - - 75х5/80х6
Д 4 - 30Б2 35Б2 30Ш1 30Ш3 - 75х5/80х6
Д 5 - 30Б2 35Б2 35Б2 - - 75х5/80х6
Д 6 - 30Б2 35Б2 30Ш1 45Б2 - 75х5/80х6
Д 7 - 30Б2 35Б2 40Б2 45Б2 - 75х5/80х6
Д 8 - 30Б2 35Б2 40Б2 45Б2 - 75х5/80х6
Д 9 - 30Б2 35Б2 40Б2 45Б2 - 75х5/80х6
Д 10 - 35Б2 40Б2 45Б2 50Б2 - 75х5/80х6
Д 11 - 35Б2 40Б2 45Б2 - - 75х5/80х6
Д 12 - 35Б2 40Б2 45Б2 50Б1 - 75х5/80х6
Д 13 - 35Б2 40Б2 45Б2 50Б1 - 75х5/80х6
Д 14 - 30Б2 35Б2 30Ш1 30Ш3 35Ш1 80х7
Д 15 - 30Б2 35Б2 30Ш1 30Ш3 35Ш2 80х7/90х7
Д 16 - 30Б2 35Б2 30Ш1 30Ш3 35Ш2 80х7/90х7
Д 17 - 30Б2 35Б2 30Ш1 30Ш3 35Ш2 80х7/90х7
Д 18 - 30Б2 35Б2 30Ш1 30Ш3 35Ш2 80х7/90х7
Д 19 - 30Б2 35Б2 30Ш1 30Ш3 35Ш2 80х7/90х7
Д 20 - 35Б2 30Ш1 45Б2 35Ш2 40Ш1 80х7/90х7
Д 21 - 35Б2 45Б2 45Б2 50Б2 40Ш1 80х7/90х7
Д 22 - 40Б2 45Б2 50Б2 40Ш1 40Ш2 80х7/90х7
Д 23 - 40Б2 45Б2 50Б2 55Б2 50Ш1 80х7/90х7
Д 24 - 40Б2 45Б2 50Б2 55Б2 60Б1 80х7/90х7
Д 25 - 40Б2 45Б2 50Б2 55Б2 60Б2 80х7/90х7
Д 26 - 40Б2 45Б2 50Б2 55Б2 60Б2 80х7/90х7

Примечание: *Первое сечение раскоса для номеров сечений ветвей колонны 1 и 2, второе – для 3…5

Таблица В.11 - Размеры ветвей подкрановой части колонн

марки Е 1-…. Д 13- из стали марки 14Г2

 

Марка Марка двутавра при номере сечения ветвей колонны Раскосы* из уголка
         
Е 1 - 35Б2 30Ш1 30Ш3 35Ш1 35Ш3 100х7
Е 2 - 35Б2 30Ш1 30Ш3 35Ш2 40Ш1 100х7
Е 3 - 35Б2 30Ш1 30Ш3 35Ш1 35Ш3 100х7
Е 4 - 35Б2 30Ш1 30Ш3 35Ш2 40Ш1 100х7
Е 5 - 35Б2 30Ш1 30Ш3 35Ш2 40Ш1 100х7
Е 6 - 35Б2 30Ш1 30Ш3 35Ш2 40Ш1 90х7/100х7
Е 7 - 35Б2 30Ш1 30Ш3 35Ш2 40Ш1 90х7/100х7
Е 8 - 35Б2 30Ш1 30Ш3 35Ш2 40Ш1 90х7/100х7
Е 9 - 30Ш1 30Ш3 35Ш2 40Ш1 40Ш2 90х7/100х7
Е 10 - 30Ш1 45Б2 50Б2 40Ш1 50Ш1 90х7/100х7
Е 11 - 40Б2 45Б2 50Б2 40Ш1 50Ш1 90х7/100х7
Д 12 - 40Б2 45Б2 50Б2 55Б2 50Ш1 90х7/100х7
Д 13 - 40Б2 45Б2 50Б2 55Б2 50Ш1 90х7/100х7

Примечание: *Первое сечение раскоса для номеров сечений ветвей колонны 1, второе – для 2…5

 

 

Таблица В.12 - Размеры анкерных плиток

Примечание: Работать совместно с рисунком В.7

 

 


Приложение Г

 




Поделиться с друзьями:


Дата добавления: 2014-12-08; Просмотров: 6009; Нарушение авторских прав?; Мы поможем в написании вашей работы!


Нам важно ваше мнение! Был ли полезен опубликованный материал? Да | Нет



studopedia.su - Студопедия (2013 - 2026) год. Все материалы представленные на сайте исключительно с целью ознакомления читателями и не преследуют коммерческих целей или нарушение авторских прав! Последнее добавление




Генерация страницы за: 0.012 сек.