Студопедия

КАТЕГОРИИ:


Архитектура-(3434)Астрономия-(809)Биология-(7483)Биотехнологии-(1457)Военное дело-(14632)Высокие технологии-(1363)География-(913)Геология-(1438)Государство-(451)Демография-(1065)Дом-(47672)Журналистика и СМИ-(912)Изобретательство-(14524)Иностранные языки-(4268)Информатика-(17799)Искусство-(1338)История-(13644)Компьютеры-(11121)Косметика-(55)Кулинария-(373)Культура-(8427)Лингвистика-(374)Литература-(1642)Маркетинг-(23702)Математика-(16968)Машиностроение-(1700)Медицина-(12668)Менеджмент-(24684)Механика-(15423)Науковедение-(506)Образование-(11852)Охрана труда-(3308)Педагогика-(5571)Полиграфия-(1312)Политика-(7869)Право-(5454)Приборостроение-(1369)Программирование-(2801)Производство-(97182)Промышленность-(8706)Психология-(18388)Религия-(3217)Связь-(10668)Сельское хозяйство-(299)Социология-(6455)Спорт-(42831)Строительство-(4793)Торговля-(5050)Транспорт-(2929)Туризм-(1568)Физика-(3942)Философия-(17015)Финансы-(26596)Химия-(22929)Экология-(12095)Экономика-(9961)Электроника-(8441)Электротехника-(4623)Энергетика-(12629)Юриспруденция-(1492)Ядерная техника-(1748)

Осветление воды в фильтрах-осветителях




 

Если применением одного коагулянта невозможно достичь желаемых результатов, используют флокулянты, которые ускоряют образование крупных хлопьев, или предусматривают хлорирование обрабатываемой воды. В качестве флокулянта применяют полиакриламид (ПАА). Его дозировка лежит в пределах 0,1-1,0 мг/л, считая на 100% продукт. Необходимая доза хлора определяется экспериментально, обычно она составляет 5-20 мг/л, остаточное содержание хлора в коагулированной воде не должно превышать 1 мг/л.

Сущность процесса флокуляции состоит в том, что ионогенные группы высокомолекулярного ПАА адсорбируют различные микрочастицы, образующиеся при коагуляции (рис. 2.2). В результате образуются крупные структурированные хлопья, легко выделяющиеся из воды. Доза ПАА обычно составляет 0,5—2,0 мг/дм.

 

Рисунок 2.2 – Связывание коагуляционных микрочастиц флокулянтом:

1 – адсорбирующая группа; 2 – микрочастица; 3 – внутримолекулярная связь; 4 – молекула флокулянта.

 

Флокуляция не заменяет процесс коагуляции, а лишь позволяет снизить расход коагулянта. На электростанциях ПАА применяют в периоды ухудшенного хлопьеобразования, а также при необходимости повышения нагрузки осветлителей.

Наличие сульфатов в составе типичных коагулянтов создает дополнительные трудности при необходимости их последующего удаления из воды. Гидроксиды А1(ОН)3 или Fe (OH)2 могут быть получены электрохимическим способом, основанным на анодном растворении металла в воде при прохождении постоянного электрического тока. На аноде металл окисляется, и его ионы переходят в раствор:

Al – 3е ® Al3+

Fe – 2е ® Fe2 +

На катоде прием электронов осуществляется с помощью реакций восстановления. В нейтральных и щелочных растворах электроны ассимилируются на катоде молекулами воды с последующим образованием водовода и гидпоксильных ионов:

2О+2е ®Н2 +2НО-

В присутствии кислорода ассимиляция электронов идет по реакции

2О+О2+4е ® 4НО-

Ионы ОН - образуют с ионами А13 + или Fe2 + гидроксиды. Гидроксид Fe (II) затем окисляется в гидроксид Fe (III) по реакции:

4Fe(OH)2+O2+2H2O ® 4Fe(OH)3

Таким образом, электрохимический метод коагуляции может быть осуществлен без дополнительного введения в воду анионов S042 - и позволяет отказаться от аппаратуры, связанной с приготовлением и дозированием традиционных коагулянтов.

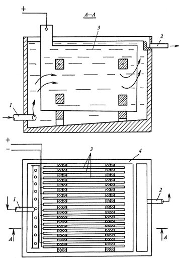
Электрокоагуляционный аппарат состоит из набора металлических пластин толщиной 25 мм, скрепленных между собой через неэлектропроводящие шайбы (рис. 2.3). К пластинам подводится ток плотностью 40—50 А/м2 и напряжением 20—30 В. Для уменьшения поляризации и более равномерного использования электродных пластин примерно через 15 мин производят переполюсовку подводимого напряжения.

Сокращение концентрации сульфатов, повышающейся при традиционной коагуляции, можно достичь при использовании оксихлоридов алюминия А1m (ОН) nС13m -n (ОХА), например пентаоксихлорида алюминия А12 (ОН) 5С1. По сравнению с сульфатом алюминия ОХА имеет дополнительные преимущества: в меньшей степени снижается щелочность воды, что позволяет применять его при очистке воды с низкой щелочностью без предварительного подщелачивания; эффективен в более широком диапазоне рН (от 6 до 9); существенно снижает продолжительность образования крупных хлопьев и увеличивает скорость их осаждения; в обработанной ОХА коагулированной воде содержание хлоридов устанавливается примерно в 2—8 раз меньше, чем сульфатов при дозировании A12 (S04)3-.

Рисунок 2.3 - Аппарат для анодного растворения металла при электромеханическом коагулировании: 1 – вход воды; 2 – выход воды; 3 – металлические пластины; 4 – корпус аппарата.

Технологические показатели качества воды после коагуляции сульфатом алюминия изменяются следующим образом.

1. Общая жесткость и ее виды, мг-экв/дм3, определяются как

Жккоаг = Жкисх – Дк; Жнккоагнкисх + Дк; Жокоаг = Жоисх

где Дк — доза коагулянта, мг-экв/дм.

2. Щелочность остаточная Щост = Що - Дк. Если Щоисх меньше Дк, то необходимо производить подщелачивание воды перед коагуляцией добавлением NaOH в количестве, составляющем ΔЩ = ДК- Що + Щосг,принимая значение Щост= 0,7 мг-экв/дм3.

3. Концентрация S04 2-, мг/дм,

СкоагSO4 = СисхSO4 +48,03Дк

4. Концентрация хлор-иона остается равной исходной.

5. Кремнийсодержание уменьшается и становится равным (0,4 – 0,5)СисхSiO2.

6. Окисляемость снижается на 50—60 % исходной.

7. Содержание ГДП после коагуляции в осветлителе обычно не превышает 10 мг/дм3, а после осветлительных фильтров — 1 мг/дм3. Неполное снижение окисляемости и кремнийсодержания при коагуляции объясняется присутствием в обрабатываемой воде не только коллоидных, но и ионных форм органических веществ и кремнийсодержаших соединений.

При коагуляции важную роль играют очередность и место ввода реагентов в обрабатываемую воду. Окислители (газообразный хлор, хлорная известь) и реагент, корректирующий величину рН (подщелачивающий или подкисляющий) вводятся в общий поток воды до коагулянта. Окислители следует водить при более низких рН, т. е. после ввода кислоты – при подкислении и до ввода щелочи – при подщелачивании. Коагулянт следует водить в нижнюю часть осветлителя (в зону контактной среды). Флокулянт должен вводится спустя 1-3 мин после вода коагулянта, чтобы успели образоваться мелкие хлопья.

Осветлитель является аппаратом, в котором одновременно протекают химические реакции, связанные с вводом реагентов, а также физические процессы формирования образовавшихся осадков (шлама) в объеме воды осветлителя и фильтрования обрабатываемой воды через их слой. Контактная среда в осветлителе, называемая шламовым фильтром, формируется из ранее образовавшихся и вновь образующихся частиц шлама, находящихся во взвешенном состоянии за счет действия восходящего потока воды. Прошедшая через шламовый фильтр вода освобождается от грубодисперсных частиц, содержащихся в исходной воде и сформировавшихся в результате химических реакций в осветлителе. Поэтому их остаточная концентрация обычно находится в пределах 5 – 10 мг/дм, если не нарушены химический и гидравлический режимы в осветлителе. При конструировании осветлителя учитывается, что гидравлические процессы в нем включают в себя следующее:

– поддержание во взвешенном состоянии твердых частиц, образующих контактную среду, восходящим потоком воды;

– удаление избытка этих частиц из зоны контактной среды;

режимы движения воды в контактной среде, а также на входе в осветлитель и на выходе из него.

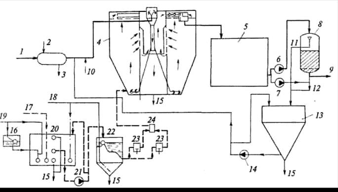
Осветлители используются для реализации химических и гидродинамических режимов в процессах осаждения при обработке воды коагулянтами, гашеной известью, содой, магнезитом. Схема коагуляционной установки с осветлителем приведена на рис. 2.4.

 

Рисунок 2.4 – Схема коагуляционной установки:

1 – исходная вода; 2 – греющий пар; 3 – конденсат; 4 – осветлитель; 5 – бак коагулированной воды; 6 – насос для коагулированной воды; 7 – насос для взрыхляющей промывки осветлительных фильтров; 8 – осветлительный фильтр; 9 – осветленная вода; 10 – ввод реагента (щелочи) для создания требуемого значения рН; 11 – сброс взрыхляющей воды; 12 – сброс первого фильтрата; 13 – бак сбора вод взрыхления; 14 – насос перекачки вод взрыхления в осветлитель; 15 – продувка (дренаж); 16 – бачок постоянного уровня; 17—19 – техническая вода; 20 – ячейка мокрого хранения коагулянта; 21 – насос для раствора коагулянта; 22 – расходный бак (мерник) коагулянта; 23 – насосы-дозаторы коагулянта; 24 – воздушный колпак.

 

В осветлителе происходит смешение воды и реагентов, образование шлама и отделение его от воды, т.е. осветление. Из осветлителя вода поступает в бак коагулированной воды (БКВ), а выделенный осадок — в бак шламовых вод, откуда перекачивается на шламоотвал или на установку обезвоживания шлама. Из БКВ насосы подают воду на осветлительные (механические) фильтры, где она окончательно освобождается от тех небольших количеств взвешенных веществ (5—10 мг/дм), которые поступили из осветлителя в коагулированную воду. Из механических фильтров задержанная взвесь удаляется при очередной промывке обратным потоком воды. Промы­вочные воды собираются в специальный бак и равномерно в течение суток перекачиваются насосом в осветлитель. Такое мероприятие помимо экономии воды, тепла и реагентов позволяет при маломутных исходных водах интенсифицировать хлопьеобразование вследствие благоприятного влияния взвеси, содержащейся в возвратных промывочных водах.

В настоящее время на различных водоподготовительных установках используются осветлители двух типов: разработанные ЦНИИ МПС (для реализации процессов коагуляции) и разработанные ВТИ (в них осуществляется известкование или известкование с коагуляцией). Конструкции осветлителей этих двух типов не имеют принципиальных различий, но скорости движения воды в различных зонах осветлителей выбраны разными. Это связано с характеристиками образующегося в осветлителях шлама: при коагуляции он более легкий, поэтому скорости подъемного движения воды должны быть более низкими, чем при известковании, так как скорость восходящего движения воды в осветлителе не должна превышать скорость осаждения частиц во избежание уноса их потоком воды из осветлителя. Осветлители для известкования конструкции ВТИ могут быть использованы для проведения в них коагуляции сульфатом алюминия, но с учетом вышеизложенного расчетная производительность таких осветлителей уменьшается до 0,7 номинальной при известковании.

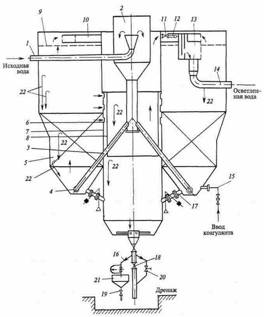
Схема осветлителя для коагуляции приведена на рис. 2.5.

 

 

 

Рисунок 2.5 – Схема осветлителя для коагуляции типа ЦНИИ-2:

1 – вход воды; 2 – воздухоотделитель; 3 – распределительная труба; 4 – сопло; 5 – вертикальная перфорированная перегородка; 6 – шламоприемное окно; 7 – шламоуловитель; 8 – «стакан»; 9 – верхняя распределительная решетка; 10 – сборный кольцевой желоб; 11 – задвижка отсечки; 12 – трубопровод отсечки; 13 – распределительное устройство с успокоительной перегородкой; 14 – выход обработанной воды; 15 – ввод коагулянта; 16 – линия непрерывной продувки; 17 – линия периодической продувки; 18 – задвижка на линии опорожнения осветлителя; 19 – дренажная задвижка; 20 – кран с сервоприводом; 21 – воронка; 22 – пробоотборные точки.

 

 




Поделиться с друзьями:


Дата добавления: 2014-12-16; Просмотров: 1426; Нарушение авторских прав?; Мы поможем в написании вашей работы!


Нам важно ваше мнение! Был ли полезен опубликованный материал? Да | Нет



studopedia.su - Студопедия (2013 - 2025) год. Все материалы представленные на сайте исключительно с целью ознакомления читателями и не преследуют коммерческих целей или нарушение авторских прав! Последнее добавление




Генерация страницы за: 0.012 сек.