Студопедия

КАТЕГОРИИ:


Архитектура-(3434)Астрономия-(809)Биология-(7483)Биотехнологии-(1457)Военное дело-(14632)Высокие технологии-(1363)География-(913)Геология-(1438)Государство-(451)Демография-(1065)Дом-(47672)Журналистика и СМИ-(912)Изобретательство-(14524)Иностранные языки-(4268)Информатика-(17799)Искусство-(1338)История-(13644)Компьютеры-(11121)Косметика-(55)Кулинария-(373)Культура-(8427)Лингвистика-(374)Литература-(1642)Маркетинг-(23702)Математика-(16968)Машиностроение-(1700)Медицина-(12668)Менеджмент-(24684)Механика-(15423)Науковедение-(506)Образование-(11852)Охрана труда-(3308)Педагогика-(5571)Полиграфия-(1312)Политика-(7869)Право-(5454)Приборостроение-(1369)Программирование-(2801)Производство-(97182)Промышленность-(8706)Психология-(18388)Религия-(3217)Связь-(10668)Сельское хозяйство-(299)Социология-(6455)Спорт-(42831)Строительство-(4793)Торговля-(5050)Транспорт-(2929)Туризм-(1568)Физика-(3942)Философия-(17015)Финансы-(26596)Химия-(22929)Экология-(12095)Экономика-(9961)Электроника-(8441)Электротехника-(4623)Энергетика-(12629)Юриспруденция-(1492)Ядерная техника-(1748)

Принцип расчета гидропривода




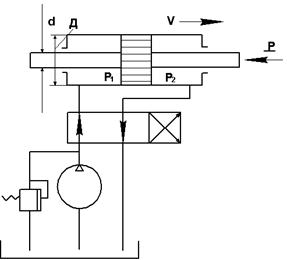
Представим схему гидропривода с разомкнутой циркуляцией жидкости (рис.13.7) и для упрощения последующих расчетов выберем силовой цилиндр с двухсторонним выходом штока и все гидролинии одного диаметра. Таким образом, скорость движения рабочей жидкости в гидролиниях будет одинаковой.

Рис.13.7

При расчете такого гидропривода силовой цилиндр рассматривается как местное сопротивление, на котором произошел перепад давления Δрц = р1 - р2 при движении поршня, например, слева направо.

Перепад давления Δрц может быть выражен из уравнения равновесия поршня:

.

Силой инерции РИ при расчете таких гидроприводов обычно пренебрегают; так как сила трения Т зависит от качества обработки внутренних поверхностей и в нашем случае незначительно зависит от внешней нагрузки Р, то ее можно считать величиной постоянной и из анализа исключить. Тогда

.

Давление рн, которое необходимо создать насосу будет больше полученного Δрц на величину потерь давления в системе Σртр:

.

Так как система гидравлического привода является частным случаем короткого трубопровода, то при подсчете потерь давления должны быть учтены как линейные, так и местные потери:

.

Выразим скорость движения рабочей жидкости по гидролиниям через подачу насоса из выражения

; .

Тогда

.

Для конкретной гидравлической системы выражение в скобках будет величиной постоянной. Обозначим ее буквой «В». Тогда можно записать

. (13.1)

По выражению (13.1) построим гидравлическую характеристику системы и, наложив на нее характеристику объемного насоса, получим в их пересечении рабочую точку системы (точка А) (рис. 13.8) или рабочий режим системы: ; .

Рис. 13.8

При этом мощность, потребляемая насосом:

.

Если нагрузка вдоль штока Р не меняется по ходу поршня, то делением объема цилиндра на расход можно определить время совершения операции или время, потребное для перемещения поршня из одного крайнего положения в другое. Зная при этом перемещение поршня, легко определить скорость его перемещения V. Тогда полезная мощность гидропривода и его к.п.д. определяются из выражения

; .

 

 




Поделиться с друзьями:


Дата добавления: 2014-12-16; Просмотров: 540; Нарушение авторских прав?; Мы поможем в написании вашей работы!


Нам важно ваше мнение! Был ли полезен опубликованный материал? Да | Нет



studopedia.su - Студопедия (2013 - 2026) год. Все материалы представленные на сайте исключительно с целью ознакомления читателями и не преследуют коммерческих целей или нарушение авторских прав! Последнее добавление




Генерация страницы за: 0.011 сек.