Студопедия

КАТЕГОРИИ:


Архитектура-(3434)Астрономия-(809)Биология-(7483)Биотехнологии-(1457)Военное дело-(14632)Высокие технологии-(1363)География-(913)Геология-(1438)Государство-(451)Демография-(1065)Дом-(47672)Журналистика и СМИ-(912)Изобретательство-(14524)Иностранные языки-(4268)Информатика-(17799)Искусство-(1338)История-(13644)Компьютеры-(11121)Косметика-(55)Кулинария-(373)Культура-(8427)Лингвистика-(374)Литература-(1642)Маркетинг-(23702)Математика-(16968)Машиностроение-(1700)Медицина-(12668)Менеджмент-(24684)Механика-(15423)Науковедение-(506)Образование-(11852)Охрана труда-(3308)Педагогика-(5571)Полиграфия-(1312)Политика-(7869)Право-(5454)Приборостроение-(1369)Программирование-(2801)Производство-(97182)Промышленность-(8706)Психология-(18388)Религия-(3217)Связь-(10668)Сельское хозяйство-(299)Социология-(6455)Спорт-(42831)Строительство-(4793)Торговля-(5050)Транспорт-(2929)Туризм-(1568)Физика-(3942)Философия-(17015)Финансы-(26596)Химия-(22929)Экология-(12095)Экономика-(9961)Электроника-(8441)Электротехника-(4623)Энергетика-(12629)Юриспруденция-(1492)Ядерная техника-(1748)

Контроль передач




Циліндрична передача

Циліндричні передачі

Позначення точності зубчатих коліс і передач

Основні характеристики видів спряження

Спряження Степінь точності по нормі плавності Min боковий зазор Рекоменд. вид допуска Клас відхилення aw
Вид Назва        
A Збільшений 3-12 ТТ11 a VI
B Нормальний 3-12 ТТ10 b V
C Зменшений 3-9 ІТ9 c IV
D Малий 3-8 ІТ8 d III
E Досить малий 3-7 ІТ7 h II
H Нульовий 3-7   h II
           

 

8-7-6-В а ГОСТ 1643-81

8 – ступінь кінематичної точності, 7 – ступінь по нормам плавності, 6 – ступінь по нормам контакта, В – вид спряження, а – допуск на боковий зазор.

Збільшений вид допуска Tjn (a замість b), також існує відповідність між видом спряження В і класом відхилення міжосьової відстані аω

7-С

7 ступінь точності 1. Кінематична точність.

2. плавність роботи.

3. контакт зубів.

С-вид спряження

7- С а /V

зменшений допуск на боковий зазор (рекомендується с) і більш грубий клас відхилення міжосьової відстані (V замість IV).

 

Контроль коліс і передач за всіма показниками встановленого комплексу можна не проводити, якщо виробник гарантує виконання вимог стандарту. Допуски різних показників взаємопов’язані, тому результати провірки по одному комплексу не протирічать при провірці по будь-якому іншому.

 

Допуски зубчатих конічних передач ГОСТ 1758-81 (при m>1)

Принципи побудови систем допусків аналогічні зубчастим циліндричним передачам.

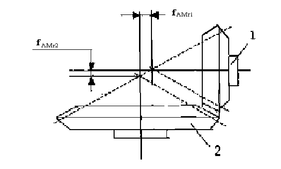
Особливість – показник – fAмr – осьове зміщення зубчатих вінців в передачі.

 

Осьові зміщення зубчатих вінців конічних зубчатих передач

 

Встановлено 12 ступіней точності

1,2,3-допуски і граничні відхилення не приводяться

Встановлені норми

4. Кінематичної точності

5. Плавності роботи

6. Контакту зубців

Допускається деяке комбінування цих норм. Норми плавності можуть бути на 2 ступені точніші, або на 1 ступінь грубіше норми кінематичної точності. Норма контакта не грубіше норми плавності.

Незалежно від ступеней точності та їх комбінування встановлено 6 видів спряжень

A, B, C, D, E, H

Допуск на боковий зазор не регламентується.

Показниками кінематичної точності конічних зубчастих коліс є

1) найбільша кінематична похибка зубчастого колеса

2) накопичена похибка к-кроків Fpkr

3) биття зубчатого вінця Frr

4) похибка обката Fcr

Для передач – кінематична точність конічної передачі – найбільша кінематична похибка передачі Fior.

Із похибок специфічних для конічних передач характерним є осьове зміщення зубчастого вінця fАМ – відхилення при монтажі.

Встановлені границі осьового зміщення fАМ

Показники плавності роботи зубів майже такі ж самі, що і для циліндричних передач

 

Позначення точності передачі.

8-7-7-В ГОСТ 1758-81




Поделиться с друзьями:


Дата добавления: 2014-12-16; Просмотров: 534; Нарушение авторских прав?; Мы поможем в написании вашей работы!


Нам важно ваше мнение! Был ли полезен опубликованный материал? Да | Нет



studopedia.su - Студопедия (2013 - 2026) год. Все материалы представленные на сайте исключительно с целью ознакомления читателями и не преследуют коммерческих целей или нарушение авторских прав! Последнее добавление




Генерация страницы за: 0.009 сек.