Студопедия

КАТЕГОРИИ:


Архитектура-(3434)Астрономия-(809)Биология-(7483)Биотехнологии-(1457)Военное дело-(14632)Высокие технологии-(1363)География-(913)Геология-(1438)Государство-(451)Демография-(1065)Дом-(47672)Журналистика и СМИ-(912)Изобретательство-(14524)Иностранные языки-(4268)Информатика-(17799)Искусство-(1338)История-(13644)Компьютеры-(11121)Косметика-(55)Кулинария-(373)Культура-(8427)Лингвистика-(374)Литература-(1642)Маркетинг-(23702)Математика-(16968)Машиностроение-(1700)Медицина-(12668)Менеджмент-(24684)Механика-(15423)Науковедение-(506)Образование-(11852)Охрана труда-(3308)Педагогика-(5571)Полиграфия-(1312)Политика-(7869)Право-(5454)Приборостроение-(1369)Программирование-(2801)Производство-(97182)Промышленность-(8706)Психология-(18388)Религия-(3217)Связь-(10668)Сельское хозяйство-(299)Социология-(6455)Спорт-(42831)Строительство-(4793)Торговля-(5050)Транспорт-(2929)Туризм-(1568)Физика-(3942)Философия-(17015)Финансы-(26596)Химия-(22929)Экология-(12095)Экономика-(9961)Электроника-(8441)Электротехника-(4623)Энергетика-(12629)Юриспруденция-(1492)Ядерная техника-(1748)

Фотоэлектрических преобразователей




Принцип действия и основные типы

 

Фотоэлектрическими называются преобразователи, изменяющие свои электрические характеристики под воздействием светового потока, функционально связанного с измеряемой неэлектрической величиной. Принцип действия фотоэлектрических преобразователей (фотоэлементов) основан на явлении фотоэлектрического эффекта, открытого русским ученым А. Г. Столетовым в 1888 году.

Фотоэлектрический эффект осуществляется тремя различными способами, в связи с чем различают три разновидности проявления фотоэффекта: внешний, внутренний и вентильный. Наибольшее применение нашли преобразователи двух последних типов.

К преобразователям с внешним фотоэффектом относятся вакуумные и газонаполненные фотоэлементы и фотоэлектронные умножители. Вакуумные фотоэлементы состоят из вакуумированной стеклянной колбы, содержащей два электрода: анод и катод. При освещении фотокатода под влиянием фотонов света он эмитирует электроны. Если между анодом и фотокатодом приложено напряжение, то эти электроны образуют электрический ток, поскольку он вызван фотонами, его называют фототоком.Для фотоэмиссии электронов необходимо, чтобы энергия фотона Е=vh, где v– частота света; h– постоянная Планка, была больше работы выхода электронов Ф, характерной для данного материала фотокатода. Частота v гр = Ф /h называется красной границей фотоэффекта, а соответствующая ее длина волны l гр =с/v гр, где с – скорость света, v гр– длинноволновой порог фотоэффекта. Если l>l гр, то никакая интенсивность света не может вызвать фотоэффект.

Газонаполненный фотоэлемент аналогичен вакуумному, но имеет определенное газовое заполнение. Благодаря ионизации газа происходит усиление тока фотоэмиссии. Чувствительность газонаполненных фотоэлектрических преобразователей выше, чем у вакуумных. Фотоэлектронный умножитель (ФЭУ)–это вакуумный фотоэлемент, снабженный системой электродов для усиления тока фотоэмиссии. Принципиальная схема ФЭУ показана на рис. 5.76.

 

Рис. 5.76. Фотоэлектронный умножитель

Свет падает на фотокатод К, который эмитирует электроны. Поток электронов фокусируется электрическим полем, создаваемым электродом Э, формируется и направляется на ускоряющий электрод – динод Э1. Напряжение на диноде таково, чтобы энергии фотоэлектрона было достаточно для вторичной эмиссии электронов. Режим работы таков, что при вторичной эмиссии испускается больше электронов, чем падает на динод. Так происходит усиление потока электронов. Поток электронов, усиленный динодом Э1, направляется на следующие диноды Э2–Э5, усиливается и собирается анодом А. Анодный ток ФЭУ довольно мал и требует дополнительного усиления. Для этого он преобразуется в напряжение с помощью сопротивления нагрузки. Питание ФЭУ производится с помощью делителя напряжения. Фотоэлектронные умножители имеют высокую чувствительность и используются для измерения очень малых световых потоков (до 10–5 лк).

Чувствительный элемент преобразователейс внутренним фотоэффектом (фоторезисторов)выполнен в виде пластинки, на которую нанесен слой полупроводникового фоточувствительного материала (сернистый кадмий, селенистый кадмий или сернистый свинец). Электропроводность полупроводниковых материалов обусловлена возбуждением электронов в валентной зоне и примесных уровнях. При возбуждении электроны переходят в зону проводимости; в валентной зоне появляются дырки. При освещении возбуждение электронов увеличивается, что вызывает увеличение электропроводности. Красная граница фоторезисторов находится в инфракрасной области, например, для сернисто-свинцовых длина волны lгр=2,7 мкм. При небольших освещенностях преобразователя число возбужденных светом электронов пропорционально освещенности, его электрическая проводимость:

G = I ф/ U,

где I ф – фототок; U – напряжение, приложенное к преобразователю, также пропорционально освещенности.

При больших освещенностях пропорциональность нарушается. Чувствительность фоторезисторов определяется кратностью изменения их сопротивления. Для некоторых типов она достигает значения

K = R т/ R 200=105,

где R т–темновое сопротивление, т. е. сопротивление неосвещенного преобразователя; R 200–сопротивление при Е= 200 лк. ВАХ фоторезисторов линейна, т. е. их сопротивление не зависит от приложенного напряжения. Инерционность характеризуется постоянной времени t. У сернисто – кадмиевых преобразователей t лежит в пределах 1–140 мс, у селенисто – кадмиевых–0,5–20 мс.

Рис. 5.77. Типовая схема включения фоторезистора

Типовая схема включения фоторезистора приведена на рис. 5.77, которая характеризуется высокой чувствительностью. Однако сопротивление фоторезистора зависит от температуры подобно сопротивлению термисторов. Для уменьшения температурной погрешности они включаются в смежные плечи моста.

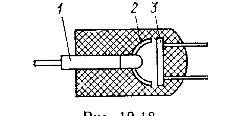
Рис. 5.78. Конструкция полупроводникового фотодиода

Фотогальванические преобразователи представляют собой фотоэлектронные приборы с p-n -переходом: фотодиоды и фототранзисторы. При освещении перехода создается дополнительная концентрация носителей в n –слое 3 (рис. 5.78). Это приводит к усилению их диффузии к р-n -переходу и в самом переходе между слоями 2 и 3. У диода, подключенного через электроды 1 и 4 к запирающему напряжению, под действием света возрастает обратный ток. При отсутствии освещения она не отличается от характеристики обычного диода, а при освещении смещается вверх пропорционально величине светового потока.

Наиболее распространены германиевые и кремниевые фотодиоды. И х спектральные характеристики заходят в область инфракрасного излучения (для германиевых фотодиодов до l гр=2мкм, для кремниевых до l кр= 1,2мкм).

Рис. 5.79. Типовые схемы включения фотодиодов

Фотодиоды могут работать в фотодиодном и генераторном (вентильном) режимах. В фотодиодном режиме преобразователь подключают к запирающему напряжению (рис. 5.79, а). При увеличении его освещенности возрастает обратный ток, что приводит к увеличению напряжения U нна сопротивлении R н. Напряжение U ни чувствительность можно определить по ВАХ и нагрузочной прямой (рис. 5.79, б). Зависимость тока фотодиода от освещенности практически линейна. Внутреннее дифференциальное сопротивление фотодиода имеет величину порядка мегаомов, поэтому обычно они работают в режиме, близком к короткому замыканию.

Полный ток фотодиода I можно рассматривать как сумму I = I т+ I ф= I т+ S Ф,

где I т –темновойфототок; I ф – фототок, определяемый световым потоком Ф; S – чувствительность.

Значение темнового тока I тсильно зависит от температуры. Фотодиоды – малоинерционные преобразователи. Их постоянная времени имеет порядок 10-7–10-8 с.

В генераторном режиме фотодиод включают по схеме, приведенной на рис. 5.79, в,и он сам является источником тока. Фототок, напряжение на нагрузке U н и чувствительность можно определить по ВАХ.

Фотоэлектрические преобразователи, используемые для измерения несветовых величин, имеют ряд особенностей. Имеется возможность измерения без контакта с объектом измерения, отсутствует механическое воздействие на объект измерения. Преобразователи чувствительны к силе света и его цвету. Их недостатком является большая погрешность, которая, в основном, определяется усталостью, старением и зависимостью параметров преобразователя от температуры. Вследствие этих особенностей фотоэлектрические преобразователи нашли применение в основном в следующих случаях.

1. При измерениях, в которых преобразователь работает в релейном режиме. Примером может служить измерение частоты вращения вала, имеющего диск с отверстиями. Диск прерывает луч света, падающий на фотоэлектрический преобразователь. Измеряемая скорость преобразуется в частоту электрических импульсов.

2. В качестве прямого преобразователя в компенсационных измерительных приборах.

3. При измерении несветовых величин, когда промежуточной величиной преобразования является величина световая, например, при измерении концентрации вещества в растворе, когда промежуточной величиной является изменение поглощения света раствором.

Для уменьшения погрешности измерения фотоэлектрические преобразователи включаются в дифференциальные или компенсационные измерительные цепи.

Оптоэлектронные элементы. По степени сложности структурной схемы среди изделий оптронной техники выделяют две группы приборов. Элементарный оптрон (оптопара) представляет собой оптоэлектронный полупроводниковый прибор, состоящий из излучающего и фотоприемного элементов, между которыми имеется оптическая связь, обеспечивающая электрическую изоляцию между входом и выходом. Принцип действия оптронов основан на следующем (рис. 5.80). В излучателе 1 энергия электрического сигнала преобразуется в световую, фокусируется отражателем 2 на фотоприемнике 3, где световой сигнал вызывает электрический отклик.

Рис. 5.80. Принцип реализации оптрона

Оптоэлектронная интегральная микросхема представляет собой микросхему, состоящую из одной или нескольких оптопар и электрически соединенных с ними одного или нескольких согласующих или усилительных устройств. Таким образом, в электронной цепи такой прибор выполняет функцию элемента связи, в котором в то же время осуществлена электрическая (гальваническая) развязка входа и выхода.

Оптроны могут быть реализованы с фоторезистором, фотодиодом и фототиристором.

Достоинства этих приборов базируются на общем оптоэлектронном принципе использования электрически нейтральных фотонов для переноса информации. Основные из них следующие:

- возможность обеспечения идеальной электрической (гальванической) развязки между входом и выходом;

- для оптронов не существует каких-либо принципиальных физических или конструктивных ограничений по достижению сколь угодно высоких напряжений и сопротивлений развязки и сколь угодно малой проходной емкости;

- возможность реализации бесконтактного оптического управления электронными объектами и обусловленные этим разнообразие и гибкость конструкторских решений управляющих цепей;

- однонаправленность распространения информации по оптическому каналу, отсутствие обратной реакции на излучатель;

- широкая, без ограничения со стороны низких частот, частотная полоса пропускания оптрона, возможность передачи по оптронной цепи как импульсного сигнала, так и постоянной составляющей;

- возможность управления выходным сигналом оптрона путем воздействия (в том числе и неэлектрического) на материал оптического канала и вытекающая отсюда возможность создания разнообразных датчиков, а также разнообразных приборов для передачи информации;

- возможность создания функциональных микроэлектронных устройств с фотоприемниками, характеристики которых при освещении изменяются по сложному заданному закону;

- невосприимчивость оптических каналов связи к воздействию электромагнитных полей, что в случае “длинных” оптронов (с протяженным волоконно-оптическим световодом между излучателем и приемником) обусловливает их защищенность от помех и утечки информации, а также исключает взаимные наводки;

- физическая и конструктивно-технологическая совместимость с другими полупроводниковыми и микроэлектронными приборами.

Оптронам присущи и определенные недостатки:

- значительная потребляемая мощность, обусловленная необходимостью двойного преобразования энергии (электричество - свет - электричество) и невысокими КПД этих переходов;

- повышенная чувствительность параметров и характеристик к воздействию повышенной температуры и проникающей ядерной радиации;

- более или менее заметная временная деградация (ухудшение) параметров;

-относительно высокий уровень собственных шумов, обусловленный особенностями физики светодиодов;

- сложность реализации обратных связей, вызванная электрической разобщенностью входной и выходной цепей;

- конструктивно-технологическое несовершенство, связанное с использованием гибридной непланарной технологии (с необходимостью объединения в одном приборе нескольких отдельных кристаллов из различных полупроводников, располагаемых в разных плоскостях).

Схема включения. Как элемент связи оптрон характеризуется коэффициентом передачи Кi, определяемым отношением выходного и входного сигналов, и максимальной скоростью передачи информации F. Практически вместо F измеряют длительности нарастания и спада передаваемых импульсов t нар(сп) или граничную частоту. Возможности оптрона как элемента гальванической развязки характеризуются максимальным напряжением и сопротивлением развязки U разв и R разв и проходной емкостью C разв.

Рис 5.81. Обобщенная структурная схема оптрона

В структурной схеме рис. 5.81 входное устройство служит для оптимизации рабочего режима излучателя (например, смещения светодиода на линейный участок ватт-амперной характеристики) и преобразования (усиления) внешнего сигнала. Входной блок должен обладать высоким КПД преобразования, высоким быстродействием, широким динамическим диапазоном допустимых входных токов (для линейных систем), малым значением “порогового” входного тока, при котором обеспечивается надежная передача информации по цепи.

Назначение оптической среды – передача энергии оптического сигнала от излучателя к фотоприемнику, а также во многих случаях обеспечение механической целостности конструкции.

Принципиальная возможность управления оптическими свойствами среды, например, с помощью использования электрооптических или магнитооптических эффектов, отражена введением в схему устройства управления, В этом случае получают оптрон с управляемым оптическим каналом, функционально отличающийся от “обычного” оптрона: изменение выходного сигнала может осуществляться как по входу, так и по цепи управления.

В фотоприемнике происходит “восстановление” информационного сигнала из оптического в электрический; при этом стремятся иметь высокую чувствительность и высокое быстродействие.

Выходное устройство призвано усилить сигнал, так как потери после двойного пpeобразования значительны, преобразовать сигнал фотоприемника в стандартную форму, удобную для воздействия на последующие за оптроном каскады. Нередко функцию усиления выполняет и сам фотоприемник (фототранзистор).

Общая структурная схема рис. 5.81 реализуется в каждом конкретном приборе лишь частью блоков. Реальный оптрон может быть устроен и сложнее, чем схема на рис. 5.81; каждый из указанных блоков может включать в себя не один, а несколько одинаковых или подобных друг другу элементов, связанных электрически и оптически, однако это не изменяет существенно основ физики и электроники оптрона.

Области применения. В качестве элементов гальванической развязки оптроны применяются: для связи блоков аппаратуры, между которыми имеется значительная разность потенциалов; для защиты входных цепей измерительных устройств от помех и наводок.

Другая важнейшая область применения оптронов – оптическое, бесконтактное управление сильноточными и высоковольтными цепями. Запуск мощных тиристоров, симисторов, управление электромеханическими релейными устройствами

Возможность изменения свойств оптического канала при различных внешних воздействиях на него позволяет создать оптронные датчики влажности и загазованности, датчик наличия в объеме той или иной жидкости, датчики чистоты обработки поверхности предмета, скорости его перемещения и т. п.

Создание оптронов с фоторезисторами, свойства которых при освещении меняются по заданному сложному закону, позволяет моделировать математические функции, является шагом на пути создания функциональной оптоэлектроники.

Универсальность оптронов как элементов гальванической развязки и бесконтактного управления, разнообразие и уникальность многих других функций являются причиной того, что сферами применения этих приборов стали вычислительная техника, автоматика, автоматизированные системы управления, измерительная техника, системы контроля и регулирования.

 

 




Поделиться с друзьями:


Дата добавления: 2014-12-16; Просмотров: 6747; Нарушение авторских прав?; Мы поможем в написании вашей работы!


Нам важно ваше мнение! Был ли полезен опубликованный материал? Да | Нет



studopedia.su - Студопедия (2013 - 2025) год. Все материалы представленные на сайте исключительно с целью ознакомления читателями и не преследуют коммерческих целей или нарушение авторских прав! Последнее добавление




Генерация страницы за: 0.013 сек.