Студопедия

КАТЕГОРИИ:


Архитектура-(3434)Астрономия-(809)Биология-(7483)Биотехнологии-(1457)Военное дело-(14632)Высокие технологии-(1363)География-(913)Геология-(1438)Государство-(451)Демография-(1065)Дом-(47672)Журналистика и СМИ-(912)Изобретательство-(14524)Иностранные языки-(4268)Информатика-(17799)Искусство-(1338)История-(13644)Компьютеры-(11121)Косметика-(55)Кулинария-(373)Культура-(8427)Лингвистика-(374)Литература-(1642)Маркетинг-(23702)Математика-(16968)Машиностроение-(1700)Медицина-(12668)Менеджмент-(24684)Механика-(15423)Науковедение-(506)Образование-(11852)Охрана труда-(3308)Педагогика-(5571)Полиграфия-(1312)Политика-(7869)Право-(5454)Приборостроение-(1369)Программирование-(2801)Производство-(97182)Промышленность-(8706)Психология-(18388)Религия-(3217)Связь-(10668)Сельское хозяйство-(299)Социология-(6455)Спорт-(42831)Строительство-(4793)Торговля-(5050)Транспорт-(2929)Туризм-(1568)Физика-(3942)Философия-(17015)Финансы-(26596)Химия-(22929)Экология-(12095)Экономика-(9961)Электроника-(8441)Электротехника-(4623)Энергетика-(12629)Юриспруденция-(1492)Ядерная техника-(1748)

Критический анализ конструкций встряхивающе - прессовых формовочных машин




 

Исторически встряхивающие формовочные машины появились с индустриализацией промышленности в начале 20 века. Известно, что [1] при уплотнении формовочной смеси в опоке на встряхивающей машине стол машины вместе с опокой при каждом ударе поднимается на высоту до 100 мм, падая с этой высоты, ударяется о преграду. Уплотнение смеси в опоке происходит при ударе стола под действием сил инерции смеси. Главнейшей особенностью такого нагружения смеси в момент удара является кратковременность действия сжимающих напряжений или сил инерции смеси. Продолжительность действия сжимающих напряжений в форме при ударе встряхивающего стола весьма мала. Поэтому за время одного удара процесс уплотнения смеси произойти не успевает, и с каждым новым ударом встряхивания степень уплотнения будет увеличиваться. Нарастание уплотнения будет происходить от удара к удару до тех пор, пока при некотором большом числе произведенных ударов будет достигаться стабилизация уплотнения. Дальнейшее встряхивание с той же силой уже не даст больше увеличения степени уплотнения. Обычно практическое число ударов составляет 30 – 50, что значительно меньше предельного числа ударов, при котором уплотнение стабилизируется.

Верхние слои смеси в опоке при встряхивании уплотняются недостаточно и требуют дополнительного уплотнения, которое производится подпрессовкой формы. Вследствие того, что операция встряхивания занимает значительное время, рационально для повышения производительности машины вести уплотнение главным образом за счет подпрессовки, уменьшая при этом число ударов встряхивания на одну форму. Для этого формовочная машина должна иметь достаточно мощный подпрессовочный механизм. В качестве одного из вариантов сочетания встряхивания с прессованием - метод встряхивания литейных форм при одновременном действии прессующего давления.

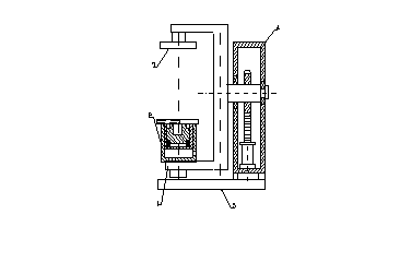
Схемы наиболее распространенных моделей прессово–ударных и встряхивающе–прессовых формовочных машин представлены на рис. 1

 

 
1 – корпус механизма уплотнения; 2 – прессовый цилиндр; 3 – боек; 4 – стол; 5 – пружины; 6 – колодка с траверсой; 7 – колонна; 8 – станина. а -
 
Модель 22111

Рисунок 2 – Схемы наиболее распространенных моделей прессово–ударных и встряхивающе – прессовых формовочных машин 1 – скоба; 2 – встряхивающий механизм; 3 – колодка; 4 – поворотный механизм; 5 - плита б- Модель 22211  

.

Первые две модели (рис. 2 а и б)– прессово-ударные, работают по одному принципу уплотнения полуформы, но вторая модель б выполняет протяжку модели после переворота полуформы, что повышает качество формы, т.к. нет разрушения формы по вине механизма протяжки. Поясним. Работа машины модели 22111.

На рабочий стол (рис.2 а) 4 устанавливается оснастка (модельная плита, опока, наполнительная рамка). Подъемный (он же прессовый) цилиндр 1 поднимает предварительно засыпанную оснастку (механизация операций сборки оснастки, ее засыпки в машине отсутствует) к прессовой колодке и уплотнение прессованием. Встряхивание начинается одновременно с прессованием. Вступает в работу цилиндр 3: воздух, поступающий под него, давит на боек, боек откатывается вниз, сжимая пружины; открывается выхлопное отверстие и давление падает, пружины разжимаются, боек откатывается и ударяет по столу 4, при многократных ударах бойком снизу по столу происходит встряхивание. Затем все возвращается на исходные позиции. Протяжка полуформы производится штыревым подъемником (на штырях полуформа поднимается вверх, а модельная плита остается на столе).

Одновременное прессование и встряхивание дает более равномерное уплотнение полуформы и более точный отпечаток, что позволяет уменьшить припуски на механическую обработку. Однако, протяжка модели штыревым механизмом может вызвать обрушение смеси, т.к. векторы сил тяжести уплотненной смеси (вниз) и сила перемещения полуформы (вверх) направлены в разные стороны.

Вторая представленная модель 22211 процесс уплотнения проводит аналогично машине модели 22111, а протяжку проводит за счет переворота (скобы) основной части машины (рис. 2, б) механизмом протяжки 4 Сохраняя прижатие уплотненной полуформы к колодке, скоба 1 переворачивается на 180 градусов. Механизм подъема 2 опускает цилиндр на исходную позицию, вытягивая модельную плиту из полуформы, а полуформа остается на колодке в перевернутом (рабочем) состоянии; происходит протяжка. При таком способе протяжки векторы сил тяжести уплотненной смеси (вниз) и сила перемещения полуформы (вниз) направлены в одну сторону и разрушение полуформы не происходит.




Поделиться с друзьями:


Дата добавления: 2014-11-29; Просмотров: 496; Нарушение авторских прав?; Мы поможем в написании вашей работы!


Нам важно ваше мнение! Был ли полезен опубликованный материал? Да | Нет



studopedia.su - Студопедия (2013 - 2026) год. Все материалы представленные на сайте исключительно с целью ознакомления читателями и не преследуют коммерческих целей или нарушение авторских прав! Последнее добавление




Генерация страницы за: 0.011 сек.