Студопедия

КАТЕГОРИИ:


Архитектура-(3434)Астрономия-(809)Биология-(7483)Биотехнологии-(1457)Военное дело-(14632)Высокие технологии-(1363)География-(913)Геология-(1438)Государство-(451)Демография-(1065)Дом-(47672)Журналистика и СМИ-(912)Изобретательство-(14524)Иностранные языки-(4268)Информатика-(17799)Искусство-(1338)История-(13644)Компьютеры-(11121)Косметика-(55)Кулинария-(373)Культура-(8427)Лингвистика-(374)Литература-(1642)Маркетинг-(23702)Математика-(16968)Машиностроение-(1700)Медицина-(12668)Менеджмент-(24684)Механика-(15423)Науковедение-(506)Образование-(11852)Охрана труда-(3308)Педагогика-(5571)Полиграфия-(1312)Политика-(7869)Право-(5454)Приборостроение-(1369)Программирование-(2801)Производство-(97182)Промышленность-(8706)Психология-(18388)Религия-(3217)Связь-(10668)Сельское хозяйство-(299)Социология-(6455)Спорт-(42831)Строительство-(4793)Торговля-(5050)Транспорт-(2929)Туризм-(1568)Физика-(3942)Философия-(17015)Финансы-(26596)Химия-(22929)Экология-(12095)Экономика-(9961)Электроника-(8441)Электротехника-(4623)Энергетика-(12629)Юриспруденция-(1492)Ядерная техника-(1748)

Электромагниты постоянного тока




Защитные оболочки электрических аппаратов. Для предотвращения соприкосновения обслуживающего персонала с токоведущими или под­вижными частями и исключения попадания в аппараты инородных тел устанавливаются специальные защитные оболочки. Согласно ГОСТ 14254—80 защитные свойства оболочки обозначаются буквами IP и дву­мя цифрами. Первая цифра обозначает степень защиты от прикоснове­ния персонала к опасным деталям аппарата, вторая характеризует за­щиту от попадания внутрь аппарата инородных предметов и жидкос­тей. Ниже приводятся защитные свойства некоторых исполнений по ГОСТ 14254—80.

IР00. Открытое исполнение. Защита персонала от соприкосновения с токоведущими или подвижными частями отсутствует. Инородные те­ла могут попадать внутрь аппарата.

IP20. Защищенное исполнение. Оболочка таких аппаратов предо­храняет от случайного прикосновения к токоведущим или подвижным частям или от проникновения внутрь аппарата посторонних предметов. Оболочка должна препятствовать соприкосновению с деталями аппа­рата металлического щупа (диаметр 12, длина 80 мм), шарик диамет­ром 12 мм не должен проникать внутрь аппарата.

IP22. В дополнение к свойствам исполнения IP20 оболочка защища­ет от вредного воздействия капель жидкости, падающих на стенку оболочки, наклоненную к вертикали под углом в пределах 15°.

IP23. В дополнение к свойствам исполнения IP20 оболочка защи­щает от дождя, падающего под углом 60° к вертикали.

IP40. Оболочка защищает аппарат от попадания внутрь него мел­ких предметов диаметром более 1 мм.

IP42. В дополнение к свойствам исполнения IP40 оболочка защи­щает от воздействия капель жидкости (так же как IP22).

IP44. В дополнение к свойствам исполнения 1Р40 оболочка защи­щает от воздействия брызг жидкости, падающих под любым углом.

IP50. Оболочка аппарата защищает от вредного воздействия пыли (допускается попадание внутрь небольшого количества пыли, не нару­шающего нормальной работы аппарата).

IP60. Пылезащищенное исполнение. Оболочка полностью препятствует попаданию пыли.

IP65. Пылеводозащищенное исполнение. В дополнение к свойствам исполнения IР60 оболочка защищает от воздействия струи воды, направленной под любым углом к ее поверхности.

IP66. Пылеводонепроницаемое исполнение. В дополнение к свойствам исполнения IP60 оболочка обеспечивает полную защиту от попадания воды внутрь аппарата при воздействии струи под любым углом к поверхности (морское исполнение).

IP67. Герметичное исполнение. В дополнение к свойствам исполнений IP60 оболочка обеспечивает полную герметичность аппарата.

Воздействия механических и климатических факторов на электри­ческие аппараты в условиях эксплуатации регламентируются действую­щими стандартами (ГОСТ 15150—69 и 15543—70). Под климатически­ми факторами внешней среды понимаются температура и влажность окружающего аппарат воздуха, давление воздуха (высота над уровнем моря), солнечное излучение, дождь, ветер, пыль (в том числе и снеж­ная), солевой туман, иней, гидростатическое давление воды, действие плесневых грибков, содержание в воздухе коррозионно-активных аген­тов. Нормальные значения климатических факторов внешней среды, при­нятые для использования в технике, соответствуют данной географиче­ской зоне с учетом места размещения аппарата. В технической докумен­тации на электрический аппарат всегда оговариваются значения клима­тических факторов, в пределах которых обеспечивается нормальная эксплуатация изделий. Эти значения принято называть номинальными. Различают также рабочие и предельные значения факторов. Значения климатических факторов, при которых обеспечивается сохранение но­минальных параметров и гарантированный срок службы аппаратов, на­зываются рабочими. Значения климатических факторов: а) при которых сохраняется работоспособность аппарата при допустимых отклонениях точности и номинальных параметров, б) после прекращения действия которых точность и номинальные параметры аппарата восстанавлива­ются, принято называть предельными рабочими.

С точки зрения воздействия климатических факторов поверхность земного шара делится на ряд макроклиматических районов. Каждый макроклиматический район характеризуется однородностью географиче­ских факторов и количественных показателей климатических факторов на своей территории.

В табл.1.1 приведены климатические исполнения электрических аппаратов, предназначенных для эксплуатации на суше, озерах и ре­ках морского климата. В зависимости от места размещения в условиях эксплуатации электрические аппараты делятся на категории, указанные в табл. 1.2. Следует отметить, что на работу аппаратов оказывает влияние также атмосферное давление. От плотности атмосферного воздуха зависят прочность внешней электри­ческой изоляции и охлаждение электрических аппаратов. Большинство электрических аппаратов изготовляют для работы на нормальной вы­соте 1000 м над уровнем моря, при которой аппараты работают с номи­нальными параметрами. Однако аппараты могут работать на высотах, превышающих нормальную. При этом в соответствующих стандартах или технических условиях указывается уменьшение номинальной нагрузки на каждые 100 или 1000 м высоты, превышающей нормальную. Аналогично учитывает­ся уменьшение электрической прочности воздушных промежутков. Элек­трические аппараты для самолетов и других летательных аппаратов работают при пониженном давлении на высоте значительно выше 1000 м, которое регламентировано в пределах 70—1,3-10-4 кПа.

Климатическое исполнение и ка­тегория размещения указываются в конце сокращенного обозначения электрических аппаратов. Так, например, обозначение ВЭ-10-1250-20-УЗ означает выключатель электромагнитный на номинальное напряжение 10 кВ, номинальный ток 1250 А, номинальный ток отключения 20 кА, для умеренного климата (У), и для эксплуатации в закрытых помеще­ниях (категория размещения 3). Предприятия, разрабатывающие и из­готавливающие электрические аппараты, руководствуются стандартами, предусматривающими нормы механических испытаний (на удары, виб­рацию, механические нагрузки на выводы аппарата), акустических ис­пытаний, климатических испытаний (теплостойкость, холодостойкость, грибоустойчивость, водонепроницаемость, брызгозащищенность, солнеч­ная радиация и др.).

 

Требования к электрическим аппаратам весьма разно­образны и зависят от назначения, условий эксплуатации, необходимой надежности и т. д. Однако можно сформули­ровать требования, которые являются общими для всех электрических аппаратов.

1. При номинальном режиме работы температура токоведущих элементов аппарата не должна превосходить зна­чений, рекомендуемых соответствующим ГОСТ или другим нормативным документом.

При коротком замыкании (КЗ) токоведущие элементы аппарата подвергаются значительным термическим и ди­намическим нагрузкам, вызываемым большим током. Эти нагрузки не должны вызывать остаточных явлений, нарушающих работоспособность аппарата после устранения КЗ.

2. Аппараты, предназначенные для частого включения и отключения, должны иметь высокую износостойкость.

3. Контакты аппаратов, предназначенных для отклю­чений токов КЗ, должны быть рассчитаны на этот режим.

4. Изоляция электрических аппаратов должна выдер­живать перенапряжения, которые имеют место в эксплуа­тации, и обладать определенным запасом, учитывающим ухудшение свойств изоляции с течением времени и вслед­ствие осаждения пыли, грязи и влаги.

5. К каждому аппарату предъявляется ряд специфиче­ских требований, обусловленных его назначением. Так, на­пример, выключатель высокого напряжения должен отключать ток КЗ за малое время (0,04—0,06 с). Трансфор­матор тока должен давать токовую и угловую погрешно­сти, не превышающие определенного значения.

6. В связи с широкой автоматизацией производствен­ных процессов, применением сложных схем автоматики увеличивается число аппаратов, участвующих в работе. Возможность отказа в работе электрических аппаратов требует их резервирования и создания специальной систе­мы поиска неисправностей. В связи с этим электрические аппараты должны обладать высокой надежностью. Выход из строя аппаратов высокого напряжения приводит к боль­шим разрушениям и материальным потерям.

7.Масса, габаритные размеры, стоимость и время, не­обходимые для установки и обслуживания электрических аппаратов, должны быть минимальными. Отвечающие со­временным требованиям электрические аппараты за срок службы 25 лет не должны нуждаться в ремонте и сложной
ревизии. Конструкция электрических аппаратов должна обеспечивать возможность автоматизации в процессе их изготовления и эксплуатации.

 

Электромагнитными называются устройства, предназначен­ные для создания в определенном пространстве магнитного поля с помощью обмотки, обтекаемой электрическим током.

В нейтральных электромагнитах постоянного тока рабочий магнитный поток создается с помощью обмотки постоянного тока. Действие таких электромагнитов, в отличие от поляризованных, не зависит от направления тока в обмотке, они наиболее экономичны и благодаря разнообразию конструктивных исполнений их легко приспосабливать в различных конструкциях к различным усло­виям работы. Поэтому они получили наибольшее распространение.

Значительную часть электромагнитов постоянного тока составляют электромагнитные механизмы, использующиеся в качестве привода для осуществления необходимого перемещения.

Примером подобных электромагнитов являются: тяговые элек­тромагниты, предназначенные для совершения механической ра­боты при перемещении их рабочих органов, электромагниты муфт сцепления и торможения и тормозные электромагниты; электро­магниты, приводящие в действие контактные устройства в кон­такторах, пускателях, автоматических выключателях; электро­магниты реле, регуляторов и других чувствительных устройств автоматики.

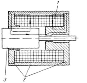
При всем разнообразии электромагнитов отдельные их узлы имеют общее назначение (рис.1.1):

катушка с расположенной на ней намагничивающей об­моткой 1; неподвижная часть магнитопровода из ферромагнитного материала 2; подвижная часть магнитопровода — якорь 3.

  Исполнение для макроклима- тических районов     Обозначения
буквенное  
  русские   латинские
С умеренным климатом С умеренным и холодным кли- матом С влажным тропическим кли- матом С сухим тропическим климатом С сухим и влажным тропичес- ким климатом Для всех макроклиматических районов на суше, кроме рай- она с очень холодным клима- том (общеклиматическое ис- полнение) У УХЛ   ТВ ТС Т О (N) (NF) ( ТН) (ТА) (Т) (V)        

Таблица 1.1

 

Таблица1.2

Категории размещения для эксплуатации Обозначение
На открытом воздухе Под навесом или в помещениях (объемах), где колеба- ния температуры и влажности несущественно отлича- ются от их колебаний на открытом воздухе и имеется сравнительно свободный доступ наружного воздуха В закрытых помещениях (объемах) с естественной вен- тиляцией без искусственно регулируемых климатичес- ких условий, где колебания температуры и влажности воздуха и воздействие песка и пыли существенно мень- ше, чем на открытом воздухе В помещениях (объемах) с искусственно регулируемы- ми климатическими условиями В помещениях (объемах) с повышенной влажностью (на- пример, в неотапливаемых и невентилируемых подзем- ных помещениях, в том числе шахтах, подвалах, в поч- ве и др.)          

 

 

Якорь отделяется от остальных частей магнитопровода рабочим и паразитным зазорами и представляет собой часть электромагнита, которая, воспринимая электромагнитное усилие, передает его соответствующим деталям приводимого в действие механизма.

В зависимости от расположения якоря относительно остальных ча­стей электромагнита и характера воз­действия на якорь со стороны магнит­ного потока электромагниты постоян­ного тока разделяются на следующие типы: электромагниты с втягиваю­щимся якорем, с внешним притяги­вающимся якорем и с внешним попе­речно движущимся якорем.

Одна из типичных конструкций электромагнита с втягивающимся яко­рем показана на рис.1. Характер­ной особенностью таких электромаг­нитов электромагнитов является то, что якорь, или, как его в данном случае можно назвать, подвижный сердечник, располагается целиком или частично внутри катушки с обмоткой. В процессе срабатывания электромагнита якорь, перемещаясь по­ступательно, погружается в катушку. Втягивание якоря происхо­дит как за счет магнитного потока, проходящего через торцевую поверхность якоря, так и за счет действия магнитных потоков, выходящих из его боковой поверхно­сти.

На рис. 5.2 изобра­жена одна из разновидно­стей электромагнитов с внешним притягивающим­ся якорем. У этих элек­тромагнитов якорь распо­ложен снаружи по отноше­нию к катушке. На него действует главным образом рабочий магнитный поток, проходящий от якоря к торцу шляпки сердечника. В результате этого якорь по­ворачивается в пределах малого угла или совершает поступательное перемещение в направлении линии индукции рабочего магнитного потока.

 
 

 

 


Рис.1.1. Электромагнит с втяги­вающимся якорем

 

Конструкция электромагнита с внешним поперечно движущимся якорем показана на рис. 5.3. Якорь в подобных электромагнитах также располагается снаружи катушки. Рабочий магнитный по­ток, действующий на якорь, проходит из его боковой поверхности к полюсным наконечникам, имеющим особую форму, определенным способом согласованную с формой боковой поверхности якоря. В результате воздействия со стороны рабочего магнитного потока якорь движется поперек магнитных линий, поворачиваясь на не­который ограниченный угол.

 

 

Рис.1.2. Электромагнит с внешним притя­гивающимся якорем

 

 

 
 

 


Рис.1.3. Электромагнит с внеш­ним поперечно-движущимся яко­рем

 

В каждой из трех перечисленных групп электромагнитов по­стоянного тока в свою очередь имеется ряд конструктивных разно­видностей, определяемых конструкцией магнитной цепи. Кроме того, в зависимости от способа вклю­чения обмотки электромагнита разли­чают электромагниты с обмотками параллельного включения и с обмот­ками последовательного включения.

В первом случае обмотка выпол­няется таким образом, что ее вклю­чают на полное напряжение источ­ника питания непосредственно или через добавочное сопротивление. Ток в цепи обмотки параллельного вклю­чения полностью, или в значитель­ной степени, определяется ее пара­метрами.

Обмотка последовательного вклю­чения практически не влияет на ве­личину тока той цепи, в которую она включается. Последний определяется параметрами остальных эле­ментов цепи. Благодаря этим особенностям некоторые характе­ристики электромагнитов параллельного и последовательного включений, в первую очередь их динамические характеристики, оказываются различными.

Наконец, электромагниты могут различаться по скорости их срабатывания.

 

КЛАССИФИКАЦИЯ МАГНИТНЫХ ЦЕПЕЙ




Поделиться с друзьями:


Дата добавления: 2014-11-29; Просмотров: 1069; Нарушение авторских прав?; Мы поможем в написании вашей работы!


Нам важно ваше мнение! Был ли полезен опубликованный материал? Да | Нет



studopedia.su - Студопедия (2013 - 2026) год. Все материалы представленные на сайте исключительно с целью ознакомления читателями и не преследуют коммерческих целей или нарушение авторских прав! Последнее добавление




Генерация страницы за: 0.011 сек.