Студопедия

КАТЕГОРИИ:


Архитектура-(3434)Астрономия-(809)Биология-(7483)Биотехнологии-(1457)Военное дело-(14632)Высокие технологии-(1363)География-(913)Геология-(1438)Государство-(451)Демография-(1065)Дом-(47672)Журналистика и СМИ-(912)Изобретательство-(14524)Иностранные языки-(4268)Информатика-(17799)Искусство-(1338)История-(13644)Компьютеры-(11121)Косметика-(55)Кулинария-(373)Культура-(8427)Лингвистика-(374)Литература-(1642)Маркетинг-(23702)Математика-(16968)Машиностроение-(1700)Медицина-(12668)Менеджмент-(24684)Механика-(15423)Науковедение-(506)Образование-(11852)Охрана труда-(3308)Педагогика-(5571)Полиграфия-(1312)Политика-(7869)Право-(5454)Приборостроение-(1369)Программирование-(2801)Производство-(97182)Промышленность-(8706)Психология-(18388)Религия-(3217)Связь-(10668)Сельское хозяйство-(299)Социология-(6455)Спорт-(42831)Строительство-(4793)Торговля-(5050)Транспорт-(2929)Туризм-(1568)Физика-(3942)Философия-(17015)Финансы-(26596)Химия-(22929)Экология-(12095)Экономика-(9961)Электроника-(8441)Электротехника-(4623)Энергетика-(12629)Юриспруденция-(1492)Ядерная техника-(1748)

Схемы деаэрационной установки




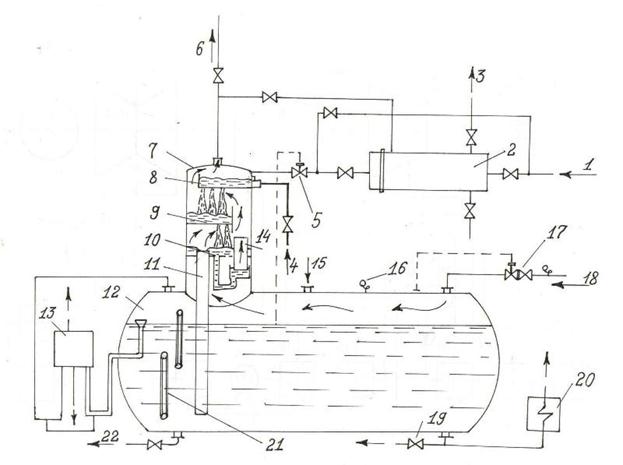
Схема деаэрационной установки атмосферного давления с колонкой струйно-барботажного типа показана на рис. 10.1.

Основными элементами деаэратора являются его колонка, где происходит основной подогрев и деаэрация воды, и аккумуляторный бак для хранения запаса деаэрированной воды.

В верхней части колонки расположено водораспределительное устройство с перфорированной тарелкой 8 для смешения потоков поступающей воды и равномерного распределения ее по сечению, через отверстия которой вода струйками сливается на водоперепускной лист 9, а с него – на барботажный перфорированный лист 10. В центре колонки через барботажный и водоперепускной листы проходят пароперепускные трубы 14, установленные коаксиально. Под ними имеется поддон, заполняемый водой по водоперепускным трубам с барботажного листа. Уровень в поддоне определяется паровой подушкой под барботажным листом. В зависимости от нагрузки деаэратора уровень воды частично или полностью может перекрывать вход пара в пароперепускные трубы, обеспечивая беспровальный режим работы барботажного устройства. Специальная перегородка и горловина бака образуют гидрозатвор, препятствующий проходу пара, подвод которого осуществляется ниже поддона, мимо барботажного листа.

 

 

 

Рис. 10.1. Принципиальная схема деаэрационной установки:

1 – подвод химически очищенной воды; 2 – охладитель выпара; 3,6 – выхлоп в атмосферу; 4 – подвод основного конденсата; 5 – регулятор уровня; 7 – деаэрационная колонка КДА; 8 – верхняя тарелка; 9 – перепускная тарелка; 10 – барботажная тарелка; 11 – водосливная труба; 12 – деаэраторный бак; 13 – предохранительное устройство; 14 – пароперепускное устройство; 15 – подвод горячего конденсата; 16 – манометр; 17 – регулятор давления;

18 – подвод греющего пара; 19 – отвод деаэрированной воды; 20 – теплообменник для

охлаждения проб воды; 21 – указатель уровня; 22 – дренаж

 

В самой верхней части колонки имеется штуцер, к которому присоединяется линия выпара. Выпар обеспечивает вентиляцию колонки.

Для уменьшения потерь теплоты и теплоносителя выпар деаэратора поступает в охладитель выпара, где большая часть содержащегося в нем пара конденсируется и возвращается в цикл ТЭС.

Теплота конденсации выпара используется для подогрева одного из потоков поступающей в деаэратор воды, температура которой на входе в охладитель выпара не должна превышать 60–70 . В противном случае не будет обеспечена эффективная конденсация выпара, поскольку его охладитель имеет свободный выход в атмосферу и давление в его корпусе лишь немного превышает атмосферное.

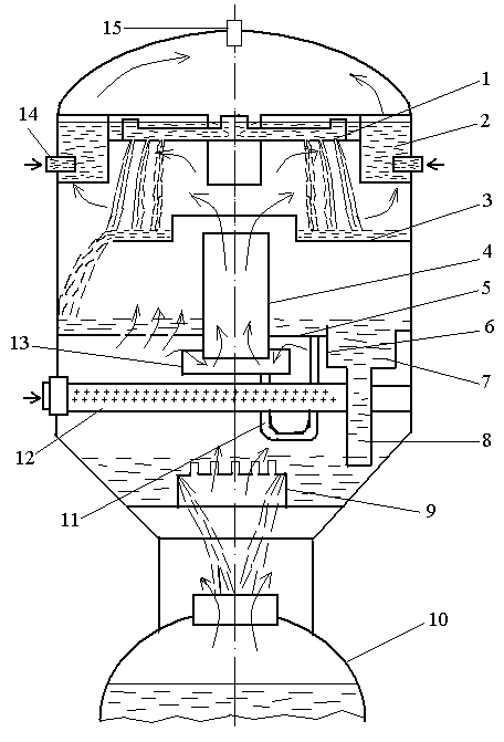
Принципиальная схема колонки КДП-1600А показана на рис. 10.2. Наиболее существенное отличие колонок большой производительности заключается в конструкции их нижней части, имеющей переходный штуцер (на рис. 10.2 переходный патрубок 6) для соединения колонки большого диаметра с баком, который в свою очередь требует для колонок повышенного давления установки дополнительного нижнего днища. Возможна также установка на одном баке двух колонок меньшей производительности.

Деаэрационные колонки устанавливаются непосредственно на деаэраторных баках, обеспечивающих необходимый запас воды и надежную работу питательных насосов. По нормам технологического проектирования 1976 г. запас воды в баках основных деаэраторов блочных установок ТЭС должен обеспечивать работу питательных насосов в течение не менее 3,5 мин. Для неблочных установок расчетный запас воды в деаэраторных баках должен обеспечивать номинальную паропроизводительность котлов в течение 7 мин.

В типоразмере колонки КДП-1600А буквенные обозначения означают – колонка деаэратора повышенного давления, буква А указывает, что колонка применяется на АЭС; число показывает номинальную производительность колонки, т/ч. В типоразмере бака БДП-185-2А числа означают: первое – полезная вместимость бака, м , второе – число колонок, устанавливаемых на баке.

В деаэраторах барботажного типа поток пара, который вводится в слой воды, подвергается дроблению на пузыри. Преимуществом деаэраторов барботажного типа является их компактность при высоком качестве деаэрации. Благодаря вводу пара в слой воды происходит некоторый перегрев ее относительно температуры насыщения, соответствующей давлению в паровом пространстве над поверхностью воды. Величина перегрева определяется высотой столба жидкости над барботажным устройством. При движении воды, увлекаемой пузырьками пара вверх происходит ее вскипание, способствующее лучшему выделению из раствора не только кислорода, но и углекислоты, которая в деаэраторах других типов удаляется из воды не полностью.

 

 

Рис. 10.2. Принципиальная схема деаэрационной колонки КДП-1600А:

1 – перфорированная тарелка; 2 – смесительное устройство; 3 – водоперепускной лист;

4 – пароперепускная труба; 5 – перфорированный барботажный лист; 6 – патрубок; 7 – горловина для слива воды; 8 – переходный патрубок диаметром 2400 мм; 9 – труба для вентиляции переходного патрубка; 10 – подвод пара (потоки пара показаны стрелками)

 

Присутствующая в воде углекислота подразделяется на свободную (газ СО ) с связанную (бикарбонат натрия NaHCO и аммония NH HCO ). Последняя сама по себе безвредна для металла пароводяного тракта ТЭС, но при высокой температуре (в котлах) она подвергается термическому разложению с выделением свободной СО , которая вместе с паром попадает в турбину, а оттуда проникает в регенеративную систему, растворяется в конденсате и вызывает интенсивную коррозию трубных систем регенеративных подогревателей. Борьба с углекислотной коррозией является в настоящее время серьезной проблемой. Способность к удалению из воды СО и к разложению бикарбонатов считается основным преимуществом деаэраторов барботажного типа, ввиду чего этому типу деаэраторов в настоящее время отдается предпочтение при обработке питательной воды котлов.

Процесс разложения бикарбонатов усиливается с повышением температуры и давления в деаэраторе, с увеличением времени пребывания воды в аппарате и начальной концентрации бикарбонатов в исходной воде. В барботажном устройстве наряду со значительным развитием суммарной поверхности контакта фаз обеспечивается интенсивная турбулизация жидкости. Удельная поверхность контакта фаз при барботаже в зависимости от конструкции устройства и режима его работы может достигать 670–1500 м . Поэтому барботажные деаэрирующие устройства обладают большей компактностью, чем устройства с дырчатыми тарелками струйного типа или пленочные устройства. Конструкции их весьма разнообразны.

Оптимальный относительный расход пара на барботаж должен состьавлять для деаэраторов атмосферного давления около 20 кг, а для деаэраторов повышенного давления – 14 кг на 1 т деаэрируемой воды. При повышенной начальной бикарбонатной щелочности воды 0,2–0,45 мг-экв/кг относительный расход пара на барботаж может быть увеличен до 25–30 кг/т.

Эффективность барботажных устройств снижается при значительном уменьшении удельного расхода пара. Для обеспечения глубокой деаэрации вода в деаэраторе должна подогреваться не менее чем на 10 , если нет возможности для увеличения расхода выпара.

Затопленные в аккумуляторных баках барботажные устройства в настоящее время не применяются из-за сложной конструкции, трудностей обслуживания и ремонта, сложности регулирования расхода пара на барботаж, необходимости иметь сторонний источник пара на барботаж или специальную защиту против заброса воды в турбину при сбросах нагрузки.

Некоторое время для крупных энергоблоков применялись струйно-барботажные деаэраторы с горизонтальными колонками, где при той же удельной нагрузке горизонтального сечения, не увеличивая диаметра колонки, можно было обеспечить требующуюся большую пропускную способность. Их недостатками были стесненное расположение тарелок из-за ограничений по высоте и чувствительность к отклонениям от горизонтали при установке тарелок, что приводило к гидравлическим и тепловым перекосам и к ухудшению качества деаэрации. Поэтому вернулись к вертикальным колонкам, более удобным по условиям размещения в них как струйного, так и барботажного отсеков. Были разработаны деаэраторы со встроенными в колонку компактными барботажными устройствами не нуждающимися в паре от постороннего источника. Поскольку барботажные устройства способны эффективно работать лишь в узком диапазоне паровых нагрузок, предложено при больших тепловых нагрузках байпасировать избыток греющего пара в зону массовой конденсации к струйному отсеку, минуя барботажное устройство. Струйный отсек в этом случае служит лишь для нагрева воды до температуры, близкой к насыщению, и для грубой ее предварительной деаэрации.

На рис.10.3 представлена конструктивная схема деаэрационной колонки ДП-1600 для деаэратора ДП- 3200 (2 × 1600)/185.

Как и в деаэраторных колонках ДСП-1000 и ДП-2000, здесь предусмотрена двухступенчатая деаэрация воды. В водораспределительном устройстве штуцера для подвода основного конденсата расположены ниже верхней тарелки, что позволяет несколько уменьшить вертикальные габариты колонки. Рабочее давление в этом деаэраторе принято равным 1,3 МПа. Исходная вода для деаэрации поступает в карманы смесительного устройства и через его борт сливается на перфорированный лист. Через отверстия в листе вода струями падает на переливную тарелку и через сегментный проем на ее краю попадает на барботажное устройство. По непровальному барботажному листу вода движется слева направо и обрабатывается паром, проходящим через его отверстия. Справа вода через порог переливается в приемную камеру, из которой по сливным трубам через гидрозатвор, образованный этими трубами, опущенными ниже уровня воды, сливается в кольцевой карман. Из кольцевого кармана вода переливается через борт и горловину в аккумуляторный бак деаэратора. Пар по коллектору поступает под барботажный лист, под которым устанавливается устойчивая паровая подушка, препятствующая провалу воды через отверстия. При высоте паровой подушки около 140 мм в работу включается пароперепускная труба, по которой избыточный пар перепускается мимо барботажного листа. Пароперепускная труба опущена в поддон для создания гидрозатвора. Заливка гидрозатвора происходит автоматически через U-образные трубы.

 

Рис. 10.3. Схематичное изображение деаэрационной колонки ДП-1600 для деаэратора

ДП-3200 (2×1600)/185:

1 – перфорированный лист; 2–водораспределитель; 3 – переливная тарелка;

4 – пароперепускная труба; 5 – барботажный лист; 6 – порог; 7 – приемная камера;

8 – сливные трубы; 9 – горловина; 10 – аккумуляторный бак; 11 – трубы для заполнения водой поддона пароперепуска; 12 – коллектор греющего пара; 13 – поддон;

14 – штуцер основного конденсата; 15 – штуцер выпара

 

 

В этой конструкции деаэратора сопряжение колонки с баком впервые выполнено с помощью конического переходного штуцера, что позволило уменьшить ослабление бака деаэратора отверстием под колонку.

 




Поделиться с друзьями:


Дата добавления: 2014-11-29; Просмотров: 5804; Нарушение авторских прав?; Мы поможем в написании вашей работы!


Нам важно ваше мнение! Был ли полезен опубликованный материал? Да | Нет



studopedia.su - Студопедия (2013 - 2025) год. Все материалы представленные на сайте исключительно с целью ознакомления читателями и не преследуют коммерческих целей или нарушение авторских прав! Последнее добавление




Генерация страницы за: 0.009 сек.