Студопедия

КАТЕГОРИИ:


Архитектура-(3434)Астрономия-(809)Биология-(7483)Биотехнологии-(1457)Военное дело-(14632)Высокие технологии-(1363)География-(913)Геология-(1438)Государство-(451)Демография-(1065)Дом-(47672)Журналистика и СМИ-(912)Изобретательство-(14524)Иностранные языки-(4268)Информатика-(17799)Искусство-(1338)История-(13644)Компьютеры-(11121)Косметика-(55)Кулинария-(373)Культура-(8427)Лингвистика-(374)Литература-(1642)Маркетинг-(23702)Математика-(16968)Машиностроение-(1700)Медицина-(12668)Менеджмент-(24684)Механика-(15423)Науковедение-(506)Образование-(11852)Охрана труда-(3308)Педагогика-(5571)Полиграфия-(1312)Политика-(7869)Право-(5454)Приборостроение-(1369)Программирование-(2801)Производство-(97182)Промышленность-(8706)Психология-(18388)Религия-(3217)Связь-(10668)Сельское хозяйство-(299)Социология-(6455)Спорт-(42831)Строительство-(4793)Торговля-(5050)Транспорт-(2929)Туризм-(1568)Физика-(3942)Философия-(17015)Финансы-(26596)Химия-(22929)Экология-(12095)Экономика-(9961)Электроника-(8441)Электротехника-(4623)Энергетика-(12629)Юриспруденция-(1492)Ядерная техника-(1748)

Разработка техники и технологии бурения глубоких скважин в ледниках и ледниковых покровах




Одна из главных проблем бурения глубоких скважин – обеспечение длительной устойчивости открытого ствола во льдах, способных к пластическим деформациям под действием горного давления.

Как показали исследования ЛГИ, успешное решение этой проблемы возможно только при заполнении скважины специальной незамерзающей жидкостью. Но это требует совершенствования технических средств и технологии бурения плавлением.

А увеличение глубины бурения требует более сложного и энергоемкого спуско-подъемного оборудования и т.д.

Анализ показал, что всем требованиям могут отвечать два класса жидкостей:

- солевые или спиртовые (антифризные) растворы на водной основе;

- гидрофобные растворы на углеводородной основе.

Применение солевых растворов ограничено температурной кристаллизацией и высокой концентрацией солей. Растворы становятся вязкими, малоподвижными, обладают низкой стабильностью и коррозионной активностью.

Более широко применяют водные растворы антифризов на основе этилового спирта и этиленгликоля, особенно для неглубоких скважин при температуре льда не ниже -30°С.

В ЛГИ исследовались жидкости на углеводородной основе (авиационное топливо марки ТС-1, утяжелитель – фреон II (хладон II).

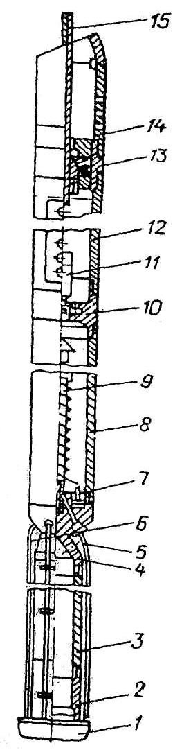
На рис.2.3 представлена конструкция снаряда ТБ3С-152М. Были испытаны (успешно) 2 кольцевых нагревателя: литой неразборный и литой разъемный (можно менять нагревательные элементы). Специальные ТЭНы диаметром 7 и 10мм, нагревательный кабель диаметром 3,1 и 2,0мм. Uраб =100-220В, ток до 10А. Номинальный наружный диаметр 152мм, внутренний диаметр 112мм, высота нагревателя 40-55мм.

 

Рис. 2.3 – Термобуровой снаряд ТБ3С-152М

1 – кольцевой нагреватель

2 – кернорвательное устройство

3 – керноприемная труба

4 – нижний монтажный переходник

5 – водоподъемные трубки

6 – трубки с водоподводящими проводами

7 – нагревательные элементы системы обогрева

8 – водосборный бак

9 – центральная водоподъемная трубка

10 – насосный переходник

11 – электронасос

12 – электроотсек

13 – кабельный замок с датчиком веса снаряда

14 – шламовая труба

15 – грузонесущий кабель

 

Кернорватель – из нержавеющей стали, ножи – из титана. Колонковая труба стальная диаметром 127/118мм.

Центробежный насос ЭЦН-91Б (U =27B) засасывает талую воду в водосборный бак, чтобы она не замерзала по пути в трубках смонтированы элементы обогрева - отрезки нагревательного провода. vмех =2,00м/ч, длина рейса около 3м.

С увеличением глубины скважины контроль за процессом бурения усложнялся. Поэтому были разработаны и испытаны устройство для автоматической подачи снаряда на забой с заданной осевой нагрузкойи система контроля за основными режимными параметрами бурения плавлением.

Для повышения надежности работы снаряда все нагревательные устройства имели резервные элементы.

Достигнутые ТЭП при экспериментальном бурении плавлением залитых низкотемпературной жидкостью глубоких скважин позволили считать разрабатываемый комплекс технических средств и технологических приемов вполне пригодным и эффективным для бурения глубоких скважин с полным отбором керна через всю толщу льда в районах Центральной Антарктиды.

 




Поделиться с друзьями:


Дата добавления: 2014-11-29; Просмотров: 686; Нарушение авторских прав?; Мы поможем в написании вашей работы!


Нам важно ваше мнение! Был ли полезен опубликованный материал? Да | Нет



studopedia.su - Студопедия (2013 - 2025) год. Все материалы представленные на сайте исключительно с целью ознакомления читателями и не преследуют коммерческих целей или нарушение авторских прав! Последнее добавление




Генерация страницы за: 0.01 сек.