Студопедия

КАТЕГОРИИ:


Архитектура-(3434)Астрономия-(809)Биология-(7483)Биотехнологии-(1457)Военное дело-(14632)Высокие технологии-(1363)География-(913)Геология-(1438)Государство-(451)Демография-(1065)Дом-(47672)Журналистика и СМИ-(912)Изобретательство-(14524)Иностранные языки-(4268)Информатика-(17799)Искусство-(1338)История-(13644)Компьютеры-(11121)Косметика-(55)Кулинария-(373)Культура-(8427)Лингвистика-(374)Литература-(1642)Маркетинг-(23702)Математика-(16968)Машиностроение-(1700)Медицина-(12668)Менеджмент-(24684)Механика-(15423)Науковедение-(506)Образование-(11852)Охрана труда-(3308)Педагогика-(5571)Полиграфия-(1312)Политика-(7869)Право-(5454)Приборостроение-(1369)Программирование-(2801)Производство-(97182)Промышленность-(8706)Психология-(18388)Религия-(3217)Связь-(10668)Сельское хозяйство-(299)Социология-(6455)Спорт-(42831)Строительство-(4793)Торговля-(5050)Транспорт-(2929)Туризм-(1568)Физика-(3942)Философия-(17015)Финансы-(26596)Химия-(22929)Экология-(12095)Экономика-(9961)Электроника-(8441)Электротехника-(4623)Энергетика-(12629)Юриспруденция-(1492)Ядерная техника-(1748)

Устройство выпарных аппаратов




ЛАБОРАТОРНАЯ РАБОТА №11

Цель работы: Изучение основных принципов концентрирования растворов выпариванием. Изучение конструкции выпарных аппаратов.

Порядок выполнения работы:

1. Внимательно изучить основные способы концентрирования растворов выпариванием и конструкции выпарных аппаратов.

2. Подготовить краткое описание принципа работы изучаемого оборудования.

3. Ответить на контрольные вопросы.

ОСНОВНОЕ СОДЕРЖАНИЕ РАБОТЫ

Выпариванием называют процесс концентрирования растворов твердых нелетучих или мало летучих веществ путем удаления летучего растворителя и отвода образовавшихся паров.

Выпаривание в промышленности обычно проводится при кипении раствора. При выпаривании растворов твердых веществ в ряде пищевых производств достигают насыщения раствора. При дальнейшем удалении растворителя из такого раствора происходит кристаллизация, в результате которой выделяется растворенное вещество.

Выпаривание применяется для повышения концентрации разбавленных растворов или выделения из них растворенного вещества путем кристаллизация. Процесс выпаривания широко используется не только при производстве сгущенных молочных продуктов, но и в сахарном, и кондитерском производстве и т.д.

В пищевой промышленности выпаривают, как правило, водные растворы.

Выпаривание проводят в выпарных аппаратах.

Процесс выпаривания может проводиться непрерывно и периодически. Аппараты периодического действия используются в основном в производствах малого масштаба.

В крупнотоннажных производствах применяются непрерывно действующие выпарные установки, площадь поверхности нагрева которых достигает 6000-10000 м". При таких поверхностях нагрева решающим фактором, который определяет экономичность установки, является расход греющего чара и воды.

Выпаривание осуществляется как пол вакуумом, так и при атмосферном и избыточном давлениях.

При выпаривании под вакуумом в аппарате создается вакуум путем конденсации вторичного пара в специальном конденсаторе и отсасывания из него неконденсирующихся газов с помощью вакуум-насоса.

Выпаривание под вакуумом позволяет снизить температуру кипения раствора, что особенно важно при выпаривании пищевых растворов, которые особенно чувствительны к высоким температурам. Применение вакуума позволяет увеличить движущую силу теплопередачи и, как следствие, уменьшить площадь поверхности выпарных аппаратов, а следовательно, их материалоемкость.

При выпаривании раствора под атмосферным давлением образующийся вторичный пар сбрасывается в атмосферу.

При выпаривании под повышенным давлением вторичный пар может быть использован как нагревающий агент в подогревателях. Выпаривание под давлением связано с повышением температуры кипения раствора поэтому применение данного способа в пищевой промышленности ограничено свойствами растворов и температурой теплоносителя.

В пищевых производствах применяют однократное выпаривание, которое проводится непрерывным способом или периодически, многократное выпаривание, проводимое непрерывно, и выпаривание с использованием теплового насоса.

Все указанные процессы проводят как под давлением, так и под вакуумом, в зависимости от параметров теплоносителя и свойств выпариваемых растворов.

В качестве теплоносителя обычно используют насыщенный водяной пар. В редких случаях используют электрообогрев, а также нагревание промежуточными теплоносителями (перегретой водой, дифенильной смесью, маслом).

Нагревание выпариваемого раствора производится в большинстве случаев путем передачи теплоты от теплоносителя через стенку разделяющую их.

Наибольшее распространение в пищевых производствах полумили трубчатые выпарные аппараты с естественной и принудительной циркуляцией и площадью поверхности нагрева 10-1800 м2. В зависимости от расположения греющей камеры аппараты бывают с соосной греющей камерой и с вынесенной греющей камерой.

Кроме перечисленных аппаратов, применяются различные конструкции пленочных выпарных аппаратов.

При выборе конструкции выпарного аппарата учитываются теплофизические свойства раствора, склонность к кристаллизации чувствительность к высоким температурам, полочная разность температур и каждом корпусе, площадь поверхности теплообменного аппарата, технологические особенности.

Выпарные аппараты изготавливаются из углеродистом коррозиестойкой и двухслойной стали.

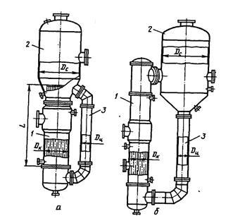
Выпарные аппараты с естественной циркуляцией просты по конструкции и применяются для выпаривания растворов с невысокой вязкостью, не склонных к кристаллизации. Эти аппараты бывают с соосной и вынесенной греющей камерами (рис.1а, б).

Рис. 1 Выпарные аппараты с естественной циркуляцией раствора:

а — с соосной греющей камерой; б— с вынесенной греющей камерой; 1- греющая камера; 2

сепаратор; 3— циркуляционная труба; Dс, Dк , Dц — диаметры соответственно Сепаратора, камера и циркуляционной трубы; L — длина камеры

Выпарной аппарат состоит из сепаратора, греющей камеры и циркуляционной грубы. Сепаратор представляет собой цилиндрическую емкость с эллиптической крышкой, присоединенной с помощью болтов к греющей камере. В сепараторе для отделения капелек жидкости от вторичного пара устанавливают различной конструкции отбойники. Греющая камера выполнена в виде вертикального кожухотрубчатого теплообменника, и межтрубчатое пространство которого поступает греющий пар, а в греющих трубках кипит раствор. Нижние части сепаратора и греющей камеры соединены циркуляционной трубой.

Естественная циркуляция возникает в замкнутой системе, состоящей из необогреваемой циркуляционной трубы и кипятильных труб. Если жидкость в трубах нагрета до кипения, то в результате выпаривания части жидкости в этих трубах образуется парожидкостная смесь, плотность которой меньше плотности самой жидкости. Таким образом, вес столба жидкости в циркуляционной трубе больше, чем в кипятильных трубах, вследствие чего происходит циркуляция кипящей жидкости по пути: кипятильные трубы - перовое пространство - циркуляционная труба - трубы и т. д. При циркуляции повышается коэффициент теплоотдачи со стороны кипящей жидкости и снижается образование накипи на поверхности труб. Для естественной циркуляции требуются два условия: 1- достаточная высота уровня жидкости в циркуляционной трубе, чтобы уравновесить столб парожидкостной смеси и создать необходимую скорость; 2 -достаточная интенсивность парообразования в кипятильных трубах, чтобы парожидкостная смесь имела возможно малую плотность.

Представленные на рис. 1 аппараты выгодно отличаются от устаревших конструкций аппаратов с центральной циркуляционной трубой. Наличие обогреваемой центральной циркуляционной трубы приводило к снижению интенсивности циркуляции.

Парообразование в кипятильных трубах определяется физическими свойствами раствора (главным образом вязкостью) и разностью температур между стенкой трубы и жидкостью. Чем ниже вязкость раствора и чем больше разность температур, тем интенсивнее парообразование и больше скорость циркуляции. Для создания интенсивной циркуляции разность температур между греющим паром и раствором должна быть не ниже 10°С.

Выпарные аппарату, показанные на рис. 1, имеют площадь поверхности теплопередачи от 10 до 1200м2, длину кипятильных труб от 3 до 9 м. в зависимости от их диаметра. Диаметр кипятильных труб составляет 25, 38 и 57 мм. Избыточное давление в греющей камере 0,3 -1,6 МПа, а в сепараторе вакуум примерно 93,0 кПа. Соотношение площадей сечения циркуляционной трубы и греющей камеры составляет не менее 0,3.

Выпарные аппараты с естественной циркуляцией отличаются простотой конструкции и легкодоступны для ремонта и очистки.

Выпарные аппараты с принудительной циркуляцией раствора позволяют повысить интенсивность циркуляции раствора и коэффициент теплопередачи.

На рис.2 показаны такие аппараты с соосной и вынесенной греющей камерами.

Циркуляция жидкости производится пропеллерным или центробежным насосом. Свежий раствор подается в нижнюю часть кипятильника, а упаренный раствор отводится из нижней части сепаратора. Уровень жидкости поддерживается несколько ниже верхнего обреза кипятильных труб. Поскольку вся циркуляционная система почти полностью заполнена жидкостью, работа насоса затрачивается лишь на преодоление гидравлических сопротивлений.

Давление внизу кипятильных труб больше, чем вверху, на величину давления столба жидкости в трубах плюс их гидравлическое сопротивление. Ввиду этого на большей части высоты кипятильных труб жидкость не кипит, а подогревается. Закипание происходит только на небольшом участке верхней части трубы. Количество перекачиваемой насосом жидкости во много раз превышает количество испаряемой воды, поэтому отношение массы жидкости к массе пара в парожидкостной смеем выходящей из кипятильных труб, очень велико.

Рис. 2 Выпарные аппараты с принудительной циркуляцией раствора:

а — с соосной греющей камерой; б — с вынесенной греющей камерой; 1 — греющая камера; 2 сепаратор; 3— Циркуляционная труба; 4—насос. Остальные обозначения см. на рис. 1

Скорость циркуляции жидкости в кипятильных трубах принимают равной 1,5-3,5 м/с. Скорость циркуляции жидкости определяется производительностью циркуляционного насоса, поэтому аппараты с принудительной циркуляцией пригодны при работе с малыми разностями температур между греющим паром и раствором (3-5°С) и при выпаривании растворов с большой вязкостью.

Выпарные аппараты с принудительной циркуляцией имеют площадь поверхности теплопередачи от 25 до 1200 м2, длину кипятильных труб - от 4 до 9 м в зависимости от их диаметров, которые составляют 25, 38, 57 мм. Избыточное давление в греющей камере от 0,3 до 1,0 МПа, а в сепараторе вакуум 93 кПа. Соотношение площадей сечения реляционной трубы и греющей камеры не менее 0,9.

Достоинствами аппаратов с принудительной циркуляцией являются высокие коэффициенты теплопередачи(в 3-4 раза больше, чем при естественной циркуляции), а следовательно, и значительно меньше площади поверхности теплопередачи, а также отсутствие загрязнения поверхности теплопередачи при выпаривании кристаллизующихся растворов и возможность работы при небольших разностях температур. Недостаток этих аппаратов - затраты энергии на работу насоса. Применение принудительной циркуляции целесообразно при изготовлении аппарата из дорогого металла для выпаривания кристаллизующихся и вязких растворов.

Пленочные выпарные аппараты применяются для концентрирования растворов, чувствительных к высоким температурам. При необходимом времени пребывания в зоне высоких температур раствор не успевает перегреться и его качество не снижается. Выпаривание в пленочных аппаратах происходит за один проход раствора через трубы.

Пленочные аппараты бывают с восходящей пленкой и соосной или вынесенной греющей камерой.

Пленочные аппараты, как и описанные выше, состоят (рис. 3) из греющей камеры и сепаратора. В греющей камере расположены трубы длиной от 5 до 9м, которые обогреваются греющим паром.

На рис.3 показан пленочный выпарной аппарат с восходящей пленкой и соосной греющей камерой. Исходный раствор подается в трубы снизу, причем уровень жидкости в трубах поддерживается на уровне 20-25% высоты труб. В остальной части труб находится парожидкостная смесь. Раствор в виде пленки находится на поверхности труб, а пар движется по оси трубы с большой скоростью, увлекая за собой пленку жидкости. При движения пара и пленки жидкости, за счет трения, происходят турбулизация пленки и интенсивное обновление поверхности. За счет этих факторов достигаются высокие коэффициенты теплопередачи и большая поверхность испарения. Пленочные выпарные аппараты изготавливаются с площадью поверхности теплопередачи от 63 до 2500м с диаметром труб 36 или 57 мм. Избыточное давление в греющей камере от 0,3 до 1,0 МПа, а о сепараторе вакуум - 93 кПа.

Рис. 3 Пленочные выпарные аппараты:

а- с восходящей пленкой и соосной греющей камерой; б — с падающей пленкой и вынесенной греющей камерой; 1 — сепаратор; 2 — греющая камера

Недостатком пленочных аппаратов является неустойчивость работы при колебаниях давления греющего пара. При нарушении режима аппарат можно перевести на работу с циркуляцией раствора, как в аппаратах с принудительной циркуляцией.

Роторно-пленочные выпарные аппараты применяют для концентрирования пищевых растворов, а также суспензий.

Роторно-пленочный аппарат представляет собой цилиндрический или конический корпус с обогреваемой рубашкой (рис.4). Внутри корпуса вращается ротор, распределяющий раствор по цилиндрической поверхности корпуса в виде пленки, а в некоторых случаях - в виде струй и капель. Роторно-пленочные аппараты выполнены, как правило, из нержавеющем стали Х18Н10Т и углеродистой стали. Высота аппаратов достигает 12,5 м при диаметре 1,0 м, площадь поверхности теплообмена - от 0,8 до 16 м2.

Роторно-пленочные аппараты бывают с жестким или размазывающим ротором. Жесткий ротор изготавливается пустотелым с лопастями. Зазор между лопастью и стенкой аппарата составляет от 0,4 до 1,5 мм. Исходный продукт подается в верхнюю часть аппарата и лопастями распределяется по цилиндрической стенке в виде пленки. Окружная скорость лопастей достигает 12 м/с. При работе под вакуумом (при давлении до 100 Па) вал ротора уплотняется специальным торцевым уплотнением. Нижний подшипник смазывается перерабатываемым материалом.

 

Рис. 4 Роторно-пленочный выпарной аппарат:

1- привод; 2-уплотнение; 3-ротор; 4-флажок; 5-корпус; 6- рубашка

Принципиальное отличие испарителя с размазывающим ротором заключается в применении ротора с шарнирно-закрепленными на валу флажками. При вращении ротора флажки прижимаются центробежной силой к внутренней поверхности корпуса и размазывают по ней пленки. Такие аппараты применяются также для проведения совмещенного процесса концентрирования и сушки. Диаметр аппаратов достигает 1 м, площадь от 0,8 до 12м2, окружная скорость вращения ротора с флажками-5 м/с.

Благодаря осевому перемещению ротора конструкция аппаратов позволяет регулировать толщину пленки и тем самым скорость процесса.

Роторно-пленочные аппараты имеют более высокие коэффициенты теплопередачи, чем аппараты с падающей пленкой, они достигают значении, равных 2300-2700 Вт/м-град, в то время как в аппаратах с падающей пленкой - 1500-1600 Вт/м-град.

КОНТРОЛЬНЫЕ ВОПРОСЫ

1. Что называют процессом выпаривания?

2. Какие способы выпаривания водных растворов существуют?

3. Что называют выпариванием под вакуумом и когда его применяют?

4. Что лежит в основе выпаривания под давлением и когда его можно применять?

5. Что обычно используется в качестве теплоносителя при выпаривании?

6. Из каких основных узлов состоят выпарные аппараты?

7. Какие типы аппаратов по расположению греющей камеры различают?

8. В чем заключается принцип действия аппаратов с естественной циркуляцией?

9. В чем достоинства я недостатки аппаратов с принудительной циркуляцией раствора?

10.В чем заключается принцип действия пленочных выпарных аппаратов и в каких случаях их применяют?

11. Как устроены роторно-пленочные выпарные аппараты?

12. Для каких процессов могут быть применимы роторно-пленочные выпарные аппараты?

 




Поделиться с друзьями:


Дата добавления: 2014-12-07; Просмотров: 7491; Нарушение авторских прав?; Мы поможем в написании вашей работы!


Нам важно ваше мнение! Был ли полезен опубликованный материал? Да | Нет



studopedia.su - Студопедия (2013 - 2025) год. Все материалы представленные на сайте исключительно с целью ознакомления читателями и не преследуют коммерческих целей или нарушение авторских прав! Последнее добавление




Генерация страницы за: 0.009 сек.