Студопедия

КАТЕГОРИИ:


Архитектура-(3434)Астрономия-(809)Биология-(7483)Биотехнологии-(1457)Военное дело-(14632)Высокие технологии-(1363)География-(913)Геология-(1438)Государство-(451)Демография-(1065)Дом-(47672)Журналистика и СМИ-(912)Изобретательство-(14524)Иностранные языки-(4268)Информатика-(17799)Искусство-(1338)История-(13644)Компьютеры-(11121)Косметика-(55)Кулинария-(373)Культура-(8427)Лингвистика-(374)Литература-(1642)Маркетинг-(23702)Математика-(16968)Машиностроение-(1700)Медицина-(12668)Менеджмент-(24684)Механика-(15423)Науковедение-(506)Образование-(11852)Охрана труда-(3308)Педагогика-(5571)Полиграфия-(1312)Политика-(7869)Право-(5454)Приборостроение-(1369)Программирование-(2801)Производство-(97182)Промышленность-(8706)Психология-(18388)Религия-(3217)Связь-(10668)Сельское хозяйство-(299)Социология-(6455)Спорт-(42831)Строительство-(4793)Торговля-(5050)Транспорт-(2929)Туризм-(1568)Физика-(3942)Философия-(17015)Финансы-(26596)Химия-(22929)Экология-(12095)Экономика-(9961)Электроника-(8441)Электротехника-(4623)Энергетика-(12629)Юриспруденция-(1492)Ядерная техника-(1748)

Преобразователи сигналов




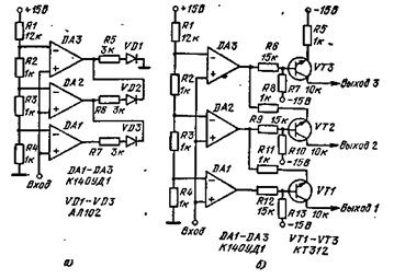
Пороговый преобразователь входного сигнала. Схема (рис. 15.46, а) осуществляет поочередное включение светодиодов, подсоединенных к выходам ОУ. Диоды включены таким образом, что при включении последующего диода выключается предыду­щий. Это достигается тем, что пороги- открывания ОУ различны: у усилителя DA1 минимальный порог, а у усилителя DA3 — макси­мальный. У всех закрытых ОУ выходные напряжения имеют мину­совое значение. С включением первого усилителя через первый светоднод протекает ток, он светится. Когда включается второй усилитель, загорается второй светодиод, а первый выключается, по­скольку выходные напряжения первых двух усилителей будут равны.

Рис. 15.46

 

Если вместо светодиодов поставить транзисторы, то в зависи­мости от уровня входного сигнала будет включаться определенный транзистор и через его коллектор потечет ток. Ток регулируется эмиттерными резисторами. На схеме (рис. 15.46, б) ток равен 10 мА.

Квантующий преобразователь. Устройство служит для кванто­вания входного сигнала на дискретные уровни и отображения его на светодиодном экране. Схема (рис, 15.47) состоит из двух парал-лельцых рядов ОУ (компараторов). Каждый ОУ имеет свой порог открывания. Микросхемы DAIDA9 имеют пороги открывания, установленные с дискретностью 50 мВ, а ОУ DA10DA19 имеют пороги с дискретностью 500 мВ. Входной сигнал поступает одно­временно на все входы ОУ. При нулевом входном сигнале ОУ DAIDA9 будут иметь на выходе положительные напряжения, а DA10DA19 — отрицательные. Когда входное напряжение достиг­нет 50 мВ, переключится ОУ DA9. При дальнейшем увеличении входного сигнала будут поочередно включаться ОУ DA8DA1. Микросхема DA1 переключится при входном напряжении 450 мВ. Когда напряжение на входе достигнет 500 мВ, переключится ОУ DA19. На выходе микросхемы появится напряжение положитель­ной полярности, которое пройдет через диод VD9 на транзистор VT9. Полевой транзистор включен в режим генератора тока. С по­мощью резистора R29 устанавливается ток стока 1 мА. Этот ток при Протекании через резисторы R2R10 изменит пороги переключения микросхем DAIDA9. У микросхемы DA9. порог составляет 550 мВ, а у микросхемы DA8 — 600 мВ и т. д. Микросхемы DAIDA9 вновь начнут отслеживать входной сигнал. Когда входной сигнал достиг­нет уровня 1 В, сработает микросхема DA18, которая снова изме­нит пороги срабатывания, микросхем DAIDA9. Этот процесс пе­риодически будет повторяться до максимального значения входно­го сигнала, равного 5 В. Для настройки преобразователя необходимо значительное внимание уделить стабильности ОС, вводимой через транзисторы. Следует с большой точностью устанавливать пороги открывания микросхем.

 

Рис. 15.47

 

Рассмотренную схему можно применить как преобразователь аналог — код, если на выходе ОУ поставить дополнительные логи­ческие элементы.

Рис. 15.48

 

Преобразователь «напряжение — частота». Входной сигнал от­рицательной полярности подается на вход интегратора (рис 1548 а) Напряжение на выходе ОУ DA1 ллавно нарастает: Микросхема DA2 закрыта напряжением с потенциометра R4, Отрицательное выход­ное напряжение этого ОУ закрывает транзистор. Когда напряже­ние на интеграторе превысит напряжение на потенциометре (2 В) ОУ DA2 переключится. Положительное напряжение откроет тран­зистор. Произойдет разряд конденсатора. Если входной сигнал ме­няется от 0,1 до 3 В, то частота линейно меняется от 100 Гц до 10 кГц. Линейный закон изменения частоты выходного сигнала от амплитуды входного выполняется с точностью ±1 % (рис 1548 б)

Рис. 15.49

Рис. 15.50

Преобразователь «напряжение — время». Операционные уси­лители DA1 и DA2 преобразователя (рис. 15.49) образуют генера­тор треугольных импульсов. Микросхема DA2 выдает на выходе прямоугольные импульсы, амплитуда которых определяется стаби­литронами. Микросхема DA1 интегрирует эти прямоугольные им­пульсы «формирует треугольные. Частоту импульсов можно регулировать в пределах от 0,05 до 4 Гц Выходной сигнал генератора треугольных импульсов суммируется с сигналом на входе Нуль-ин­дикатором является ОУ DA3. В момент равенства слагаемых сигна­лов ОУ переключается. Длительность выходного сигнала обратно пропорциональна амплитуде входного. Максимальная амплитуда выходного сигнала зависит от напряжения на стабилитроне VDL Линейный преобразователь «напряжение — частота» При дей­ствии на входе ОУ DA1 преобразователя (рис. 1550, а) положи­тельного напряжения происходит заряд конденсатора С1. Напря­жение на входе ОУ DA2 постепенно увеличивается. Когда это на­пряжение достигнет порогового уровня E2, ОУ DA2 переключится и положительное напряжение на его выходе откроет транзистор VT1. Конденсатор С1 быстро разрядится через транзистор. После этого начинается новый цикл заряда конденсатора. Частота следо­вания импульсных сигналов на выходе микросхемы DA2 определя­ется выражением f=E1/E2R1C. Если транзистор обладает большим неуправляемым коллекторным током, то следует между базой и эмиттером включить резистор сопротивлением 10 кОм. Работа схе­мы проиллюстрирована графиком на рис. 15,50, б.

 

 

Глава 16




Поделиться с друзьями:


Дата добавления: 2014-11-29; Просмотров: 944; Нарушение авторских прав?; Мы поможем в написании вашей работы!


Нам важно ваше мнение! Был ли полезен опубликованный материал? Да | Нет



studopedia.su - Студопедия (2013 - 2025) год. Все материалы представленные на сайте исключительно с целью ознакомления читателями и не преследуют коммерческих целей или нарушение авторских прав! Последнее добавление




Генерация страницы за: 0.009 сек.