Студопедия

КАТЕГОРИИ:


Архитектура-(3434)Астрономия-(809)Биология-(7483)Биотехнологии-(1457)Военное дело-(14632)Высокие технологии-(1363)География-(913)Геология-(1438)Государство-(451)Демография-(1065)Дом-(47672)Журналистика и СМИ-(912)Изобретательство-(14524)Иностранные языки-(4268)Информатика-(17799)Искусство-(1338)История-(13644)Компьютеры-(11121)Косметика-(55)Кулинария-(373)Культура-(8427)Лингвистика-(374)Литература-(1642)Маркетинг-(23702)Математика-(16968)Машиностроение-(1700)Медицина-(12668)Менеджмент-(24684)Механика-(15423)Науковедение-(506)Образование-(11852)Охрана труда-(3308)Педагогика-(5571)Полиграфия-(1312)Политика-(7869)Право-(5454)Приборостроение-(1369)Программирование-(2801)Производство-(97182)Промышленность-(8706)Психология-(18388)Религия-(3217)Связь-(10668)Сельское хозяйство-(299)Социология-(6455)Спорт-(42831)Строительство-(4793)Торговля-(5050)Транспорт-(2929)Туризм-(1568)Физика-(3942)Философия-(17015)Финансы-(26596)Химия-(22929)Экология-(12095)Экономика-(9961)Электроника-(8441)Электротехника-(4623)Энергетика-(12629)Юриспруденция-(1492)Ядерная техника-(1748)

Групповые осветительные сети




Классификация электрических сетей

По назначению электрические сети до 1000 В жилых и общественных зданий делятся на питающие и распределительные.

Питающей сетью называют линии, идущие от трансформаторной подстанции до ВРУ и от ВРУ до силовых распределительных пунктов в силовой сети и до групповых щитков в осветительной сети.

Распределительной сетью называют линии, идущие от распределительных пунктов в силовой сети до силовых электроприемников.

Групповой сетью называются линии, идущие от групповых щитков освещения до светильников в осветительной сети. Линии от этажных групповых щитков к элек­троприемникам квартир жилых домов тоже называют групповыми.

По принципу построения схемы сети разделяются на разомкнутые и замкнутые. Разомкнутая сеть состоит из разветвленных линий к электроприемникам или их груп­пам и получает питание с одной стороны. Простейший пример схемы разомкнутой питающей сети квартир одной секции жилого дома представлен на рис. 4. Однако разомкнутая сеть обладает некоторыми недостатками, которые заключаются в том, что при аварии в любой точке сети питание всех потребителей за аварийным участком прекращается. В разомкнутой сети поддержание необходимого уровня напряжения на зажимах электроприемников в различное время суток без специальных устройств затруднительно. По этим причинам, несмотря на свою простоту, разомкнутые сети не всегда являются оптимальными, что особенно сказывается при высоком уровне нагрузок и большом числе присоединенных электроприемников.

 

Рис. 4. Схема разомкнутой питающей сети секции жилого здания:

1 — автоматический выключатель; 2 — стояк; 3 — ввод в квартиру

 

 

 

Рис. 5. Схема замкнутой питающей сети жилого дома:

1;2—автоматические выключатели; 3 — автомати-ческий выключатель (слабая связь); 4 — стояк;

5 — ввод в квартиру.

 

Замкнутая сеть может иметь один, два и более источников питания, действующих одновременно. На рис. 5 приведён пример замкнутой сети одной секции жилого дома. Преимущество замкнутой сети состоит в том, что при изменениях нагрузки в любой точке сети автоматически меняется токораспределение в ветвях, которое всегда является оптимальным.

Таким образом, в замкнутой сети идет непрерывный процесс выравнивания напряжения на зажимах электроприемников, позволяющий улучшить качество электроэнергии в известных пределах без значительных затрат цветного металла. При разомкнутой сети обычно достигнуть оптимума при тех же затратах не удается. В замкнутой сети благодаря автоматическому перемещению точки токораздела достигается уменьшение влияния асимметрии нагрузок в различных фазах, что также имеет немаловажное значение при случайном сочетании нагрузок. Следует отметить, что в замкнутой сети происходит некоторое снижение суммарного максимума нагрузок по сравнению с разомкнутой сетью.

Представленная на рис. 5 схема является простой замкнутой сетью со «слабой связью» (автоматический выключатель 3). При аварии в любой точке сети в первую очередь должен отключиться автоматический выключатель 3, затем автоматический выключатель в той

линии, где произошло КЗ. При этом половина сети остается в работе. Уставка тока трогания автоматического выключателя 3, или номинальный ток плавкой вставки предохранителя, выбирается существенно ниже, чем у автоматических выключателей (предохранителей) 1 и 2.

Рис. 6. Радиальная схема силовой сети:

1 — распределительный щит;

2 — автоматический выключатель;

3—пусковой аппарат; 4 — линия;

5 — распределительный пункт;

6 — электроприемник.

 

 

Несмотря на указанные преимущества, замкнутые сети пока не получили большого распространения, что в известной мере объясняется затруднениями в устройстве селективной защиты на базе выпускаемых аппаратов (автоматических выключателей и предохранителей) для сетей низкого напряжения. Кроме того, в подобных сетях возрастают токи КЗ, что может создать трудности в выборе аппаратуры. За рубежом замкнутые сети получили некоторое распространение в крупных жилых комплексах с встроенными предприятиями обслуживания, магазинами и зрелищными предприятиями.

Сети могут выполняться по радиальной, магистральной и смешанной схемам.

При радиальной схеме от ВРУ отходят питающие линии без разветвлений к отдельным электроприемникам или отдельным распределительным пунктам (щитам), от которых в свою очередь питаются электроприемники.

На рис.6.показан пример радиальной схемы питающей силовые сети здания. Достоинство радиальной схемы заключается в ее надёжности, так как при выходе из строя одной питающей линии отключается только один электроприемник или группа электроприемников, присоединенных к одному распределительному пункту. Однако эта схема имеет серьезные недостатки, заключающиеся в большом числе питающих линий, увеличенной протяженности сети и, следовательно, значительном расходе цветного металла, увеличенном количестве коммутационных аппаратов. Радиальные схемы с подводкой питания в каждую квартиру жилого дома отдельной линией от ввода в здание явно неэкономичны и не применяются.

Рис. 7. Магистральная схема силовой сети:

1 — распределительный щит; 2—автоматический выключатель; 3—питающая линия; 4 — силовой распределительный пункт; 5 — электроприемник: 6, 7, 8 — электроприёмники, включенные в «цепочку».

 

Для внутренних электрических сетей характерны магистральные схемы (рис.7), при которых к одной питающей линии с учетом удобной трассировки присоединяются несколько распределительных пунктов (щитов).

В жилых домах к одной питающей горизонтальной линии могут быть присоединены один или несколько стояков, от которых в свою очередь отходят ответвления к этажным щиткам. Однако надо иметь в виду, что при присоединении двух и более стояков к одной питающей линии в домах высотой 6 этажей и более в точке ответвления следует устанавливать аппарат управления для ремонтных целей. Для наружных кабельных сетей, питающих многоэтажные здания, радиальная схема применяется широко, однако с взаимным резервированием питающих линий от ТП до ВРУ здания для обеспечения работы электроприемников при выходе из строя одной из линий.

При питании зданий с относительно небольшими нагрузками, например жилых домов высотой до 5 этажей включительно небольших бытовых мастерских и магазинов, большей частью применяются магистральные схемы с питанием нескольких зданий одной линией. Магистральные схемы широко используются в воздушных сетях при питании мелких зданий в небольших городах и поселках. Магистральные схемы дешевле радиальных, но менее надежны. Многолетняя практика проектирования и строительства, а также многочисленные расчеты и исследования позволили выработать некоторые типичные решения элементов схем, которые приведены далее.

Силовые распределительные пункты должны располагаться вцентре нагрузок или с некоторым смещением в сторону питания, как правило, на тех же этажах, где расположены электроприемники, силовые электроприемники, присоединяемые к распределительным пунктам, группируются с учетом их технологического назначения. В целях экономии проводов и кабелей и уменьшения количества аппаратов защиты на распределительных пунктах электроприемники небольшой мощности объединяются в «цепочки». При этом в «цепочку» можно соединять:

а) на предприятиях общественного питания и торговли — не более четырех электроприемников мощностью до 3кВт;

б) в учебно-производственных мастерских учебных заведения — до пяти силовых электроприемников станочного оборудования;

в) в лабораториях учебных заведений — не более трех лабораторных щитков;

г) в магазинах число кассовых аппаратов, швейных машин в кабинетах домоводства, в пошивочных цехах ателье и комбинатов бытового обслуживания населения, машин по ремонту и отделке обуви — не ограниченно.

Электроприемники, соединяемые в «цепочку», должны быть равными или близкими по установленной мощности.

Аппараты управления, например магнитные пускатели и контакторы, кнопочные посты, в зависимости от местных условий устанавливаются:

а) рассредоточенно или группами вблизи управляемых механизмов;

б) в шкафах станций управления;

в) в изолированных электротехнических помещениях, нишах строительных конструкций, шкафах и т. п. при условии соблюдения требований техники безопасности.

 

 

Рис. 8. Схема питания гражданского здания от однотрансформаторной подстанции.

 

Присоединение электроприемников холодильного, механического и технологического оборудования предприятий торговли и общественного питания выполняется по схемам, приведенным в «Инструкции по проектированию электрооборудования общественных зданий массового строительства». Специфика схем, в которых предусмотрены в некоторых ограниченных случаях дополнительные коммутационные аппараты, обусловлена отсутствием на этих предприятиях квалифицированного обслуживающего персонала.

 

 

 

Рис.9 Схема питания осветительной установки от однотрансформаторной подстанции

 

Рис. 10 Схема питания осветительной установки от одной двухтрансформаторной подстанции:

- щиток рабочего освещения; - щиток аварийного освещения.

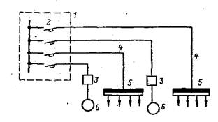
Рис. 11. Схема питания освещения через магистральный щиток

- щиток рабочего освещения; - щиток аварийного освещения

Групповые распределительные щитки осветительной сети целесообразно, как и в силовых сетях, размещать в центре нагрузок со смещением по возможности в сторону источника питания. Однако по условиям архитектурно-планировочных решений и интерьера помещений от этой рекомендации приходится отступать, располагая щитки на лестничных клетках, в коридорах в специальных шкафах-нишах, предусматриваемых в архитектурно-строительной части проекта.

Отходящие от щитков групповые линии могут быть однофазными (фаза плюс нуль), двухфазными (две фазы плюс нуль) и трехфазными четырехпроводными (три фазы плюс нуль), (Рис. 12) Аппараты защиты в нулевых проводах устанавливать не разрешается, за исключением взрывоопасных помещений класса В-1, где в целях повышения взрывобезопасности аппараты защиты устанавливаются не только в фазных, но и в нулевых проводах, а для зануления прокладывается отдельный защитный проводник. Рекомендации для выбора той или иной схемы групповой линии не могут быть однозначными, так как в значительной степени зависят от протяженности, количества светильников, их расположения, удобства управления и эксплуатации, а также обеспечения нормируемых уровней коэффициента пульсации при люминесцентном освещении в помещениях с напряженной зрительной работой. Надо помнить, что предпочтение следует отдавать трехфазным четырехпроводным групповым линиям, обеспечивающим втрое большую нагрузку и в 6 раз меньшую потерю напряжения по сравнению с однофазными групповыми линиями, но при вдвое большей протяженности проводов. В небольших помещениях, где нет особых требований к качеству освещения и установлено небольшое количество светильников, применяются однофазные групповые линии. В помещениях коридорного типа с большим числом мелких помещений по коридору прокладывается четырехпроводная групповая линия, а ответвления в комнаты выполняются двухпроводными.

Ниже приводятся некоторые указания норм по устройству групповых сетей электрического освещения:

а) питание штепсельных розеток местного освещения следует, как правило, выделять в отдельные групповые линии, если это не связано с существенным увеличением протяженности сети;

б) к групповым линиям освещения лестниц, этажных коридоров, холлов, технических подполий, подвалов и чердаков, как и в жилых зданиях, допускается присоединять 60 люминесцентных ламп или ламп накаливания мощностью до 65 Вт включительно на фазу. Для линий, питающих многоламповые люстры, число ламп на фазу не ограничивается;

в) при прокладке по общим трассам рекомендуется объединение нулевых проводов линий одного вида освещения преимущественно для линий, принадлежащих к разным фазам сети. Объединение нулевых проводов линий рабочего и эвакуационного и аварийного освещения не разрешается;

г) общие для нескольких линий нулевые провода при проводке в трубах должны прокладываться совместно с фазными проводами;

д) выключатели должны устанавливаться только на фазных проводах, за исключением случаев, предусмотренных гл. II-3 ПУЭ для взрывоопасных помещений класса В-1.

е) распределение нагрузок между фазами сети освещения должно быть по возможности равномерным, разница в токах наиболее и наименее нагруженной фазы не должна превышать 30% в пределах одного щитка и 10 % в начале питающих линий;

ж) в трехфазных протяженных группах рекомендуется присоединять отдельные светильники к фазам сети в следующем порядке: А, В,С,А, В, С в случаях, когда при отклю-
чении одной или двух фаз необходимо сохранить уменьшенную освещенность по всей площади помещения, например торгового зала, конференц-зала и т. п., и А, В, С, С, В, А,
если такого требования нет;

з) управление общим освещением рекомендуется осуществлять следующим образом:

в помещениях с боковым естественным освещением предусматривать отключение светильников рядами, параллельными окнам;

на одно отключение объединять только светильники, требующие одновременного действия по условиям технологического процесса, например прилавки в магазинах, проходы в книгохранилищах или складах и т. п.;

в крупных помещениях, таких как торговые и обеденные залы, конференц-залы, вестибюли гостиниц, помещения приема заказов домов быта, а также в различных ко­ридорах и проходах предусматривать возможность включе­ния небольшой части светильников, создающих по всей площади освещенность, достаточную для уборки помещения. Для этой же цели могут быть использованы светильники эвакуационного и аварийного освещения;

и) управление эвакуационным и аварийным освещением должно предусматриваться со щитков при минимальном числе последних. Помещения с достаточным естественным освещением и без него должны питаться отдельными группами. Допускается применение для обоих видов помещений общих групп с установкой дополнительных выключателей для помещений, имеющих естественное освещение. Дополнительные выключатели следует предусматривать также для аварийного и эвакуационного освещения отдельных непроходных помещений, в которых люди не находятся постоянно (гардеробы, конференц-залы и т. п.);

к) светильники у входов в здания следует присоединять к групповой сети внутреннего освещения, преимущественно к сети аварийного освещения;

л) светильники и штепсельные розетки местного и переносного освещения при напряжении 12—42 В следует питать от понижающих трансформаторов, присоединяемых к сети рабочего или эвакуационного освещения (в последнем случае только отдельными группами). Применение автотрансформаторов не допускается.

 

Рис.12. Схемы групповых линий при трехфазной системе с нулевым проводом:

а - двухпроводная; б - двухпроводная для взрывоопасных помещений класса В-1; в - трехпроводная; г - четырехпроводная, защищаемая однополюсными автоматами; д - четырехпроводная, защищаемая трехполюсным автоматом.

 




Поделиться с друзьями:


Дата добавления: 2014-12-07; Просмотров: 7237; Нарушение авторских прав?; Мы поможем в написании вашей работы!


Нам важно ваше мнение! Был ли полезен опубликованный материал? Да | Нет



studopedia.su - Студопедия (2013 - 2026) год. Все материалы представленные на сайте исключительно с целью ознакомления читателями и не преследуют коммерческих целей или нарушение авторских прав! Последнее добавление




Генерация страницы за: 0.008 сек.