Студопедия

КАТЕГОРИИ:


Архитектура-(3434)Астрономия-(809)Биология-(7483)Биотехнологии-(1457)Военное дело-(14632)Высокие технологии-(1363)География-(913)Геология-(1438)Государство-(451)Демография-(1065)Дом-(47672)Журналистика и СМИ-(912)Изобретательство-(14524)Иностранные языки-(4268)Информатика-(17799)Искусство-(1338)История-(13644)Компьютеры-(11121)Косметика-(55)Кулинария-(373)Культура-(8427)Лингвистика-(374)Литература-(1642)Маркетинг-(23702)Математика-(16968)Машиностроение-(1700)Медицина-(12668)Менеджмент-(24684)Механика-(15423)Науковедение-(506)Образование-(11852)Охрана труда-(3308)Педагогика-(5571)Полиграфия-(1312)Политика-(7869)Право-(5454)Приборостроение-(1369)Программирование-(2801)Производство-(97182)Промышленность-(8706)Психология-(18388)Религия-(3217)Связь-(10668)Сельское хозяйство-(299)Социология-(6455)Спорт-(42831)Строительство-(4793)Торговля-(5050)Транспорт-(2929)Туризм-(1568)Физика-(3942)Философия-(17015)Финансы-(26596)Химия-(22929)Экология-(12095)Экономика-(9961)Электроника-(8441)Электротехника-(4623)Энергетика-(12629)Юриспруденция-(1492)Ядерная техника-(1748)

Стационарное оборудование для притирки и доводки




Ручное механизированное оборудование

Механизация притирочных и доводочных работ

Так же, как и при выполнении других слесарных операций, механизация притирки и доводки осуществляется двумя способами: использование ручного механизированного оборудования и использование стационарного оборудования (доводочных станков).

 

Притирка конических поверхностей запорных клапанов и кранов выполняется с помощью ручных или электрических дрелей, конструкции которых были описаны выше.

Доводка резьбовых деталей осуществляется при помощи резьбовых колец (наружные резьбы) или специальными резьбовыми оправками (внутренние резьбы). При доводке внутренних резьб большого диаметра применяются раздвижные оправки, а для наружных резьб – специальные сменные регулируемые кольца. Этими инструментами можно пользоваться с применением ручных дрелей.

Доводка заготовок из твердых сплавов выполняется с применением в качестве абразива алмаза (естественного технического или синтетического), карбидов бора и кремния.

 

 

Для выполнения этих операций применяются металлорежущие станки общего назначения – токарные и сверлильные и специальные доводочные станки.

Токарные и сверлильные станки позволяют производить доводку цилиндрических и конических поверхностей, а также резьбовых наружных и внутренних поверхностей при низких частотах вращения шпинделя станка.

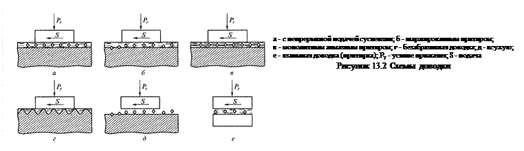
В зависимости от способа нанесения и удержания абразивного материала при доводке и притирке на доводочных станках различаются следующие методы обработки.

1. Доводка с непрерывной подачей суспензии (смесь с малой концентрацией абразивных зерен) обеспечивает более высокую производительность процесса, но меньшую точность и шероховатость поверхности Ra 0,08...0,32 (рис.13.2, а).

2. Доводка с нанесением абразивной пасты на притир осуществляется смесью с повышенной концентрацией абразивных зерен. Производительность при этом несколько снижается, но повышается точность обработки и уменьшается шероховатость обработанной поверхности.

3. Доводка шаржированным притиром (рис. 13.2, б) – это срезание гребешков исходной шероховатости зернами, вдавленными в притир. Этот метод менее производителен, но обеспечивает высокую точность и незначительную шероховатость обработанной поверхности.

 

 
 

 

 


4. Доводка монолитным алмазным притиром (рис.13.2, в) выполняется дисками, имеющими на рабочей поверхности алмазный слой. Это наиболее производительный метод доводки, однако, он не позволяет полностью использовать режущие возможности алмазного слоя.

5. Безабразивная доводка (рис.13.2, г) применяется при обработке заготовок из мягких или пористых материалов.

6. При обработке всухую (рис.13.2, д) получают зеркальную поверхность.

7. Взаимная доводка (притирка) используется для подгонки деталей с высокой точностью (рис.13.2, е).

 




Поделиться с друзьями:


Дата добавления: 2014-12-27; Просмотров: 1052; Нарушение авторских прав?; Мы поможем в написании вашей работы!


Нам важно ваше мнение! Был ли полезен опубликованный материал? Да | Нет



studopedia.su - Студопедия (2013 - 2025) год. Все материалы представленные на сайте исключительно с целью ознакомления читателями и не преследуют коммерческих целей или нарушение авторских прав! Последнее добавление




Генерация страницы за: 0.01 сек.