Студопедия

КАТЕГОРИИ:


Архитектура-(3434)Астрономия-(809)Биология-(7483)Биотехнологии-(1457)Военное дело-(14632)Высокие технологии-(1363)География-(913)Геология-(1438)Государство-(451)Демография-(1065)Дом-(47672)Журналистика и СМИ-(912)Изобретательство-(14524)Иностранные языки-(4268)Информатика-(17799)Искусство-(1338)История-(13644)Компьютеры-(11121)Косметика-(55)Кулинария-(373)Культура-(8427)Лингвистика-(374)Литература-(1642)Маркетинг-(23702)Математика-(16968)Машиностроение-(1700)Медицина-(12668)Менеджмент-(24684)Механика-(15423)Науковедение-(506)Образование-(11852)Охрана труда-(3308)Педагогика-(5571)Полиграфия-(1312)Политика-(7869)Право-(5454)Приборостроение-(1369)Программирование-(2801)Производство-(97182)Промышленность-(8706)Психология-(18388)Религия-(3217)Связь-(10668)Сельское хозяйство-(299)Социология-(6455)Спорт-(42831)Строительство-(4793)Торговля-(5050)Транспорт-(2929)Туризм-(1568)Физика-(3942)Философия-(17015)Финансы-(26596)Химия-(22929)Экология-(12095)Экономика-(9961)Электроника-(8441)Электротехника-(4623)Энергетика-(12629)Юриспруденция-(1492)Ядерная техника-(1748)

Недостаточная мощность




Устранение неисправностей

Момент затяжки

Внимание

Предостережения

Информация по капремонту

Кузов квадрицикла, глушитель

 

Информация по капремонту 18

Устранение неисправностей 19

Передний багажник, колпачок болта 20

Сиденье, поддержка сиденья и задний багажник 21

Панели переднего и заднего багажника, передняя верхняя крышка 22

Задняя верхняя крышка 23

Левосторонняя панель 23

Правосторонняя панель 24

Верхняя крышка бензобака, переднее крыло 25

Подножка 26

Заднее крыло, центральная защитная пластина двигателя (передняя,
центральная, задняя) 27

Переднее внутреннее крыло, передняя защитная пластина 29

Задняя защитная пластина, бампер, защитная пластина бампера 2–13

Колпачок бампера 2–14

Передняя решетка крана, бензобак 2–15

Нижняя пластина, бензобак 2–16

Глушитель 2–17

Описание видимых деталей 2–18

 

 

 

 

Бензин очень легко воспламеним, поэтому на рабочей площадке запрещено пользоваться открытым пламенем. Особое внимание нужно уделять образованию искр. Бензин взрывается в испаренном состоянии, поэтому работать нужно в хорошо проветриваемом помещении.

Снять и надеть глушитель, после того, как он полностью остынет.

 

Эта глава описывает разборку и монтаж багажника, видимых деталей, выхлопной трубы, глушителя и бензобака.

Шланги, кабели и проводка должны быть проложены соответствующим образом.

Заменить прокладку новой после демонтажа глушителя.

После установки глушителя проверить на утечку выхлопных газов.

 

Задний крепежный болт глушителя: 35–45 Н·м

Болт выхлопной трубы глушителя: 35–45 Н·м

Крепежный болт корпуса глушителя: 35–45 Н·м

 

Громкий звук при работе выхлопной трубы

· сломан глушитель

· утечка газов

 

· поврежден глушитель

· утечка газов

· глушитель засорен


 

Передний багажник, колпачок болта   Демонтировать:   Открутить 2 гайки с нижней части переднего бампера   Поднять вверх и снять колпачок болта   Демонтировать:   Фиксирующий болт 1, болт 2 Фиксирующий болт 3, болт 4 Переднюю стойку   Установка:   Для установки повторить операции по демонтажу в обратном порядке   Момент затяжки   Фиксирующий болт 1, болт 2: 35 Н·м – 45 Н·м Фиксирующий болт 3, болт 4: 25 Н·м – 30 Н·м

 

Сиденье   Демонтировать: Поднять вверх замок сиденья Снять сиденье   Установка Поднять вверх замок сиденья Нажать на сиденье вперед и вниз   Примечание: Убедитесь, что сиденье надежно установлено     Поддержка сиденья, задний багажник   Демонтировать: - сиденье - болт 1, болт 2 Снять поддержку сиденья   Открутите 2 гайки крепления задней стойки и заднего бампера с низа заднего бампера   Разъедините разъемы задних указателей поворотов

 

 


 

Открутить болт 1, 2 Снять задний багажник Установка Для установки повторить операцию снятия в обратном порядке Момент затяжки: фиксирующий болт, задний багажник 35 Н·м – 45 Н·м Декоративная панель, передний багажник Снять: 4 самонарезающих винта с переднего багажника Установка: Для установки повторить операции в обратном порядке. Декоративная панель, задний багажник Повторить вышеперечисленные операции для снятия и установки декоративной панели заднего багажника. Передняя верхняя крышка Снять: Передний багажник Нажать на пластмассовый винт вверх от низа переднего крыла плоской отверткой; вынуть пластмассовый винт и его гнездо. Отсоединить зажимы верхней крышки от бензобака и переднего крыла как показано на рисунке; подтолкнуть вперед и снять переднюю верхнюю крышку

 

Установка: При установке повторить операции снятия в обратном порядке. Задняя верхняя крышка Демонтаж: –задний багажник Отсоединить зажимы задней верхней крышки от заднего крыла. Снять заднюю верхнюю крышку Установка: Для установки повторить операции снятия в обратном порядке  
  Левосторонняя панель   Снять: – Сиденье Открутить болт 1 левой панели и верхней крышки бензобака   Открутить болт 2 левой панели и переднего крыла

 

Выкрутить винт левосторонней панели и подножки Снять левостороннюю панель в направлении, указанном на рисунке справа Установка: Повторить операции снятия в обратном порядке
Правосторонняя панель   Снять: – Сиденье Выкрутить болт 1 правосторонней панели и верхней крышки бензобака   Выкрутить болт 2 правосторонней панели и переднего крыла

 

Открутить винт правосторонней панели и правой подножки Снять правостороннюю панель как показано на рис. Справа Установка: Повторить операции снятия в обратном порядке
Верхняя крышка бензобака Снять: – сиденье – передний багажник – верхнюю переднюю крышку – левостороннюю панель – правостороннюю панель – болт 1, болт 2 – болт 3, болт 4 – верхнюю крышку, бензобак Установка: Повторить операции снятия в обратном порядке

 

Переднее крыло Снять: – передний багажник – верхнюю переднюю крышку – левостороннюю панель – правостороннюю панель – верхнюю крышку, бензобак   Отсоединить разъемы проводки от переднего крыла, снять электрические компоненты с переднего крыла, открутить 3 болта от рамы   Открутить 6 винтов и гаек с левой и правой подножки   Снять переднее крыло
  Левая подножка   Снять: – левостороннюю панель – 3 винта и гайки переднего крыла – 3 винта и гайки заднего крыла

 

– болт 1 – болт 2 – болт 3 – болт 4 – левую подножка   Установка: Повторить операции снятия в обратном порядке   Правая подножка См. «Левая подножка» для снятия и установки правой подножки
Заднее крыло Снять: – сиденье – задний багажник – заднюю верхнюю крышку – левостороннюю и правостороннюю панели – фиксирующую пластину аккумулятора, крышку аккумулятора   Снять аккумулятор   Снять электрические компоненты с заднего крыла (Глава 8) Отсоединить разъемы проводки от заднего крыла (Глава 8) Поднять вверх и снять заднее крыло

 

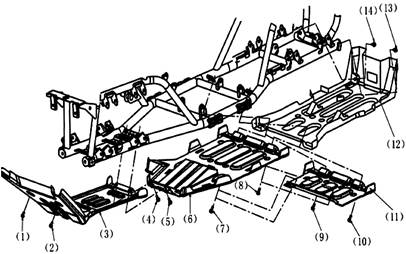
1. Болт 1 2. Болт 2 3. Защитная пластина двигателя (передняя) 4. Болт 3 5. Болт 4 6. Защитная пластина двигателя (центр.) 7. Болт 5 8. Болт 6 9. Болт 7 10. Болт 8 11. Двух гнездовая защитная пластина 12. Защитная пластина двигателя (задняя) 13. Болт 9 14. Болт 9 15. Болт 10

Разборка

Примечание: передняя защитная пластина, центральная защитная пластина, задняя защитная пластина и двухгнездовая защитная пластина расположены снизу квадрицикла. Ремонтный персонал при работе должен находиться под квадрициклом, поэтому для обеспечения безопасности нужно обеспечить надежную фиксацию квадрицикла.




Поделиться с друзьями:


Дата добавления: 2015-01-03; Просмотров: 267; Нарушение авторских прав?; Мы поможем в написании вашей работы!


Нам важно ваше мнение! Был ли полезен опубликованный материал? Да | Нет



studopedia.su - Студопедия (2013 - 2026) год. Все материалы представленные на сайте исключительно с целью ознакомления читателями и не преследуют коммерческих целей или нарушение авторских прав! Последнее добавление




Генерация страницы за: 0.008 сек.