Студопедия

КАТЕГОРИИ:


Архитектура-(3434)Астрономия-(809)Биология-(7483)Биотехнологии-(1457)Военное дело-(14632)Высокие технологии-(1363)География-(913)Геология-(1438)Государство-(451)Демография-(1065)Дом-(47672)Журналистика и СМИ-(912)Изобретательство-(14524)Иностранные языки-(4268)Информатика-(17799)Искусство-(1338)История-(13644)Компьютеры-(11121)Косметика-(55)Кулинария-(373)Культура-(8427)Лингвистика-(374)Литература-(1642)Маркетинг-(23702)Математика-(16968)Машиностроение-(1700)Медицина-(12668)Менеджмент-(24684)Механика-(15423)Науковедение-(506)Образование-(11852)Охрана труда-(3308)Педагогика-(5571)Полиграфия-(1312)Политика-(7869)Право-(5454)Приборостроение-(1369)Программирование-(2801)Производство-(97182)Промышленность-(8706)Психология-(18388)Религия-(3217)Связь-(10668)Сельское хозяйство-(299)Социология-(6455)Спорт-(42831)Строительство-(4793)Торговля-(5050)Транспорт-(2929)Туризм-(1568)Физика-(3942)Философия-(17015)Финансы-(26596)Химия-(22929)Экология-(12095)Экономика-(9961)Электроника-(8441)Электротехника-(4623)Энергетика-(12629)Юриспруденция-(1492)Ядерная техника-(1748)

Конструкция пароводяного подогревателя




Пароводяные теплообменные аппараты выполняются двух или четырехходовыми с длиной трубок 2, 3, 4 м.

По способам компенсации температурных удлинений они могут быть выполнены: без компенсации (жесткая конструкция); с компенсацией в результате свободных удлинений (нежесткая конструкция).

В теплообменных аппаратах жесткой конструкции (рис. 7.3) теплообменные трубы 3 и кожух 2 соединены жестко с трубными решетками 6. Для полужесткой конструкции (рис. 7.3 б) на кожухе 2 предусмотрены специальные компенсаторы температурных деформаций, выполненные в виде гофр. Также аппараты применяются в тех случаях, когда возникающие температурные напряжения в трубах и кожухе вследствие разности температур не превышают допустимые значения. В теплообменных аппаратах нежесткой конструкции (рис. 7.3 в) трубы и кожух могут свободно перемещаться относительно друг друга благодаря применению пучка U-образных труб 3 (рис. 7.3 в), подвижной (плавающей) трубной решетки 6 (рис. 7.3 г) и компенсатора 7 на ней (рис. 7.3 д).

Пароводяные теплообменные аппараты имеют следующую конструкцию: латунные трубы 3 (рис. 7.3), жестко закрепленные в трубных решетках 6; кожух 2; крышки 5 с фланцами, образующими распределительные камеры; опоры 4; перегородки, расположенные в межтрубном пространстве; на кожухе и крышках установлены технологические патрубки и штуцера.

Наиболее распространенным способом закрепления труб в отверстиях трубных решеток является вальцовка – прочноплотное соединение, образующееся в результате деформации трубы в радиальном направлении под действием силы, создаваемой вальцовочным инструментом. На рис. 7.4 а показана вальцовка при использовании двух кольцевых расширительных канавок в трубной решетке, на рисунке 7.4 б – коническая развальцовка входного участка трубы. При конической развальцовке входного участка труб снижается коэффициент местного сопротивления.

Типичные способы соединения неподвижных трубных решеток 2 с фланцем 3 кожуха показаны в таблице 7.1. Некоторые способы уплотнения подвижной трубной решетки приведены в таблице 7.2.

 

Рисунок 7.3 Схема рекуперативных ТА с различными способами
компенсаций температурных удлинений:

1 – распределительная камера; 2 – кожух;

3 – теплообменные трубы; 4 – опора;

5 – задняя крышка; 6 – трубная решетка;

7 – компенсатор

 

Рис. 7.4 Способы закрепления концов труб в трубной решетки:

а – вальцовка при использовании двух кольцевых
расширительных канавок в трубной решетки;

б – коническая развальцовка входного участка труб

 

Таблица 7.1

Типичные способы соединения неподвижных трубных решеток с фланцем кожуха

Схема соединения Характеристика Область применения
     
Соединение типа выступ (в трубной решетке 2) – впадина (во фланце 4 крышки). Уплотнение обеспечивается с помощью шпилек 1. В рекуперативных ТА с давлением внутри кожуха менее 1 МПа.  
Двойные трубные решетки. Трубы 5 развальцованы в обеих трубных решетках 2 и 3. Нижняя трубная решетка 3 приварена к кожуху и является его фланцем. В рекуперативных ТА, в межтрубном пространстве которых циркулирует находящаяся под высоким давлением агрессивная или загрязняющая окружающую среду жидкость.

Окончание таблицы 7.1

     
Соединение типа выступ (с обеих сторон трубной решетки 2) – впадина (во фланцах 3 кожуха и 4 крышки) При предъявлении повышенных требований к надежности соединения.
Соединение типа шип-паз. То же
Соединение типа выступ-впадина с кольцевой проточкой 6 во фланцах 3 и 4 и трубной решетке 2.   То же

Таблица 7.2

Некоторые способы уплотнения подвижной трубной решетки

Схема Характеристика Область применения
Уплотнение с помощью сальника. Узел уплотнения 1 трубной решетки 2 установлен в выточке фланца кожуха 3. Уплотнительные кольца поджимаются специальной втулкой 4. Если кольца резиновые, то места их стыка вулканизируют. При давлении в кожухе менее 2 МПа и температуре менее 300 ºС.
То же То же
Уплотнение с помощью мембраны. Мембрана 1 помещена между фланцем крышки с одной стороны и фланцем кожуха 3 и подвижной трубной решеткой 2 - с другой. Закрепление мембраны осуществляется с помощью шпилек 4. При высоких давлениях в кожухе и температуре свыше 300 °С.

 

Пароводяные подогреватели по ОСТ 34-531-68, ОСТ 34-532-68, ОСТ 34-576-68 и ОСТ 34-577-68 предназначены для систем отопления и горячего водоснабжения с давлением греющего пара и нагреваемой воды не более 5 ати. Причем давление пара в подогревателе должно быть на 1÷2 бар ниже давления воды, а его температура не должна превышать 300 ºС. Температура нагреваемой воды должна быть не выше 180 ºС.

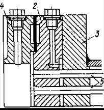
На рис 7.5 изображен продольный разрез двухходового пароводяного подогревателя. Подогреватель состоит из корпуса 1, передней 2 и задней 3 водяных камер, колпака 4 и трубной системы 5. Передняя решетка трубной системы зажата между фланцем корпуса и фланцем передней водяной камеры. Задняя решетка соединяется анкерными болтами 6 с задней водяной камерой и вместе с ней может свободно перемещаться при удлинениях трубок, вызванных повышением температуры. Чтобы поток пара не повредил трубную систему, напротив парового патрубка установлен стальной дырчатый щиток 7.

Принцип действия: холодная вода поступает через нижний патрубок передней водяной камеры, проходит через два или четыре хода по трубкам (рис. 7.5, 7.6), получает тепло от конденсирующегося пара и выходит через верхний патрубок этой же камеры; пар поступает в корпус через верхний центральный патрубок, а удаляется из теплообменника через нижний центральный патрубок в виде конденсата.

Корпуса, водяные камеры и колпаки изготовляют из стальных труб или листовой стали. Подогреватели снабжены приварными муфтами для установки крана выпуска воздуха и конденсата из колпака, а также двух ртутных угловых термометров с гильзами, которые расположены во входном и выходном отсеках передней водяной камеры.

 

Рис. 7.5 Продольный разрез двухходового пароводяного
подогревателя


Рис. 7.6 Продольный и поперечный разрезы четырехходового
пароводяного подогревателя
Контрольные вопросы

1. Укажите, какой теплоноситель направляется в трубы, а какой – в межтрубное пространство?

2. Какие устройства используются в водоводяных теплообменниках для обеспечения тепловой компенсации?

3. Сколько ходов используется в пароводяных теплообменных аппаратах?

4. Какие мероприятия в пароводяных теплообменниках используются для компенсации удлинения латунных труб при их нагреве?

5. Какой способ крепления латунных труб к трубным решеткам используется при сборке водонагревателей?

6. Как обеспечивается герметичность корпуса теплообменных аппаратов?

7. Объясните принцип работы пароводяного теплообменного аппарата.

8. Объясните принцип работы многосекционного водоводяного теплообменного аппарата.

9. Какие устройства используются в межтрубном пространстве для равномерного распределения греющего пара по поверхности теплообменного аппарата?




Поделиться с друзьями:


Дата добавления: 2014-12-23; Просмотров: 3030; Нарушение авторских прав?; Мы поможем в написании вашей работы!


Нам важно ваше мнение! Был ли полезен опубликованный материал? Да | Нет



studopedia.su - Студопедия (2013 - 2025) год. Все материалы представленные на сайте исключительно с целью ознакомления читателями и не преследуют коммерческих целей или нарушение авторских прав! Последнее добавление




Генерация страницы за: 0.009 сек.