Студопедия

КАТЕГОРИИ:


Архитектура-(3434)Астрономия-(809)Биология-(7483)Биотехнологии-(1457)Военное дело-(14632)Высокие технологии-(1363)География-(913)Геология-(1438)Государство-(451)Демография-(1065)Дом-(47672)Журналистика и СМИ-(912)Изобретательство-(14524)Иностранные языки-(4268)Информатика-(17799)Искусство-(1338)История-(13644)Компьютеры-(11121)Косметика-(55)Кулинария-(373)Культура-(8427)Лингвистика-(374)Литература-(1642)Маркетинг-(23702)Математика-(16968)Машиностроение-(1700)Медицина-(12668)Менеджмент-(24684)Механика-(15423)Науковедение-(506)Образование-(11852)Охрана труда-(3308)Педагогика-(5571)Полиграфия-(1312)Политика-(7869)Право-(5454)Приборостроение-(1369)Программирование-(2801)Производство-(97182)Промышленность-(8706)Психология-(18388)Религия-(3217)Связь-(10668)Сельское хозяйство-(299)Социология-(6455)Спорт-(42831)Строительство-(4793)Торговля-(5050)Транспорт-(2929)Туризм-(1568)Физика-(3942)Философия-(17015)Финансы-(26596)Химия-(22929)Экология-(12095)Экономика-(9961)Электроника-(8441)Электротехника-(4623)Энергетика-(12629)Юриспруденция-(1492)Ядерная техника-(1748)

Санитарная охрана почвы




4.1. Мероприятия по санитарной охране почвы. Санитарная охрана почвы представляет собой комплекс мероприятий, целью которых является сохранение такого качества почвы, которое бы не приводило к развитию инфекционных и паразитарных заболеваний, связанных с почвой, как фактором передачи, а также заболеваний, обусловленных прямым или опосредованным поступлением ЭХВ и радионуклидов по всем экологическим цепочкам.

Этот комплекс мероприятий включает в себя гигиеническое нормирование загрязнителей, законодательные, технологические, санитарно-технические, планировочные мероприятия, государственный санитарно-эпидемиологический надзор за санитарным состоянием почвы. Они направлены на сохранение и восстановление важных для человека естественных состава и свойств почвы, предупреждение загрязнения почвы выбросами и отходами промышленных предприятий, сельского хозяйства, агрохимикатами, органическими веществами животного и растительного происхождения.

Разработка гигиенических нормативов является одним из важнейших звеньев в системе санитарной охраны почвы. К настоящему времени имеются нормативы немногим более чем для 200 веществ, тогда как в почве присутствуют десятки тысяч. Отсутствие сведений об их безопасных уровнях, механизме биологического действия, отдаленных последствиях, влиянии на почвенный биоценоз, возможности опосредованного действия через другие среды крайне затрудняет гигиеническую оценку химического загрязнения почвы и разработку действенных профилактических мероприятий. Гигиеническое нормирование загрязнителей в почве имеет тем большее значение, что, экзогенные химические вещества и радионуклиды, попавшие в почву, мигрируя в различные среды, могут поступать в организм различными путями.

Технологические мероприятия направлены на создание безотходных или малоотходных, замкнутых технологий на производствах, замену токсичных веществ менее токсичными, улучшение технологии очистки населенных мест, обезвреживания отходов и др. Они предупреждают загрязнение почвы и являются наиболее действенными мерами по санитарной охране почвы.

Планировочные мероприятия решают вопросы правильного подбора участков для строительства сооружений по обезвреживанию и утилизации отходв, установления и соблюдения санитарно-защитной зоны вокруг них, зонирования территорий полигонов, выбора схем движения автотранспорта, вывозящего отходы.

Законодательными мероприятиями являются мероприятия, выполнение которых имеет силу закона и закреплено в системе законов и иных документов, имеющих силу закона. В законодательных актах устанавливаются юридические нормы землепользования, регулирование процессов образования и обезвреживания отходов, функции и права различных государственных органов и хозяйствующих субъектов, их взаимодействие, ответственность за невыполнение требований закона. К законодательным мероприятиям относится также разработка и внедрение новых законов государственного и межнационального уровня, направленных на урегулирование вновь возникающих вопросов по санитарной охране почвы в изменяющейся реальной обстановке.

Большое гигиеническое значение в санитарной охране почвы отводится санитарно-техническим мероприятиям, заключающимся в санитарной очистке населенных мест от твердых и жидких отбросов (см. раздел 4.2.).

Санитарный надзор осуществляется за проведением всех мероприятий по предупреждению загрязнения почвы, за правильным устройством, содержанием и эксплуатацией сооружений по обезвреживанию, ликвидации и утилизации отходов, применением безопасных методов рекультивации земель и рациональным их использованием.

4.2.Гигиенические основы очистки населенных мест. Санитарная очистка населенных мест от твердых и жидких отбросов включает в себя сходные этапы: сбор отходов, удаление, обезвреживание и утилизацию. Но содержание этих этапов, естественно, отличается в силу характера самих отходов.

Очистка от твердых отбросов. Сбор и временное хранение твердых отбросов (мусора) осуществляют по планово-подворной и планово-поквартирной системам. При планово-подворной системе мусор выносится населением в дворовые мусоросборники, откуда через каждые 2-3 дня вывозится мусоровозом в места обезвреживания и утилизации. В настоящее время используются сменные мусоросборники, что уменьшает загрязнение окружающей территории. При планово-поквартирной системе мусор, скапливаемый в мусорных ведрах в квартирах, выносится и пересыпается жителями в мусоровоз, подъезжающий к дому в определенное время. Недостатками планово-подворной системы являются необходимость отведения специальных оборудованных площадок для мусоросборников, загрязнение воздуха и почвы, при несвоевременном вывозе – загнивание отходов и выплод мух. Планово-поквартирная система более оптимальна в санитарном отношении, но создает неудобства для населения и целесообразна только при наличии одно-двухэтажных зданий. В жилых зданиях, имеющих более 5 этажей, предусматривают мусоропроводы. В мусороприемной камере мусоропроводов должно быть достаточное количество мусоросборников, которые по мере заполнения вывозятся мусоровозами. Все элементы мусоропровода должны быть исправными, загрузочные клапаны оснащены герметичными крышками. Один раз в неделю стволы мусоропроводов должны чиститься, промываться и дезинфицироваться.

Удаление твердых отбросов в большинстве мест осуществляется автотранспортом. За рубежом, в Швейцарии и Мюнхене, внедрен новый метод удаления твердых отходов - пневматическая транспортировка по трубам за пределы населенного пункта. Такая система удаления позволяет исключить ручной труд, временное хранение мусора в мусоросборниках и вытекающие из этого последствия, а также не использовать автоперевозки, которые ввиду малой грузоподъемности автотранспорта, отличаются высокой стоимостью.

Наиболее важным элементом санитарной очистки от отбросов является их обезвреживание. Все методы обезвреживания твердых бытовых отходов делятся на 2 группы: утилизационные и ликвидационные. Утилизационные методы позволяют не только обезвредить мусор, но и использовать его ценные компоненты, тогда как ликвидационные направлены только на обезвреживание. При утилизации мусора выделяют бумагу и тряпье для писчебумажной промышленности, металлические части как вторичное сырье для металлургии, перерабатывают в органические удобрения, биотопливо, используют для получения этилового спирта, сырья для химической промышленности и др.

В зависимости от используемой технологии обезвреживания выделяют следующие группы методов обезвреживания твердых отходов:

· Биотермические (компостирование, биотермические камеры, заводы биотермической переработки, усовершенствованные свалки)

· Термические (мусоросжигательные заводы, пиролиз)

· Химические (гидролиз)

· Механические (разделение отходов с дальнейшей утилизацией, прессованием в строительные блоки)

Выбор системы обезвреживания зависит от многих факторов: экономических затрат, системы сбора и состава мусора, риска загрязнения окружающей среды опасными соединениями и др. Так, используются две системы сбора мусора: унитарная и раздельная. При унитарной все части мусора высыпают совместно в мусоросборники. При раздельной отдельно собираются пищевые отходы, вторичное сырье, полимерные упаковки и др. Пищевые отходы направляются на откорм скоту, а для обезвреживания и утилизации других составных частей используются соответствующие методы в зависимости от поставленных задач. Мусоросжигание является более дорогим методом, чем компостирование, и, кроме того, загрязняет атмосферный воздух золой и токсичными выбросами. Однако, если мусоросжигающие заводы максимально приближены к городу, уменьшаются затраты на вывоз мусора.

Наиболее рентабельными и оправданными в санитарно-гигиеническом отношении методами обезвреживания твердых отходов являются биотермические. В их основе лежит разложение мусора термофильными микроорганизмами, благодаря жизнедеятельности которых температура внутри отбросов повышается до 50-70º, что ускоряет как процесс разложения органики и превращения ее в гумус, так и процесс гибели патогенных и условно- патогенных микроорганизмов, яиц гельминтов, яиц и личинок мух. Процесс резко интенсифицируется при хорошем притоке воздуха, достаточном содержании влаги и легко загнивающих веществ в отходах, высокой обсемененности термофилами.

Наиболее простым вариантом биотермического метода является компостирование, который широко применяют на индивидуальных приусадебных участках, дачах, полях компостирования.

Для компоста на приусадебных участках подготавливают площадку из утрамбованной глины или вырывают неглубокие (до 0,5 м) траншеи. В основание компоста укладывают 10-15-сантиметровый слой компостирующего материала - торфа, огородной земли или созревшего компоста. Поверх этого слоя укладывают 15-20 - сантиметровый слой мусора, в который можно добавлять и содержимое уборных, навоз, сухие листья, ветки, ботву и др. Затем снова прокладывают слой компостирующего материала и слой мусора, и так далее, до тех пор, пока высота компоста не достигнет 1-1,5м.

Для предупреждения размножения мух поверхность компоста засыпается землей или торфом. Периодически компост увлажняют помоями или навозной жижей. На созревание компоста уходит от 5 месяцев до 1,5 лет.

Централизованная биотермическая переработка бытовых отходов осуществляется на полях компостирования за пределами города, куда отходы вывозятся со всего населенного пункта. Мусор укладывают штабелями высотой до 2 м и длиной 25-30м, сверху насыпают слой земли или торфа и закрывают перфорированной полиэтиленовой пленкой. Нельзя использовать для компостирования отходы из лечебно-профилактических учреждений, субпродукты из ветлабораторий, отходы, содержащие примеси радиоактивных, токсических и дезинфицирующих веществ, смол и гудрона. Компостирование в штабелях так же, как и компостирование на приусадебных участках, имеет большую продолжительность, поэтому используют различные методы его интенсификации. Проводят аэрацию штабелей с помощью вентиляционных каналов, предварительное измельчение и увлажнение отходов, периодическое перелопачивание, что способствует сокращению сроков обезвреживания до 2-3месяцев.

Значительно (до 40-60 суток, а при подогревании – до 12-20 суток) сокращается время разложения органических веществ при обезвреживании твердых отходов закрытым методом в биотермических камерах. В них создается оптимальный температурный режим и обогащение кислородом за счет подачи подогретого воздуха. Продолжительность обезвреживания уменьшается также путем добавления в камеру готового компоста и перемешивания отходов.

Наиболее современным биотермическим методом обезвреживания твердых отходов является обезвреживание на компостирующих заводах, где процесс переработки мусора завершается практически в течение 5-6 суток. Существуют различные индустриальные методы компостирования отходов. Один из них, компостирование во вращающихся барабанах (дано-биостабилизаторах фирмы «Дано», Дания) используют во многих странах мира. Мощность заводов - от 5 до 300 т отходов в сутки. Отходы загружаются в медленно вращающийся барабан, куда непрерывно поступает воздух. Ускорение процесса компостирования достигается благодаря аэрации, перемешиванию и измельчению отходов во время вращения барабана, поддержанию постоянно высокой температуры за счет термоизоляции барабана.

Применяется также метод компостирования измельченных отходов в многоэтажном ферментаторе. Отходы вначале подают на верхний этаж ферментатора, откуда компостируемая масса при открытии жалюзийных решеток между этажами перемещается на ниже расположенные этажи. На каждом этаже массу выдерживают в течение 1 суток, проводя естественную или искусственную аэрацию.

Несмотря на большие преимущества утилизационных методов биотермического обезвреживания твердых отходов, наиболее распространенным методом остается пока ликвидационный - захоронение на усовершенствованных свалках, или высоконагружаемых полигонах (рис.5.1.). Так, в США на свалках обезвреживается до 85% твердых бытовых отходов, в странах Западной Европы – 50-89%, тогда как компостированием утилизируется от 2-3 до 18-19% отходов. Свалку располагают за пределами населенного пункта вдали от рекреационных зон и источников питьевого водоснабжения. Используют карьеры, котлованы, овраги или же специально отрывают глубокие рвы. Для предупреждения проникновения загрязнителей в грунты основанием котлована должны служить водонепроницаемые глинистые почвы или искусственно созданная основа. По дну котлована укладывают дренаж для сбора фильтрата. Отходы насыпают слоями толщиной 1,5-2м, перемежая их слоями земли, уплотняют бульдозерами. После достижения проектной высоты свалки ее покрывают сверху изолирующим слоем грунта и почвы, высаживают зеленые насаждения для предотвращения выветривания и вымывания отходов. Устраивают санитарно-защитную зону не менее 500м.

 

 

Рисунок 5.1. Усовершенствованная свалка с защитой грунтовых вод

 

Обезвреживание на полигонах протекает в анаэробных условиях в течение длительного времени – 15-25 лет. В ходе обезвреживания постоянно образуются и выделяются в атмосферный воздух токсичные биогазы: метан, аммиак, сероводород, диоксид углерода и др. В воздухе обнаруживаются также различные биологические загрязнители - бактерии, грибы, актиномицеты. В толще полигона образуется фильтрат, содержащий в высоких концентрациях продукты биохимического разложения органических веществ, токсичные металлы, углеводороды, кетоны, спирты, органические кислоты. Даже при надлежащей эксплуатации полигон может служить прекрасной средой для обитания домашних и пылевых грызунов, мух, комаров. Недостатком этого метода является также выведение из хозяйственного оборота больших площадей земли.

Термическое разложение является одним из быстрых и радикальных способов обезвреживания твердых бытовых отходов. К методам термического обезвреживания относятся мусоросжигание и пиролиз. Мусоросжигание проводят в специальных печах-деструкторах при температуре 900-1000ºС, разрушающей достаточно полно практически все соединения, содержащиеся в

отходах. Образующееся тепло может быть использовано для производства электроэнергии.Однако мусоросжигание сопровождается также образованием шлака, золы и дымовых газов, загрязняющих атмосферный воздух, почву, воду. В среднем при сжигании 1т отходов образуется около 300кг шлака и 6000 м3 дымовых газов. В шлаках обнаруживаются не только обычные минеральные компоненты, но и тяжелые металлы и диоксины. Дымовые газы, выбрасываемые мусоросжигательными заводами, несмотря на очистку, содержат оксиды азота, серы, углерода, фтористый водород и чрезвычайно опасные вещества - диоксины и дибензофураны. Поэтому возникает необходимость складирования золы, как и токсических промышленных отходов, на специальных полигонах, и проведения более сложной очистки дымовых газов, предупреждающей поступление опасных продуктов в воздух.

Более перспективным и экологически чистым методом термического обезвреживания считается пиролиз – разложение органического вещества без доступа кислорода и без добавления химических реагентов при высокой, достигающей 1200-1640ºС, температуре. В процессе пиролиза образуются горючие газы, нефтеподобные масла и негорючие шлаки. Процесс проходит в замкнутом аппарате, поэтому выбросы в атмосферу минимальны, а шлаки инертны, в силу чего могут использоваться в строительстве дорог или в производстве строительных материалов. В ходе пиролиза подвергаются разрушению и такие проблемные отходы, как пластмассы, резина и др.

Особенности обезвреживания промышленных отходов. Все промышленные отходы делятся на утилизируемые и неутилизируемые. Утилизируемые отходы не уничтожаются и не захораниваются, а используются в различных отраслях народного хозяйства в качестве топлива, стройматериалов, получения вторичного сырья, удобрений ит.д. Например, из отходов ТЭЦ и шлаков металлургических предприятий можно получить легкие наполнители бетона, минеральные волокна, цемент, изоляционные материалы. Неутилизируемые отходы представляют опасность для здоровья человека. Их обезвреживание зависит от класса опасности отходов, но во всех странах мира основными методами являются термическая обработка и захоронение на специальных промышленных полигонах в соответствии с требованиями, предъявляемыми для каждого из классов опасности.

Очистка от жидких отбросов. Длясбора, хранения и удаления жидких отбросов используют две системы: вывозную (ассенизационную) и канализационную (сплавную). При вывозной системе нечистоты накапливаются в помойницах и выгребах уборных, а затем вывозятся транспортом за пределы населенного пункта. При канализационной системе из домовых приемников: унитаза, раковин умывальника, кухни, ванной, жидкие отходы сплавляются по трубам на очистные сооружения, располагающиеся за городом.

Для зданий, не оборудованных канализацией, лучшим типом уборной является люфтклозет, устраиваемый внутри здания. Из уборной нечистоты по сточной трубе попадают в вентилируемый выгреб. Вентиляция предупреждает проникновение в помещение дурнопахнущих газов, а также усиливая испарение жидкой части нечистот, способствует уменьшению их общего объема. Дворовые уборные менее удовлетворяют санитарным требованиям, так как они не защищены от мух, проникновения грызунов, труднее очищаются, не лишены запахов, при неправильном устройстве являются источником загрязнения окружающей среды. Дворовые уборные должны находиться на расстоянии не менее 20 м от жилых построек. Выгреб должен быть водонепроницаемым, стенки его выкладывают из кирпича или бетонируют, дно покрывают 30-сантиметровым слоем жирной глины. Для удаления газов выгреб оборудуют вытяжной трубой. В общественных туалетах нечистоты должны ежедневно засыпаться сухой хлорной известью, полы уборной, ручки и стены периодически дезинфицироваться. Аналогично устраиваются выгребы для помойниц. Очистка выгребов должна осуществляться 1 раз в 1-2 месяца.

Вывозятся жидкие отбросы ассенизационным транспортом, оборудованным системой пневматической откачки нечистот из выгребов.

Для обезвреживания жидких отходов в неканализованных населенных пунктах чаще всего используют почвенные методы обезвреживания на полях ассенизации и запахивания. На полях запахивания проводят только обезвреживание нечистот, основанное на применении самоочищающих свойств почвы. На полях ассенизации производится как обезвреживание нечистот, так и выращивание сельскохозяйственных культур. Территория полей ассенизации делится на несколько участков. Одни из них заливают нечистотами и оставляют для обезвреживания, которое длится около 2 лет. На других, где уже завершилась минерализация органических загрязнителей, высевают сельскохозяйственные культуры, причем, в первые 2 года технические или кормовые, а на третий год – овощные, так как в первый год после заливки в почве и на овощах можно обнаружить жизнеспособные патогенные микроорганизмы.

В сельских населенных местах нечистоты зачастую без обезвреживания используются как удобрение на приусадебных участках жителей, что обусловливает высокую опасность инфицирования выращиваемых на этих участках овощей, ягод, корнеплодов. Для обезвреживания лучше применить компостирование, или же внесение нечистот в почву осенью с последующим перепахиванием и повторной вспашкой весной.

Канализационная система является наиболее оптимальной системой сбора, удаления и обезвреживания жидких отходов, так как нечистоты и отбросы удаляются по трубам, не вызывая загрязнения воздуха, почвы, подземных и поверхностных вод. Под канализацией понимают систему сооружений и санитарных мероприятий, обеспечивающих сбор сточных вод, удаление их за пределы населенного пункта по трубопроводам, обезвреживание и выпуск в водоемы или на земельные участки. Различают общесплавную, раздельную (полную и неполную), полураздельную и комбинированные системы канализации. При общесплавной системе бытовые, промышленные и ливневые сточные воды удаляются по одним и тем же трубам и, следовательно, все они подвергаются обезвреживанию. Однако при перегрузке сети за счет ливней и талых вод смесь атмосферных и сточных вод через ливневые спуски, оборудованные на коллекторах, может сбрасываться в водоемы без очистки. Кроме того, поверхностные стоки содержат большое количество механических примесей, что часто приводит к засорению очистных сооружений. При раздельной канализации атмосферные воды отводятся по самостоятельной сети или вместе с условно чистыми производственными водами, а хозяйственно – бытовые воды и загрязненные производственные сточные воды – по другой сети труб. Полная раздельная система предусматривает несколько самостоятельных сетей:

· для отвода только ливневых вод или ливневых вместе с условно чистыми производственными водами;

· для отвода бытовых и части загрязненных производственных вод, разрешенных к удалению по бытовой канализации;

· для отвода загрязненных производственных сточных вод, не допускаемых к удалению с бытовыми водами.

При неполной раздельной системе канализация используется только для отвода и обезвреживания самых загрязненных производственных и бытовых сточных вод, тогда как ливневые воды спускаются в водоемы по открытым лоткам, канавам. Полураздельная система состоит из тех же сетей, что и полная раздельная, но имеет один главный перехватывающий коллектор, к которому подсоединены все сети и по которому на общие очистные сооружения отводятся все сточные воды. Полураздельная система считается в настоящее время наиболее оптимальной, так как позволяет минимизировать загрязнение водоемов ливневыми водами и подвергать очистке все виды сточных вод.

Сточные воды, поступающие на очистные сооружения, проходят несколько этапов очистки:

1. освобождение от плавающих предметов и взвешенных частиц (механическая очистка)

2. освобождение от органических веществ растворенных и находящихся в коллоидном состоянии (биологическая очистка)

3. освобождение от патогенных микроорганизмов (обеззараживание).

Очистка сточных вод может проводиться естественными и искусственными методами. При естественных методах для очистки используются почва и биологические пруды. При почвенных методах сточные воды освобождаются от взвешенных частиц, микроорганизмов, а также от растворенных органических загрязнителей вследствие процессов самоочищения почвы. Аналогично, за счет биохимической минерализации очищаются от органических веществ и сточные воды, спускаемые в биологические пруды, но предварительно подвергнутые механической очистке.

При искусственных методах освобождение прошедших механическую очистку сточных вод от растворенных органических веществ происходит на специальных сооружениях, в которых для разложения и минерализации органики воспроизводятся условия процессов самоочищения, происходящих в почве или в воде.

Для механической очистки используют сооружения, которые делятся на 2 группы: для предварительной очистки (решетки, сита, песколовки и др. и окончательной (горизонтальные, вертикальные, радиальные, двухъярусные отстойники, септики, осветлители-перегниватели и др.). На сооружениях предварительной очистки сточные воды освобождаются от крупных плавающих предметов, грубых примесей, песка, нефти, бензина, масел и др. Грубые частицы задерживаются решетками, песок и другие минеральные примеси оседают при прохождении сточных вод с большой скоростью (0,15-0,3м/сек) через песколовки, представляющие собой небольшие горизонтальные отстойники. При окончательной механической очистке сточные воды освобождаются от легких взвешенных частиц. Для этой цели используются два вида отстойников: дающие свежий ил, т.е., без сбраживания осадка (горизонтальные, вертикальные, радиальные, отстойники) и дающие перегнивший ил, т.е., со сбраживанием осадка, (двухъярусные отстойники, септики, осветлители-перегниватели).

Отстойники без сбраживания осадка применяют в основном в большой канализации, при которой отведение сточных вод превышает 10000 м3/сутки. Высокую эффективность осветления (до 50%) дают горизонтальные отстойники (рис.5.2), представляющие собой прямоугольный резервуар глубиной до 4 м, через который медленно протекают поступающие с торцовой стенки отстойника сточные воды. В вертикальных отстойниках, имеющих форму цилиндра с дном в виде опрокинутого конуса, сточные воды подаются через трубу в центре сооружения. Дойдя до отражательного щита, поток вод изменяет свое направление с вертикального на горизонтальное, а затем на вертикальное восходящее. Осаждение взвешенных частиц происходит при восходящем движении жидкости.

Рисунок 5.2. Схема горизонтального отстойника

1- трубопровод для притока сточной воды; 2,4 – порог для образования равномерного потока; 3- труба для удаления жира и пены в жировой колодец; 5 – скребок для сгребания ила, осевшего на дно; 6- выход осветленной воды; 7- труба для удаления излишка воды; 8 – карман для ила

Образовавшийся свежий ил затем обезвреживают в специальных сооружениях – метантенках, где происходит анаэробное сбраживание осадка.

Отстойники со сбраживанием осадка используются в малой канализации, когда имеется небольшой объем сточных вод. Наибольшее распространение среди них получили септики и двухъярусные отстойники. Септик применяют для очистки сточных вод объемом до 25 м3/сутки. Он представляет собой железобетонный резервуар (рис.5.3.), через который сточные воды протекают очень медленно, находясь в сооружении 2,5-3 суток, в связи с чем септик должен вмещать не менее троекратного суточного объема сточных вод. При прохождении через септик осаждаются даже мелкие и легкие взвешенные частицы органических веществ и яйца гельминтов. Выпавший на дно осадок подвергается анаэробному разложению. Интенсификации процесса способствует корка из взвешенных частиц, образующаяся на поверхности сточной воды и препятствующая рассеиванию тепла. Вентилируют септик через стояк внутренней канализации здания.

 

Рисунок 5.3. Септик

1- выгреб; 2- бетонные стенки выгреба; 3-мятая глина; 4- двойная крышка люка выгреба; 5- железобетонное перекрытие выгреба; 6- сточная труба; 7- санитарные приборы; 8 –вытяжные каналы из кухонных помещений; 9- вентиляционный канал из выгреба; 10 – дефлектор.

 

В течение года 1-2 раза разложившийся осадок удаляют ассенизационной машиной, подсушивают и используют в качестве удобрения. Однако надо иметь в виду, что яйца гельминтов в осадке сохраняют жизнеспособность. Для биологической очистки прошедших через септик вод чаще всего используют поля подземной фильтрации, для чего в землю на глубину 0,5-1,8м от поверхности укладываются оросительные трубы, по которым поступает в почву очищенная в септике сточная вода.

В двухъярусных отстойниках (рис.5.4.) сточная жидкость по лотку поступает в осадочные желоба, представляющие собой верхний ярус отстойника. На дне желобов по всей длине имеется щель, через которую осаждающиеся взвешенные вещества попадают во второй, нижний ярус – иловую (септическую камеру), где происходит сбраживание осадка. Нижние границы щели в осадочных желобах перекрывают одна другую на 15см, в связи с чем предупреждается загрязнение осветленной в желобе воды продуктами гниения, образующимися в нижней камере. Благодаря разделению процесса отстаивания от процесса разложения, газы, образующиеся при сбраживании, выделяются в атмосферный воздух вдоль стенок отстойника, не загрязняя, как в септике, протекающую жидкость. Перегнивший осадок удаляется по трубе.

Рисунок 5.4. Двухъярусный отстойник

А – разрез; Б- план; 1- поступление сточной воды с подводного лотка; 2- подводной лоток; 3 – осадочный желоб; 4- полупогружная или плавающая перегородка; 5- задвижка для сточных вод; 6- труба для отведения осадка(ила); 7- задвижка для осадка; 8 – выгрузка осадка; 9 – лоток для отведения сточной воды.

Сточная жидкость, прошедшая через отстойники, содержит в себе растворенные органические вещества, которые могут загнивать. Поэтому следующим после механической очистки этапом является биологическая очистка вод. Ее осуществляют естественными методами (почвенные, в биологических прудах) или искусственными.

Обезвреживание почвенными методами проводят на так называемых полях орошения и фильтрации. Поля фильтрации используются только лишь для очистки сточных вод, а поля орошения – для очистки и выращивания сельскохозяйственных культур. На полях орошения между грядами, на которых ведутся посадки, вырывают борозды глубиной до 0,5 м (рис. 5.5.).

Рисунок 5.5. Разрез полей орошения: 1-дорога; 2 - канал, который подводит воду; 3 - шиберы для регулирования выпуска сточной жидкости на карту; 4 - каналы-оросители; 5 - открытые дренажные каналы; 6 - оградительные валики; 7 - борозды между грядками

 

Сточные воды подаются в эти борозды, фильтруются через почву и через дренажные трубы или каналы отводятся в водоемы. При прохождении через почву задерживаются патогенные микроорганизмы, яйца гельминтов, а растворенные органические вещества подвергаются минерализации почвенной микрофлорой. Сточные воды содержат много питательного субстрата, что создает условия для интенсивного размножения почвенных микроорганизмов, вследствие чего почвенные частицы оказываются покрытыми сплошной активной биологической пленкой, обладающей большой сорбционной поверхностью и высокой биохимической активностью. Поля фильтрации, в отличие от полей орошения, заливают сплошь. На них допускается значительно большая нагрузка сточными водами, чем на поля орошения.

Используется также еще один метод почвенного обезвреживания сточных вод – на земледельческих полях орошения, принадлежащих производителям сельскохозяйственной продукции. Нормы нагрузки на эти поля в 5-15 раз меньше, чем на коммунальных полях орошения. На них выращивают огородные или кормовые культуры, сеяные травы, воду подают в борозды между грядками. При несоблюдении правил эксплуатации коммунальные и земледельческие поля орошения могут стать источниками инвазирования людей и животных гельминтами, заражения возбудителями различных инфекционных заболеваний.

Почвенные методы является высоко эффективными методами очистки сточных вод, но их применение ограничивается в крупных населенных пунктах, так как при современной плотности населения и нормах водопотребления площадь полей орошения должна быть весьма значительной.

Биологические пруды представляют собой искусственно созданные неглубокие водоемы в почвах, где отсутствует или происходит их слабая фильтрация. Сточные воды после отстаивания непосредственно перед выпуском в пруд разводят в 2-5 раз речной водой и медленно в течение 2-3 суток пропускают через пруд. Очищение может происходить в аэробных и анаэробных условиях. Для интенсификации процессов обезвреживания и усиления аэрации биологические пруды делают небольшой глубины (до 1м), высаживают высшие водные растения (камыш, аир, рогоз и др.) и водоросли, проводят искусственную аэрацию. Водоросли в результате фотосинтеза насыщают воду кислородом, а высшие водные растения, помимо этого, поглощают из нее токсические и органические вещества, очищают от энтеробактерий, выделяют антибиотические вещества.

Биологическая очистка искусственными методами ведется на биоокислителях различного типа, в которых обезвреживание проходит подобно тому, как оно протекает в естественных условиях в почве или воде.

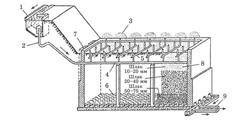
К таким биоокислителям относятся биофильтры, аэротенки, циркуляционно-окислительные каналы и др. Обезвреживание в биофильтрах является воспроизведением процессов минерализации, происходящих в почве. Биофильтры представляют собой кирпичные или железобетонные резервуары, имеющие дренажное дно из плиток, на которое загружается двухметровый слой крупнозернистого материала – шлака, щебня (рис.5.5.) По мере прохождения сточных вод на поверхности шлака образуется слизистая биологическая пленка с аэробной микрофлорой, интенсивно размножающейся и адсорбирующей и разлагающей растворенные в сточной воде органические вещества. Вдувание в биофильтр воздуха еще более стимулирует жизнедеятельность микроорганизмов и процессы минерализации органики. Такие фильтры называются аэрофильтрами. Окислительная мощность их в 3-4 раза выше мощности обычных биофильтров.

 

Рисунок 5.5. Биологический фильтр

1 - дозирующий бак; 2 - сифон; 3 - специальная насадка для разбрызгивания; 4 - магистральная труба; 5 - распределительные трубы; 6 - дренаж из плиток; 7 - каналы для входа воздуха в дренаж; 8-— загрузка фильтра из шлака; 9 - канал для отвода очи­щенной воды.

 

Процесс биологического окисления органических веществ в биоокислителях другого типа – аэротенках, протекает аналогично самоочищению в поверхностных водоемах, но гораздо интенсивнее. Через аэротенк - прямоугольный резервуар, вытянутый в длину на несколько десятков метров, глубиной до 5 м – медленно пропускается смесь сточной жидкости и активного ила, содержащего большое количество весьма активных микроорганизмов. Если сравнить поверхность микробоценоза, то в 1 м3 поверхностных водоемов она составляет около 5 м2, тогда как в аэротенках – до 1800-2400 м2. Через перфорированные трубы, уложенные на дне аэротенка, в смесь сточной воды с илом компрессорами подается воздух. Обогащение кислородом и интенсивное развитие преобразующей органические вещества микрофлоры способствуют быстрому, в течение 6-10 часов, завершению минерализации растворенных загрязнителей. После биофильтров и аэротенков очищенная сточная вода направляется во вторичные отстойники (рис.5.6.), а затем, перед выпуском в водоем обеззараживается, так как даже после прохождения биоокислителей в ней могут остаться жизнеспособными патогенные микроорганизмы. Обеззараживание обычно проводится путем хлорирования. Однако из-за опасности образования в процессе хлорирования токсичных и канцерогенных хлорорганических соединений в настоящее время более рациональным становится применение безреагентных способов обеззараживания: ультрафиолетового облучения, электроимпульсная обработка. Предложена и уже доказала свою перспективность гидрокавитационного обеззараживания сточных вод.

Традиционные схемы очистки бытовых сточных вод не всегда эффективны, так как даже обезвреженные воды содержат большое количество биогенных элементов – фосфора, калия, азота, а также синтетические органические вещества, не поддающиеся биологическому разложению. В процессе очистки извлекается только 90% органических соединений, около 50% органического и неорганического азота, от 20 до 40% фосфора и только 5% растворимых соединений (нитратов, фосфатов, многих пестицидов). Поэтому для очистки городских сточных вод требуется, как правило, доочистка, или третичная очистка. Для третичной очистки используются разнообразные природные и искусственные методы (коагуляция, сорбционная очистка с применением активированных углей и других сорбентов, окислителей и др.)

Особенности обезвреживания промышленных сточных вод. Ввиду крайнего разнообразия состава и свойств, токсичности и опасности различных промышленных стоков для каждого предприятия разрабатывается свой проект канализования и обработки сточных вод. В основе физических, механических, химических и биологических приемов очистки промышленных стоков лежат те же процессы, что применяются при очистке бытовых сточных вод, но они имеют свои особенности, обусловленные характером производства. Так, в отстойниках проводят не только осаждение взвешенных частиц, но и удаление легких фракций (жиры, масла, нефтепродукты и др.). С помощью химических и физико-химических методов добиваются перевода токсичных соединений в нетоксичные, растворенных соединений в нерастворимые с последующим осаждением, выделяют продукты, которые вновь могут быть использованы в производстве.

Рисунок 5.6. Схема очистки сточных вод города Алматы на станции аэрации

Для биологической очистки вначале проводят предварительную подготовку сточных вод (разбавление или смешение с хозяйственно-фекальными водами, подбор параметров и условий очистки), так как промышленные сточные

воды могут иметь неблагоприятную РН, содержать очень много органических соединений, поглощающих кислород и препятствующих жизнедеятельности микроорганизмов. Из вспомогательных мероприятий используют раздельное канализование сточных вод различных технологических участков и цехов предприятия и их локальную очистку до объединения в общий сток. Такая мера уменьшает загрязнение общего стока и предупреждает затруднения с очисткой всей массы сточных вод производства, которые могли бы возникнуть при поступлении в общий сток неочищенных и наиболее загрязненных вод.

Особым мероприятием, к которому прибегают в исключительных случаях, является закачка промышленных сточных вод в глубокие геологические горизонты. Разрешается закачка высокоминерализованных стоков, не обладающих высокой токсичностью. Осуществление комплекса мероприятий по обезвреживанию промышленных сточных вод позволяет обеспечить сброс их в водные объекты, не нарушая качества воды водоемов и жизнедеятельности гидробионтов.

 

 

ГЛАВА VI. ГИГИЕНИЧЕСКИЕ ОСНОВЫ ПЛАНИРОВКИ И БЛАГОУСТРОЙСТВА НАСЕЛЕННЫХ МЕСТ.

 

1. Гигиеническое значение урбанизации. Вторая половина 20 века и начало 21 века характеризуются все большей концентрацией населения в городах (урбанизацией). Процесс урбанизации обусловлен многими причинами. Усиленная миграция сельского населения в города связана, как ранее, так и сейчас, со стремлением найти работу, повысить свой образовательный уровень, улучшить условия проживания, иметь возможность получать более квалифицированную медицинскую помощь, обогатить культурную жизнь, облегчить многие стороны быта, характерные для села, сменить тяжелую работу в селе на более легкую в городе и т.д. Этот процесс стимулируется глубокими индустриальными преобразованиями городов и селений, развитием промышленности, расширением жилищного строительства, увеличением количества транспорта и облегчением транспортного сообщения, связи. Возрос не только материальный, но и духовный уровень населения, находящий удовлетворение своих потребностей в крупных культурных центрах. Численность городского населения растет бурными темпами. Если в начале XIX в. лишь несколько процентов населения жило в городах, то в 1950 г. - 30%, в 1970 г. - около 50, а в отдельных экономически развитых странах более 75 - 85%. Ожидается, что в 2025 году население городов будет составлять 60,1%. Города сливаются между собой, образуя целые агломерации. Число городов с населением более 1 млн человек достигло 400. Население ряда городов – Каир, Карачи, Нью-Йорк, Манила, Шанхай и др. – перевалило за 10 млн.

Индустриализация и научно-технический прогресс способствуют интенсивному процессу урбанизации и в нашей стране. Если на территории республики Казахстан в 1913 г. проживало 5 млн. 596800 человек, из которых в городах проживало 540800 человек или всего 10%, то в 1999 г. число жителей составило 14 млн. 953126 человек, из которых в городах жили 8377303 человек, т.е. 56%.

Урбанизация имеет как положительные, так и отрицательные стороны. Крупные города являются центрами промышленного производства, обеспечивающими занятость населения. В культурных, научных и образовательных центрах накапливается экономический и культурный потенциал общества. Городская среда обеспечивает более комфортные условия жизни и культурного развития для населения.

Вместе с тем, все более и более проявляются и отрицательные стороны урбанизации. Город является источником промышленного и бытового загрязнения всех объектов окружающей среды. Причем, влиянию загрязнений подвергаются не только город и прилегающие к нему территории, но и опосредованно вся биосфера. Особенно подвержена загрязнению воздушная среда в крупных городах. С выбросами промышленных предприятий, автотранспорта, предприятий теплоэнергетики в воздух поступают самые разнообразные загрязнители, среди которых имеются и весьма токсичные и опасные (см. главу III), оказывающие неблагоприятное воздействие на здоровье населения. Загрязнения атмосферного воздуха влекут за собой и ухудшение условий жизни, снижая прозрачность атмосферы, уменьшая инсоляцию, а также порождая возникновение таких явлений, как смоги, кислотные дожди, озоновые дыры. Над многими крупными городами висят темно-сизые «шапки» загрязненного воздуха, поглощающие значительное количество солнечной радиации и увеличивающие количество пасмурных и туманных дней.

Значительному загрязнению подвергаются водные объекты и почва. В водоемы сбрасываются промышленные и коммунальные сточные воды, поступают загрязнители, выбрасываемые в атмосферу, а также при использовании водоемов в различных целях. Почва загружается бытовыми и промышленными отходами, отчуждается под застройки, используется для очистки жидких отбросов, загрязняется пестицидами и удобрениями. (см. главы IV и V ). Великиобъемы ежедневно скапливающихся отходов в городах. В этих условиях одними из серьезнейших гигиенических проблем городов становятся обеспечение жителей города доброкачественной водой и утилизация отходов. Загрязнение воздуха, водоемов и почвы губительно действует на зеленые насаждения, а с частичной гибелью их устраняется естественный фильтр, очищающий воздух, а также изменяются микроклиматические условия в самом городе. Сокращение площадей под зелеными насаждениями нарастает также в связи с изъятием их под строительные нужды. Город превращается в железобетонную цитадель загрязнений.

Значительно изменяется микроклимат городов. Особенностью его является возникновение так называемых «островов тепла», для которых характерны более высокие, по сравнению с загородной местностью, температуры воздуха. Наибольшая разница в температурах наблюдается ночью, когда температура в островах тепла может превышать температуру за городом на 6-8 º. Над центрами крупных городов «остров тепла» возвышается на 100-150м. Образование их связано с тем, что здания, асфальт и другие покрытия, нагреваясь днем под действием солнца, остывая ночью, отдают полученное тепло атмосфере. Повышение температуры обусловливается также уменьшением испарения на застроенных участках, тогда как в местностях, расположенных за городом, дождевая вода, испаряясь с поверхности почвы, отнимает тепло и снижает температуру воздуха. Большое значение имеют снижение процента зеленых насаждений, открытой водной глади и значительное уменьшение скорости ветра вследствие препятствий, создаваемых городской застройкой высокой плотности.

Специфическими факторами, порожденными городом, являются высотная, преимущественно железобетонная застройка с обилием металлических конструкций, скученность населения, транспортная перегруженность, высокий темп жизни, чрезмерные нервно-психические нагрузки, высокий уровень шума, интенсивное электромагнитное загрязнение и, наоборот, резкое снижение геомагнитного воздействия в закрытых помещениях, и целый ряд других факторов, оказывающих негативное воздействие на здоровье населения.

Для предупреждения развития неблагоприятных эффектов решающее значение в этих условиях имеют правильный выбор расположения и рациональная планировка населенных пунктов.




Поделиться с друзьями:


Дата добавления: 2014-12-25; Просмотров: 1533; Нарушение авторских прав?; Мы поможем в написании вашей работы!


Нам важно ваше мнение! Был ли полезен опубликованный материал? Да | Нет



studopedia.su - Студопедия (2013 - 2026) год. Все материалы представленные на сайте исключительно с целью ознакомления читателями и не преследуют коммерческих целей или нарушение авторских прав! Последнее добавление




Генерация страницы за: 0.011 сек.