Студопедия

КАТЕГОРИИ:


Архитектура-(3434)Астрономия-(809)Биология-(7483)Биотехнологии-(1457)Военное дело-(14632)Высокие технологии-(1363)География-(913)Геология-(1438)Государство-(451)Демография-(1065)Дом-(47672)Журналистика и СМИ-(912)Изобретательство-(14524)Иностранные языки-(4268)Информатика-(17799)Искусство-(1338)История-(13644)Компьютеры-(11121)Косметика-(55)Кулинария-(373)Культура-(8427)Лингвистика-(374)Литература-(1642)Маркетинг-(23702)Математика-(16968)Машиностроение-(1700)Медицина-(12668)Менеджмент-(24684)Механика-(15423)Науковедение-(506)Образование-(11852)Охрана труда-(3308)Педагогика-(5571)Полиграфия-(1312)Политика-(7869)Право-(5454)Приборостроение-(1369)Программирование-(2801)Производство-(97182)Промышленность-(8706)Психология-(18388)Религия-(3217)Связь-(10668)Сельское хозяйство-(299)Социология-(6455)Спорт-(42831)Строительство-(4793)Торговля-(5050)Транспорт-(2929)Туризм-(1568)Физика-(3942)Философия-(17015)Финансы-(26596)Химия-(22929)Экология-(12095)Экономика-(9961)Электроника-(8441)Электротехника-(4623)Энергетика-(12629)Юриспруденция-(1492)Ядерная техника-(1748)

План заняття




1. Допоміжні поверхні нагріву котельних агрегатів.

2. Водне господарство та водний режим котлів. Внутрішньо котлові процеси у котельних агрегатах.

3. Тягодуттьове обладнання.

4. Живильні пристрої.

5. Шлакозоловидалення.

6. Золоуловлювачі.

7. Контрольно-вимірювальні прилади. Арматура котлів і трубопроводів. Гарнітура котлів.

8. Компоновка котельних.

Література: Б.Х.Драганов., О.Ф.Буляндра., А.В.Міщенко. “Теплоенергетичні установки і системи в сільському господарстві”. К.: “Урожай”., 1995р.

 

1. ДОПОМІЖНІ ПОВЕРХНІ НАГРІВУ КОТЕЛЬНИХ АГРЕГАТІВ

До допоміжних поверхонь нагріву відносять водяні економайзери, повітропідігрівники та пароперегрівники.

Економайзер для нагріву живильної води та повітропідігрівник для нагріву дуттьового повітря розташовані у кінці конвективного газоходу і обмиваються газоподібними продуктами згорання, що виходять із котельного агрегату, із відносно низькою температурою. Тому їх називають також низькотемпературними або хвостовими поверхнями нагріву. При встановленні економайзерів та повітропідігрівників знижується температура продуктів згорання на виході із котла, через що зменшуються втрати із відхідними газами і підвищується ККД котлоагрегату.

 

1.1. ЕКОНОМАЙЗЕРИ

Залежно від конструктивного виконання економайзери поділяють на чавунні, стальні гладкотрубні та стальні із оребрених труб.

1 – ребриста батарея; 2 – калач (перепускний патрубок); 3 – вихідні патрубки; 4 – вхідний патрубок.
Чавунні економайзери застосовують у котлах із робочим тиском до 2,3 МПа (рис. 5.1). Вони складаються із чавунних ребристих труб, що з'єднуються за допомогою калачів.

 

 

Рисунок 5.1. Чавунний економайзер.

Внаслідок ребристої поверхні економайзери чутливі до забруднення золою. Ребристі труби очищають обдуванням парою або повітрям.

За рівнем нагріву води економайзери поділяють на киплячі та некиплячі. В економайзерах некиплячого типу живильна вода підігрівається до температури на 40...50 °С нижчої за температуру кипіння при даному тиску в котлі.
Стальні гладкотрубні економайзери виготовляють із суцільнотягнутих або зварних труб із зовнішнім діаметром 32, 38 і 51 мм, зігнутих у вигляді змійовиків (рис.5.2). Вхідні та вихідні кінці змійовиків об'єднуються, відповідно, вхідними та вихідними колекторами, розміщеними на стінках конвективного газоходу. У газоході змійовики розміщують у шаховому порядку.

 


Рисунок 5.2. Стальний економайзер.

1 – змійовик із труб; 2 – вихідний колектор; 3 – вхідний колектор; 4 – опора змійовиків.

В економайзерах киплячого типу поряд із підігрівом води утворюється пара (звичайно не більше 20...25 % всієї води).

Економайзери обладнані контрольно-вимірювальними приладами, арматурою і запобіжними пристроями. У найвищій точці економайзера встановлений пристрій для видалення повітря (вантуз) у період заповнення економайзера водою. Крім того, наявна дренажна труба для видалення води економайзера після зупинки котла.

 

1.2. ПОВІТРОПІДІГРІВНИКИ

Застосування для дуття гарячого повітря підвищує температуру у топці, полегшує підсушку і займання палив, прискорює процес їх згоряння. Крім того, зменшуються втрати теплоти від хімічної неповноти згоряння. Тому застосування повітропідігрівників дає значний тепловий та економічний ефект.

За принципом роботи повітропідігрівники поділяють на рекуперативні і регенеративні. Регенеративні повітропідігрівники застосоують лише у котлах із великою продуктивністю. У котлах малої та середньої продуктивності встановлюють рекуперативні трубчасті повітропідігрівники (рис. 5.3). Для їх виготовлення використовують стальні труби діаметром 51х1,5; 40х1,5; 25х1,5 мм. Труби вставляють в отвори трубних дощок, а їх кінці приварюють.

Пучки труб повітропідігрівників розміщені у шаховому порядку. Міжтрубний простір ділиться на кілька ходів.

 

 
 
Збільшення ходів підвищує рух повітря і збільшує і коефіцієнт тепловіддачі від труб до повітря. Залежно від кількості повітря, що нагрівається, величини поверхні нагріву і потрібної температури повітропідігрівники мають різну компоновку: одно- та багатоходову.

 


Рисунок 5.3. Трубчастий стальний повітропідігрівник.

а – з одним ходом для повітря; б – з трьома ходами для повітря.

 

1.3. ПАРОПЕРЕГРІВНИКИ

Пароперегрівники являють собою систему включених по парі змійовиків, що обмиваютьсяіз зовнішнього боку продуктами згоряння палива, і призначену для перегріву насиченої пари до заданої температури.

Для виготовлення пароперегрівників використовують високолеговану сталь, оскільки теплові напруження у перегрівнику дуже великі. Діаметр труб змійовиків — 30...40 мм.

Розміщення змійовиків пароперегрівників може бути вертикальним (у вертикально-водотрубних котлах) і горизонтальним (у горизонтально-водотрубних котлах).

За умовами зовнішнього теплосприйняття розрізняють конвективні, радіаційні та коннективно-радіаційні пароперегрівники. Останні пароперегрівники розміщують у зоні високої температури продуктів згоряння, тому тепловий потік до них передається здебільшого за рахунок випромінювання.

За взаємним напрямком потоків газу і пари пароперегрівники поділяють на паралельнотокові, протитокові та із змішаним током (рис.5.4). Найбільше застосування знайшли змішані схеми включення пароперегрівника.

У котельних агрегатах застосовують конвективні та комбіновані пароперегрівники. Конвективний пароперегрівник розміщують у газоході котельного агрегату за топкою. Пароперегрівник відділяється від топки невеликим фестоном, що складається із двох-трьох рядів кип'ятильних труб. Ці підігрівники знайшли застосування у котлах низького та середнього тиску. При тиску пари 1,4 і 2,3 МПа конвективні пароперегрівники виконують одноходовими; при тиску 4,0 МПа — двоходовими.

а – паралельна течія; б – протитечія; в, г – змішана течія.

Рисунок 5.4. Схема взаємного руху пари і газу в пароперегрівниках.

Конвективний пароперегрівник для котлів ДКВР та Е зображений на рис. 5.5. Конвективний пароперегрівник котельних агрегатів екранного типу виконують із двох послідовно розміщених груп змійовиків (рис. 5.5). У котлах типу КВ-300М перегрів пари до температури 130 °С відбувається у вертикальному перегрівнику, розміщеному за котлом.

 
 

 


Рисунок 5.5. Конвективні пароперегрівники.

а – типу ДКВР та Е; б – екранного типу;

1 – труби пароперегрівника; 2 – камери перегрітої пари; 3, 4 – барабани котла; 5 – камера насиченої пари; 6 – камера ненасиченої пари; 7 – проміжні камера; 8 – вихідна камера; 9 – змійовик; 10 – перша ступінь перегрівника.

У парових котлах низького тиску перегрів пари регулюють газовою заслінкою, за допомогою якої змінюють кількість парів, що протікають через пароперегрівник.

У котлах середнього тиску для цієї мети застосовують спеціальні пристрої (так звані пароохолодники).

2. ВОДНЕ ГОСПОДАРСТВО ТА ВОДНИЙ РЕЖИМ КОТЛІВ.

ВНУТРІШНЬОКОТЛОВІ ПРОЦЕСИ У КОТЕЛЬНИХ АГРЕГАТАХ

2.1. ХАРАКТЕРИСТИКИ КОТЛОВОЇ ВОДИ

Робочим тілом у котлах є вода. Якість води має велике значення для нормальної роботи котлоагрегатів. Тому вода, що безпосередньо використовується для виробництва пари або гарячої води, заздалегідь обробляється. Вона проходить систему попереднього обігріву, очистки від механічних та розчинених хімічних та газоподібних домішок.

У циклі котлоагрегату на різних стадіях процесу розрізняють: вихідну воду, що готують в установках хімічної очистки води і додають до конденсату, що повертається в котел; живильну воду, що подають насосом в котел, вона дорівнює сумі конденсату, що повертається, і підживлювальної води; котлову воду, що циркулює в котлі.

Якість живильної, додаткової та котлової води характеризується такими показниками.

Завислі речовини, що виражаються у міліграмах на кг (мг/кг) — це механічні домішки, що видаляють із води шляхом фільтрування. Сухий залишок, мг/кг, вказує на кількість розчинених у воді речовин. Його отримують випарюванням відфільтрованої води при температурі 105...110°С.

Окислюваність характеризує вміст у воді органічних речовин. Останні, потрапляючи у котлову воду, спінюють її та погіршують якість одержуваної пари.

Жорсткість води визначається вмістом накипоутворюючих речовин (солей магнію).

Лужність визначається концентрацією у воді гігроксильних ОН, бікарбонатних НСОз, карбонатних СОз, силікатних SіОз-іонів, а також деяких слабких органічних кислот, які називають гуматами.

Кремнієвміст, мг/кг, характеризується концентрацією у воді сполук кремнію.

Крім того, у воді містяться розчинені гази. Вони визначають корозійні властивості води. За крупністю мінеральні та органічні домішки, що знаходяться у природній воді, розділяють на грубо дисперсні речовини розміром частинок більше 0,1·10-2 мм і на колоїдні домішки із частинками від 0,1·10-2 до 0,1·10-4мм.

До живильної води парогенераторів і до підживлювальної води водогрійних котлів ставлять певні вимоги (табл.2.1).

Для зменшення концентрації речовин, що забруднюють котлову воду, проводять продувку. Для зниження вологості пари у барабані котла передбачені спеціальні сепарувальні пристрої.

2.1.Норми якості живильної води для водотрубних парових котлів.

Показник Норма для котлів, що працюють при тиску МПа
до 1,4 до2,4
Загальна жорсткість, мкг·екв/кг 10/21 15/10
Вміст у воді компонентів:    
  • завислих речовин
   
  • розчиненого кисню, мкг/кг
50/30 50/20
Значення рН при t=250С 8,5...9,5 8,5...9,5

2.2. ПІДГОТОВКА ВОДИ ДО ЖИВЛЕННЯ КОТЛА

Завислі та колоїдні речовини, що містяться у природній воді, можуть бути видалені шляхом відстоювання, коагуляції та фільтрування. Для відстоювання води використовують відстійники, об'єм яких дорівнює полуторній або подвійній годинній продуктивності котла. Після відстоювання воду піддають фільтруванню, для чого її пропускають через напірні фільтри, заповнені дрібнодисперсним матеріалом (кварцевий пісок, мармур, доломіт) із розмірами частинок 0,6...1 мм.

Ефективнішим є процес коагуляції, завдяки якому за рахунок спеціальних реагентів-коагулянтів відбувається укрупнення колоїдних частинок і зависей та виділення їх у осад. Як коагулянти використовують солі алюмінію та залізосульфат алюмінію АІ2(SO4) з, сульфат заліза FeSO4х7Н2О і хлорне залізо FeCl3·6H2O.

Для видалення гумінових речовин рекомендується підтримувати рН=3,5...4,5. У разі коагуляції води солями заліза рН має бути більше 8,5. У процесі коагуляції температура води повинна бути рівною плюс 35...40 °С.

Залежно від жорсткості води і продуктивності котла застосовують різні способи водопідготовки. У дрібних котельних установках застосовують внутрішньокотельну обробку води; при значній жорсткості у котельнях середньої та великої потужності — докотлову водопідготовку. Найпоширенішими є методи Nа-катіонування та Н-катіонування. Ці методи відрізняються високим ступенем зм'якшення, компактністю апаратури і -простотою обслуговування.

Водопідготовка у Nа-катюнітових установках полягає у фільтруванні через шар природного натрієвого матеріалу (катіоніту). При цьому кальцієві або магнієві солі, що містяться у воді, вступають в обмінні реакції із названим мінералом, у результаті чого замість накипоутворюючих катіонів утворюються еквівалентні кількості легко розчинних натрієвих солей.

У процесі експлуатації катіонітова маса забруднюється і ущільнюється. Для очистки та попереднього спушування катіонітової маси її промивають зворотним потоком води.

Регенерацію катіоніту здійснюють розчином NаСІ. Тривалість регенерації для нового фільтру 12...15 хв; а для експлуатованого— 1,5...2 год.

В установках Н-катіонування як катіоніт використовують сульфовугілля. Цей метод катіонування поєднують із Nа-катіонуванням.

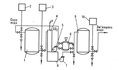
1 – Н-катіонітовий фільтр; 2 – бак ждля розчину кислоти; 3 – бак для розпушування Н-катіоніта; 4 – видавач вуглекислоти; 5 – вентилятор; 6 – бак для пом’якшення води; 7 – насос; 8- солерозчинник; 9 – Nа-катіонітовий фільтр; 10 – бак руйнування Nа-катіоніта.
Поєднання Н-катіонування із Nа-катіонуванням може відбуватися як за паралельною, так і за послідовною схемами. Найчастіше застосовують послідовну схему (рис.5.6).

 

Рисунок 5.6. Схема послідовного Н- і Na-катіонування.

Останнім часом, крім традиційних способів, використовують магнітний метод очистки води. Цей метод полягає в тому, що після впливу на воду магнітного поля певної напруженості і полярності та при наступному її нагріванні у котлі не утворюються накипні відкладання на поверхнях нагріву.

У воді, що надходить після фільтрів або інших видів очистки, можуть міститися гази: кисень, двоокис вуглецю, аміак, азот тощо. Ці гази спричиняють посилення корозії поверхні нагріву котла, а також сприяють порушенню циркуляції води. Все це знижує строк служби і надійність роботи котла.

Для видалення газів із живильної води застосовують деаерацію останньої. Цей процес ґрунтується на фізичному законі, згідно із яким розчинність газів із підвищенням температури знижується і для будь-якого тиску при температурі кипіння дорівнює нулю. Такий процес деаерації називають термічним. Залежно від величини тиску, при якому відбувається деаерація, деаератори поділяють на вакуумні (працюють при вакуумі 0,06...0,093 МПа і температурі 40...75°), атмосферні (температурою 95...100 °С) і підвищеного тиску (температурою понад 100 °С). Для досягнення найкращої деаерації необхідно, щоб різниця між температурою кипіння і кінцевою температурою, так званим недогрівом води, у деаераторі була мінімальною, тобто становила 0,1...0,2 °С.

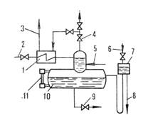
Принципова схема деаераторної установки наведена на рис. 5.7.

       
   
1 – охолодник випару; 2 – подача хімічно-очищеної води; 3 – викид пари в атмосферу; 4 – трубопровід випару; 5- подача пари в колонку деаератора; 6 – випуск води в гідро затвор; 7 – гідро затвор; 8 – випуск зайвої води із гідро затвора; 9 – випуск живильної води; 10 – бак; 11 – водопокажчик.
 
 

 

 


Рисунок 5.7. Схема деаераторної установки.

Деаератор складається із деаераторної колонки і деаераторного бака 10. Живильна вода надходить по трубі 2 на розподільні тарілки, із яких струмками стікає донизу. Знизу вверх по трубі надходить пара для підігріву води. При нагріві води виділяються гази, що відходять через вестову трубу. Вивільнена від газів вода стікає у бак 10, звідки живильним насосом подається в котел. Для уникнення підвищення тиску у деаераторі на ньому встановлюють запобіжний клапан. На випадок утворення у деаераторі розрідження передбачають гідравлічний затвор. Його встановлюють висотою 3,5...4 м.

Для зменшення концентрації речовин, що забруднюють воду, проводять продувку, тобто видаляють із котла частину води і замінюють її живильною водою.

Розрізняють безперервну та періодичну продувки. Безперервну продувку проводять із місць з найвищим солевмістом, тобто до змішування котлової води із підживлювальною. Об'єм безперервної продувки становить 0,5...3 % паропродуктивності котла. Періодична продувка ефективна тільки в котлах із грязьовиками, в яких відбувається відокремлення шламу.

Грязьовики включені у систему циркуляції води.

2.3. ВНУТРІШНЬОКОТЛОВА ГІДРОДИНАМІКА.

У процесі підігріву води і пароутворення необхідно безперервно відводити теплоту, що передається продуктами згоряння поверхням нагріву котельного агрегату. Для цього забезпечують рух води або пари в елементах котла. У випарювальних поверхнях нагріву рух відбувається за рахунок природної циркуляції, а в прямотокових котлах — примусово під впливом живильних насосів (прямо токові котли застосування у сільському господарстві не знаходять).

В еконономайзерах або пароперегрівниках рух води забезпечується насосом або різницею напорів у барабані і пароперегрівнику.

       
   
Суть процесу природної циркуляції води в котлі полягає у наступному. Розглянемо циркуляційний контур (рис.5.8), в якому лише одна труба (наприклад, ліва) нагрівається. Густина пароводяної суміші у цій трубі менша за густину води у правій трубі, що не підігрівається. За рахунок різниці цих густин, що називають рушійним напором циркуляційного контуру, забезпечується природна циркуляція води. Труби, в яких робоче тіло піднімається, називають підйомними. Труби, в яких робоче тіло опускається,— опускними..
 
 

 

 


Рисунок 5.8. Схема природної циркуляції.

1 – верхній барабан; 2 – нижній барабан; 3 – тепло сприймальні поверхні.

При сталому режимі роботи котельного—агрегату тиск, який забезпечує природну циркуляцію, врівноважується гідравлічними опорами, що дорівнюють сумі опорів підйомних та опускних труб:

Ррух=ΣΔРпід+ΣΔРоп. (5.1)

Це рівняння носить назву розрахункового рівняння циркуляції.

Відношення витрати води, що увійшла до циркуляційного контуру, до кількості утвореної у ньому пари, називають кратністю циркуляції К у контурі. Величина К більша за одиницю.

Для забезпечення нормальної роботи циркуляційних контурів необхідно створити умови рівномірного обігріву водопідйомних труб. Одним із ефективних експлуатаційних заходів у цьому відношенні є запобігання шлакуванню і заносу леткою золою водопідйомних труб.

 




Поделиться с друзьями:


Дата добавления: 2014-12-25; Просмотров: 888; Нарушение авторских прав?; Мы поможем в написании вашей работы!


Нам важно ваше мнение! Был ли полезен опубликованный материал? Да | Нет



studopedia.su - Студопедия (2013 - 2026) год. Все материалы представленные на сайте исключительно с целью ознакомления читателями и не преследуют коммерческих целей или нарушение авторских прав! Последнее добавление




Генерация страницы за: 0.012 сек.