Студопедия

КАТЕГОРИИ:


Архитектура-(3434)Астрономия-(809)Биология-(7483)Биотехнологии-(1457)Военное дело-(14632)Высокие технологии-(1363)География-(913)Геология-(1438)Государство-(451)Демография-(1065)Дом-(47672)Журналистика и СМИ-(912)Изобретательство-(14524)Иностранные языки-(4268)Информатика-(17799)Искусство-(1338)История-(13644)Компьютеры-(11121)Косметика-(55)Кулинария-(373)Культура-(8427)Лингвистика-(374)Литература-(1642)Маркетинг-(23702)Математика-(16968)Машиностроение-(1700)Медицина-(12668)Менеджмент-(24684)Механика-(15423)Науковедение-(506)Образование-(11852)Охрана труда-(3308)Педагогика-(5571)Полиграфия-(1312)Политика-(7869)Право-(5454)Приборостроение-(1369)Программирование-(2801)Производство-(97182)Промышленность-(8706)Психология-(18388)Религия-(3217)Связь-(10668)Сельское хозяйство-(299)Социология-(6455)Спорт-(42831)Строительство-(4793)Торговля-(5050)Транспорт-(2929)Туризм-(1568)Физика-(3942)Философия-(17015)Финансы-(26596)Химия-(22929)Экология-(12095)Экономика-(9961)Электроника-(8441)Электротехника-(4623)Энергетика-(12629)Юриспруденция-(1492)Ядерная техника-(1748)

Двухступенчатый наддув




Двухступенчатый наддув – это последовательное включение в схему двигателя двух турбокомпрессоров. В этом случае они имеют различные размеры, имеют одинаковые массовые расходы, но разные объёмные расходы, а следовательно - различные уровни давлений. Вспомним, что следует различать двухступенчатый турбокомпрессор и двухступенчатый наддув.

Двухступенчатый турбокомпрессор – это агрегат, в котором последовательно включённые компрессоры и турбины расположены на одном валу.

При двухступенчатом наддуве два одноступенчатых турбокомпрессора включаются в схему двигателя.

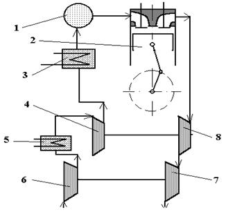
На рис. 8.18 показана схема двухступенчатого наддува.

 

Рис. 8.18. Схема двухступенчатого газотурбинного наддува (высокий наддув). 1 – впускной коллектор, 2 – двигатель, 3 – холодильник, 4 – компрессор 2-й ступени, высокого давления, 5 – холодильник, 6 – компрессор 1-й ступени, низкого давления, 7 – турбина 2-й ступени, низкого давления, 8 – турбина 1-й ступени, высокого давления.

 

 

В схеме имеются два одноступенчатых турбокомпрессора (8 – 4 и 7 – 6). Турбина 8 является турбиной первой ступени (высокого давления газов). Она находится на одном валу с компрессором 4, который является компрессором второй ступени повышения давления воздуха (ступень высокого давления воздуха). Турбина 7 является турбиной второй ступени, т. е. низкого давления газов (поступающих после турбины 8 первой степени). Она связана с компрессором 6 первой ступени сжатия воздуха (низкого давления сжатия). После первой и второй ступеней сжатия воздуха он проходит через холодильники 5 и 3, благодаря чему может быть снижена работа подачи данного количества сжатого воздуха.

По сравнению с двухступенчатым турбокомпрессором двухступенчатый наддув обеспечивает более высокую приёмистость и приспособляемость двигателю, поскольку два самостоятельных одноступенчатых турбокомпрессора имеют пониженную инерционность, пониженные моменты инерции, чем один двухступенчатый компрессор. Двухступенчатый наддув обеспечивает двигателю более широкую по частоте вращения характеристику и более высокий к. п. д. (по сравнению с двигателем с двухступенчатым компрессором). Двухступенчатый компрессор, как специальная конструкция, более сложен и более дорог, чем два одноступенчатых турбокомпрессора (производство которых уже носит характер массового или крупносерийного).

Недостатком двухступенчатого наддува являются повышенные габаритные размеры установки, связанные с необходимостью размещения двух турбокомпрессоров с соответствующими трубопроводами и охладителями воздуха.

По сравнению с одноступенчатым наддувом двухступенчатый имеет следующие преимущества.

1. Значительно более высокий уровень давления наддува и отсюда – возможность получения более высоких средних эффективных давлений.

2. Более высокий к. п. д. при равном давлении наддува. Это связано с тем, что к. п. д. турбины и к. п. д. компрессора падают при увеличении напора или соответственно перепада в каждой ступени.

3. К. п. д. двухступенчатого наддува повышается благодаря возможности применить промежуточное охлаждение наддувочного воздуха.

4. Двухступенчатый наддув даёт возможность работать в более широком диапазоне скоростных и нагрузочных режимов (более широкое поле характеристик).

На рис. 8.19. приведена внешняя характеристика дизеля с системой двухступенчатого наддува. Видно влияние высокой степени повышения давления, что обеспечивает высокое форсирование дизеля. Этот факт и является основным поводом для применения системы двухступенчатого наддува, с учётом перечисленных его преимуществ перед применением двухступенчатого турбокомпрессора.

 

Рис. 8.19. Характеристика крутящего момента дизеля с системой двухступенчатого наддува.

 

 

Двухступенчатый наддув по сравнению с одноступенчатым с тем же давлением наддува приводит к увеличению массо – габаритных показателей установки, к её удорожанию.

В принципе, рассматривая це л есообразность применения того или иного вида наддува, всегда оценивают, что принесёт больше выгод.

Использование турбонагнетателя с холодильником, трубопроводами и т. д. или увеличение размеров цилиндров или их количества. При этом конечно, необходимо учитывать меры, принимаемые для снижения механических и термических нагрузок форсируемого двигателя. Считается, что отношение увеличения мощности к увеличению затрат на это увеличение при двухступенчатом наддуве по сравнению с одноступенчатым будет меньше, чем аналогичное соотношение при сравнении одноступенчатого наддува с двигателем без наддува.

По сравнению с двигателем с одноступенчатым наддувом, двигатель с двухступенчатым наддувом имеет худшую приёмистость (при одинаковом уровне наддува, точнее, при одинаковом среднем эффективном давлении). Это связано с тем, что той же энергией выпускных газов необходимо разгонять два турбокомпрессора вместо одного. Так, один и тот же двигатель при разгоне достигал среднего эффективного давления 16,3 бар при 1000 мин-1 в случае применения одноступенчатого наддува за 11 секунд, а в случае применения двухступенчатого наддува – за 18,5 с.

Следует отметить, что принципиально применением одноступенчатого наддува уже достигнуты уровни средних эффективных давлений в 25 и 15 бар соответственно у четырёхтактных и двухтактных двигателей. Однако, применение таких форсировок одноступенчатым наддувом на практике пока редко. Поэтому системы двухступенчатого наддува уже находятся в производстве, прежде всего для крупных двухтактных двигателей, продолжается их исследование и развитие.

Так, улучшения динамических качеств установки можно достигнуть уменьшением объёма выпускного коллектора между степенями агрегата. Пример такого выполнения показан на рис. 8.21.

Рис. 8.21. Конструктивная схема системы двухступенчатого газотурбинного наддува с минимальным объёмом коллектора между газовыми турбинами. 1 – компрессор второй ступени, 2 – турбина первой ступени, 3 – турбина второй ступени, 4 – компрессор первой ступени, 5 – холодильник.

 

Конечно недостатком такой компоновки является усложнение конструкции и повышение её стоимости, однако, очевидны выигрыши в габаритах и проч.




Поделиться с друзьями:


Дата добавления: 2014-12-26; Просмотров: 3341; Нарушение авторских прав?; Мы поможем в написании вашей работы!


Нам важно ваше мнение! Был ли полезен опубликованный материал? Да | Нет



studopedia.su - Студопедия (2013 - 2026) год. Все материалы представленные на сайте исключительно с целью ознакомления читателями и не преследуют коммерческих целей или нарушение авторских прав! Последнее добавление




Генерация страницы за: 0.008 сек.