Студопедия

КАТЕГОРИИ:


Архитектура-(3434)Астрономия-(809)Биология-(7483)Биотехнологии-(1457)Военное дело-(14632)Высокие технологии-(1363)География-(913)Геология-(1438)Государство-(451)Демография-(1065)Дом-(47672)Журналистика и СМИ-(912)Изобретательство-(14524)Иностранные языки-(4268)Информатика-(17799)Искусство-(1338)История-(13644)Компьютеры-(11121)Косметика-(55)Кулинария-(373)Культура-(8427)Лингвистика-(374)Литература-(1642)Маркетинг-(23702)Математика-(16968)Машиностроение-(1700)Медицина-(12668)Менеджмент-(24684)Механика-(15423)Науковедение-(506)Образование-(11852)Охрана труда-(3308)Педагогика-(5571)Полиграфия-(1312)Политика-(7869)Право-(5454)Приборостроение-(1369)Программирование-(2801)Производство-(97182)Промышленность-(8706)Психология-(18388)Религия-(3217)Связь-(10668)Сельское хозяйство-(299)Социология-(6455)Спорт-(42831)Строительство-(4793)Торговля-(5050)Транспорт-(2929)Туризм-(1568)Физика-(3942)Философия-(17015)Финансы-(26596)Химия-(22929)Экология-(12095)Экономика-(9961)Электроника-(8441)Электротехника-(4623)Энергетика-(12629)Юриспруденция-(1492)Ядерная техника-(1748)

Уравнительные соединения и комбинированная обмотка якоря




Условия симметрии обмотки якоря. Обмотку якоря назы­вают симметричной, если ее параллельные ветви обладают одина­ковыми электрическими свойствами: имеют одинаковые электри­ческие сопротивления и в них индуцируются одинаковые ЭДС. В несимметричной обмотке якоря ток якоря распределяется в парал­лельных ветвях неодинаково, что влечет за собой перегрузку од­них ветвей в недогрузку других. В результате растут электриче­ские потери в обмотке якоря, а полезная мощность машины уменьшается.

Обмотка якоря становится симметричной лишь при соблюде­нии определенных условий, называемых условиями симметрии.

Первое условие. Каждая пара параллельных ветвей об­мотки должна состоять из одинакового числа секций. Это условие выполняется, если на каждую пару параллельных ветвей прихо­дится одинаковое число секций, т. е. отношение числа секций S к числу пар параллельных ветвей а обмотки якоря равно целому числу (ц. ч.):

ц.ч. (25.8)

Нетрудно убедиться, что при несоблюдении этого условия электрическое сопротивление параллельных ветвей, а также их ЭДС становятся неодинаковыми. Это привело бы к неравномер­ному распределению токов в параллельных ветвях со всеми неже­лательными последствиями.

Второе условие. Секции каждой пары параллельных вет­вей должны занимать на якоре одинаковое число пазов:

ц.ч. (25.9)

Третье условие. Каждая пара параллельных ветвей об­мотки должна занимать одинаковое положение относительно сис­темы главных полюсов, что выполнимо при

= ц. ч. (25.10)

Для сложной петлевой обмотки . Подставляя это в (25.10), получим

ц. ч.

Отсюда следует, что сложная петлевая обмотка будет симмет­ричной только при т = 2.

Уравнительные соединения. Даже при соблюдении всех ус­ловий симметрии обмоток ЭДС параллельных ветвей обмотки якоря в многополюсных машинах могут оказаться неодинаковы­ми. Причина этого — магнитная несимметрия, из-за нее магнит­ные потоки одноименных полюсов оказываются неодинаковыми. Происходит это из-за дефектов, возникающих при изготовлении машины: наличия раковин в отливке станины, некачественной сборки полюсов, неправильной центровки якоря, т. е. его перекоса, отчего воздушный зазор под полюсами становится неодинаковым.

Влияние магнитной несимметрии на работу машины зависит от типа обмотки якоря. В волновых обмотках секции каждой па­раллельной ветви равномерно распределены под всеми полюсами машины, поэтому магнитная несимметрия не влечет за собой не­равенства ЭДС в параллельных ветвях, так как она одинаково влияет на все параллельные ветви обмотки.

В петлевых обмотках якоря секции, образующие параллель­ную ветвь, расположены под смежной парой полюсов. Поэтому при 2 > 2магнитная несимметрия становится причиной неравен­ства ЭДС параллельных ветвей, что

ведет к появлению в обмотке якоря уравнительных токов.

 

 

Рис. 25.10. Уравнительные токи в параллельных ветвях

простой петле­вой обмотки якоря при магнитной несимметрии

Например, при неправильной центровке якоря (рис. 25.10, а)ЭДС первой и четвертой параллельных ветвей становятся меньше ЭДС второй и третьей ветвей (зазор под нижним полюсом меньше, чем под верхним). При этом потенциалы щеток и оказывают­ся неодинаковыми и в параллельных ветвях обмотки появляются уравнительные токи (рис. 25.10, б). Эти токи замыкаются через шину, соединяющую указанные щетки, и во внешнюю цепь маши­ны не выходят. Следует обратить внимание, что даже при незна­чительной разности потенциалов между щетками и ток может оказаться весьма значительным, так как электрическое со­противление параллельной ветви невелико. Например, при = 2 В и = 0,01 Ом уравнительный ток = 2/(2·0,01) = 100 А.

Если при этом нагрузочный ток в параллельной ветви = 200 А, то токи в параллельных ветвях обмотки становятся неоди­наковыми: = 200 - 100 = 100 А; =200 + 100 = 300 А.

Неравномерная нагрузка параллельных ветвей ведет к перегреву обмотки и увеличению электрических потерь в ней. Пере­численные явления нарушают нормальную работу машины, на­пример, перегружаются некоторые щетки (в рассматриваемом случае — щетка ), что вызывает интенсивное искрение на коллекторе (см. § 27.3). Для уменьшения неравномерной нагрузки ще­ток в простых петлевых обмотках поступают следующим образом: точки обмотки якоря, потенциалы которых теоретически должны быть одинаковыми, электрически соединяют между собой. В этом случае возникающие в обмотке уравнительные токи замыкаются внутри обмотки без выхода на щетки.

Указанные соединения выполняют медными проводами и на­зывают уравнительными соединениями первого рода (уравните­лями). Практически доступными для соединения точками равного потенциала являются концы секций, присоединяемые к коллек­торным пластинам, или лобовые части обмотки со стороны, об­ратной коллектору.

Количество точек в обмотке, имеющих одинаковый потенци­ал, равно числу полюсов в машине. Расстояние между двумя со­седними точками равного потенциала называют потенциальным шагом . При расположении уравнительных соединений со сто­роны коллектора потенциальный шаг выражается числом коллек­торных делений:

. (25.11)

Полное число уравнителей первого рода, которое можно уста­новить в машине, равно

. (25.12)

Однако такое количество уравнительных соединений приме­няют только в машинах большой мощности, например в двигате­лях прокатных станов. В целях экономии меди и упрощения кон­струкции машины обычно применяют неполное число урав­нителей. Например, в четырехполюсных двигателях делают 3—4 уравнительных соединения. Уравнительные соединения выполня­ют проводом, сечение которого составляет 25—50 % сечения про­вода обмотки якоря.

Пример 25.6. В машине с 2 = 4 и простой петлевой обмоткой якоря из 12 секций необходимо установить уравнители первого рода, снабдив ими каждую вторую пластину.

Решение. Потенциальный шаг = 12/2 = 6. Полное число урав­нителей = 12/2 = 6.

В соответствии с условием задачи показываем на схеме 0,5 = 3 уравните­ля, расположив их со стороны коллектора (рис. 25.11) и соединив с пластинами следующим образом: первый уравнитель соединяем с пластинами 1 и 7, второй —с 3 и 9, третий — с 5 и 11.

 

 

Рис. 25.11. Уравнительные соединения первого рода:

а — развернутая схема обмотки, б — вид со стороны коллектора

 

В сложных петлевых и волновых обмотках простые обмотки, образующие сложную, соединены параллельно через щеточный контакт. Но обеспечить одинаковый контакт щеток со всеми про­стыми обмотками практически невозможно, поэтому ток между простыми обмотками распределяется неодинаково, что нарушает равномерное распределение потенциала по коллектору и можем вызвать на нем искрение. Для устранения этого нежелательного явления применяют уравнительные соединения (уравнители) вто­рого рода, спомощью которых простые обмотки, входящие в сложную, электрически соединяют между собой в точках равного потенциала. Таким образом, если уравнители первого рода устра­няют нежелательные последствия магнитной несимметрии, то уравнители второго рода устраняют неравномерность в рас­пределении потенциала по коллектору при сложных обмотках якоря.

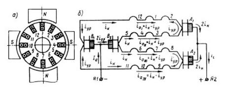
На рис. 25.9 представлена схема сложной волновой обмотки с уравнителями второго рода, соединяющими точки равного потен­циала на лобовых частях обмотки со стороны, противоположной коллектору. Эти точки отстоят друг от друга на расстоянии потен­циального шага

.

Секцию 2 соединяют с секцией 11, секцию 3 — с секцией 12 и т. д. (на схеме показаны лишь два уравнителя). Полное число уравнителей определяется по (25.12), но из соображения экономии меди обычно делают неполное число уравнителей второго рода.

В сложных петлевых обмотках уравнители второго рода вы­полняют, как показано на рис. 25.12. Ввиду того что в этой обмот­ке каждую секцию одной из простых обмоток присоединяют к пластинам коллектора, расположенным через одну (например, к нечетным пластинам), то пластины, находящиеся между ними (на­пример, четные), делят напряжение каждой секции на две части. Для обеспечения равномерного распределения напряжения между пластинами необходимо, чтобы эти части были одинаковыми, т. е. чтобы напряжение между каждой парой рядом лежащих пластин (например 1 и 2) было равно половине напряжения секции. С этой целью в обмотке применяют уравнители второго рода, с помощью которых середину секции со стороны, противоположной коллектору, соединяет с промежуточной пластиной (например, середину секции, присоединенной к пластинам 1 и 3, соединяют с пласти­ной 2, как это показано на рис. 25.12). Такой уравнитель прихо­дится «протягивать» между валом и сердечником якоря через спе­циальное отверстие.

Таким образом, если в сложных волновых обмотках применяют лишь уравнители второго рода, то в сложных петлевых обмотках необхо­димы как уравнители первого, так и уравнители второго рода.

Рис. 25.12. Уравнительные соединения второго

рода в сложной петлевой обмотке якоря

 

Комбинированная обмотка. Комбинированная (лягушачья) обмотка представляет собой сочетание петлевой и волновой обмоток, распо­ложенных в одних пазах и присоединенных к общему коллектору. Секция этой обмотки

показана на рис. 25.13, а. Так как каждая из составляющих обмоток двухслойная, то комбинированную обмотку укладывают в пазах якоря в четыре слоя, а к каждой пластине коллектора припаивают по четыре проводника.

Достоинство комбинированной обмотки — большое число параллельных ветвей при отсут­ствии уравнительных соединений. Однако неко­торая технологическая трудность в выполнении комбинированных обмоток ограничивает их применение машинами постоянного тока большой мощности, а также быстроходными машинами, в которых выполнение уравни­телей затруднено.

 

Рис. 25.13. Комбинированная обмотка якоря

 

На рис. 25.13, б показана часть развернутой схемы комбинированной обмотки. Шаги секций комбинированной обмотки принимают одинаковыми . Шаг по якорю комбинированной обмотки равен сумме шагов составляющих обмоток:

,

т. е. шаг комбинированной обмотки по якорю равен потенциаль­ному шагу [см. (25.11)]. Поэтому пластины коллектора, которые должны быть соединены уравнителями, в комбинированной об­мотке оказываются соединенными секциями.

Следует обратить внимание, что комбинированная обмотка выполнима лишь при условии равенства чисел параллельных вет­вей в волновой и петлевой составляющих обмотках. При этом ЭДС параллельных ветвей обмоток должны быть одинаковыми. В петлевой обмотке число параллельных ветвей 2 = 2 , в волновой обмотке 2 =2. Для получения одинакового числа параллельных ветвей в обмотках волновую обмотку выполняют сложной с чис­лом = р. Число параллельных ветвей в комбинированной об­мотке 2 = 2 + 2 = 4 .




Поделиться с друзьями:


Дата добавления: 2014-12-27; Просмотров: 1433; Нарушение авторских прав?; Мы поможем в написании вашей работы!


Нам важно ваше мнение! Был ли полезен опубликованный материал? Да | Нет



studopedia.su - Студопедия (2013 - 2026) год. Все материалы представленные на сайте исключительно с целью ознакомления читателями и не преследуют коммерческих целей или нарушение авторских прав! Последнее добавление




Генерация страницы за: 0.015 сек.