Студопедия

КАТЕГОРИИ:


Архитектура-(3434)Астрономия-(809)Биология-(7483)Биотехнологии-(1457)Военное дело-(14632)Высокие технологии-(1363)География-(913)Геология-(1438)Государство-(451)Демография-(1065)Дом-(47672)Журналистика и СМИ-(912)Изобретательство-(14524)Иностранные языки-(4268)Информатика-(17799)Искусство-(1338)История-(13644)Компьютеры-(11121)Косметика-(55)Кулинария-(373)Культура-(8427)Лингвистика-(374)Литература-(1642)Маркетинг-(23702)Математика-(16968)Машиностроение-(1700)Медицина-(12668)Менеджмент-(24684)Механика-(15423)Науковедение-(506)Образование-(11852)Охрана труда-(3308)Педагогика-(5571)Полиграфия-(1312)Политика-(7869)Право-(5454)Приборостроение-(1369)Программирование-(2801)Производство-(97182)Промышленность-(8706)Психология-(18388)Религия-(3217)Связь-(10668)Сельское хозяйство-(299)Социология-(6455)Спорт-(42831)Строительство-(4793)Торговля-(5050)Транспорт-(2929)Туризм-(1568)Физика-(3942)Философия-(17015)Финансы-(26596)Химия-(22929)Экология-(12095)Экономика-(9961)Электроника-(8441)Электротехника-(4623)Энергетика-(12629)Юриспруденция-(1492)Ядерная техника-(1748)

Машины для свайных работ




Вибромолот — строительная машина, предназначенная для погружения в грунт металлических свай, труб и шпунта с помощью как вибрации, так и с помощью ударных нагрузок. Вибромолоты применяют также для погружения железобетонных свай в водонасыщенные грунты.

Вибрация молоту придаётся за счёт вращения дебалансов, подобно тому, как это реализовано в конструкциях вибропогружателей.

В отличие от вибропогружателей, вибромолоты способны погружать сваи в более плотные грунты.

Вибромолоты входят в состав комплексов оборудования, к которым также относятся копры и самоходные краны соответствующей конструкции.

Частота ударов вибромолота доходит до 480 в минуту.

Вибромолоты способны погружать металлический шпунт длиной до 13 м, и металлические сваи длиной до 20 м.

Вибропогружатель — машина, предназначенная для погружения железобетонных труб, колодцев, свайных элементов в песчаные и глинистые грунты. Вибропогружатель предназначен для погружения в песчаные и глинистые грунты и извлечения из них различных свайных элементов. Вибропогружатель осуществляет работу в комплексе с виброизолятором и грузоподъемным механизмом. В качестве грузоподьемного механизма может быть использован подъёмный кран, Копёр. Кроме того вибропогружатель может работать с экскаваторами (с соответствующими техническими параметрами).

Вибропогружатель состоит из вибровозбудителя, электродвигателя или гидромотора и наголовника.

При вращении дисбалансов 4 на их ось крепления действует центробежная сила, и вибропогружатель получает вибрирующее движение, которое сообщает свайному элементу 6 через наголовник 5. Дисбалансы приводятся во вращение электродвигателем 3 (или гидромотором) через механическую передачу (или непосредственно от вала мотора). Симметрично расположенные дисбалансы синхронно вращаются в разные стороны для уравновешивания радиальных нагрузок.

Дизель-молот — устройство для забивания свай в землю. Принцип действия аналогичен работе дизельного двигателя. В трубчатом дизель-молоте цилиндр устанавливается на верхнюю часть сваи. В цилиндре вверх-вниз движется баба, играющая роль одновременно поршня и бойка. При движении бабы вниз происходит сжатие находящегося в цилиндре воздуха вместе с подаваемым топливом. Одновременно с ударом бабы по концу сваи воспламеняется сжатая топливо-воздушная смесь, часть энергии расширяющихся газов добавляется к энергии удара, забивая сваю глубже. Остальная часть энергии газов расходуется на подъем бабы вверх. Вблизи верхней точки открываются выпускные клапаны, через которые продукты сгорания выходят в атмосферу, а также впускные, через которые снаружи засасывается чистый воздух. Исчерпавшая энергию подъема баба под действием своего веса начинает движение вниз, и цикл повторяется.

Копёр — строительная машина, предназначенная для подъёма, установки сваи на точку погружения, корректировку, погружения сваи в грунт (или извлечения) с помощью погружателя (или выдергивателя).

Паровоздушный молот Штанговый дизель-молот
  1.поршень 2.паровой цилиндр 3.золотник 4.парораспределит. устр-во 5.шток поршня 6.направляющий цилиндр 7.наковальня 8.боёк 1.сферич. мачта 2.основание 3.фарсунка 4.направляющая штанга 5.валик 6.крюк 7.траверса («кошка») 8.канат 9.рычаг сброса 10.ударный цилиндр 11.штык 12.поршень 13.топливопровод 14.топливный насос 15.наголовник
       

 

 

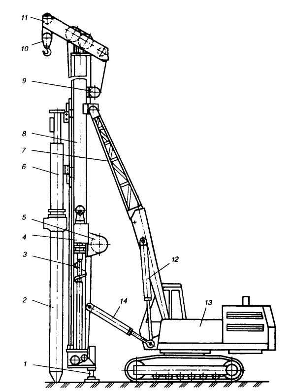
Гидравлический копер
  1.нижняя опора 2.свая 3.шнековый бур 4.привод для бурения лидерных скважин 5.лебёдка для перемещения гидромолота 6.гидромолот 7.решётчатая стрела 8.копровая мачта 9.грузовая лебёдка 10.крюковая подвеска 11.оголовок 12.гидроцилиндр 13.экскаватор 14.гидроцилиндр для установки сваи
Низкочастотный и высокочастотный погружатели
  а) низкочастотный б) высокочастотный   1.двигатель 2.шестерня промежуточная 3.шестерни 4.ролики для крепления 5.наголовник 6.свая 7.дебаланс 8.подвескка 9.электродвигатель 10.цепная передача 11.горизонтальная цепная передача 12.конический редуктор 13.пружина 14.четырёхвальный вибратор 15.плита

 




Поделиться с друзьями:


Дата добавления: 2015-04-24; Просмотров: 1616; Нарушение авторских прав?; Мы поможем в написании вашей работы!


Нам важно ваше мнение! Был ли полезен опубликованный материал? Да | Нет



studopedia.su - Студопедия (2013 - 2026) год. Все материалы представленные на сайте исключительно с целью ознакомления читателями и не преследуют коммерческих целей или нарушение авторских прав! Последнее добавление




Генерация страницы за: 0.01 сек.