Студопедия

КАТЕГОРИИ:


Архитектура-(3434)Астрономия-(809)Биология-(7483)Биотехнологии-(1457)Военное дело-(14632)Высокие технологии-(1363)География-(913)Геология-(1438)Государство-(451)Демография-(1065)Дом-(47672)Журналистика и СМИ-(912)Изобретательство-(14524)Иностранные языки-(4268)Информатика-(17799)Искусство-(1338)История-(13644)Компьютеры-(11121)Косметика-(55)Кулинария-(373)Культура-(8427)Лингвистика-(374)Литература-(1642)Маркетинг-(23702)Математика-(16968)Машиностроение-(1700)Медицина-(12668)Менеджмент-(24684)Механика-(15423)Науковедение-(506)Образование-(11852)Охрана труда-(3308)Педагогика-(5571)Полиграфия-(1312)Политика-(7869)Право-(5454)Приборостроение-(1369)Программирование-(2801)Производство-(97182)Промышленность-(8706)Психология-(18388)Религия-(3217)Связь-(10668)Сельское хозяйство-(299)Социология-(6455)Спорт-(42831)Строительство-(4793)Торговля-(5050)Транспорт-(2929)Туризм-(1568)Физика-(3942)Философия-(17015)Финансы-(26596)Химия-(22929)Экология-(12095)Экономика-(9961)Электроника-(8441)Электротехника-(4623)Энергетика-(12629)Юриспруденция-(1492)Ядерная техника-(1748)

Расчет момента инерции маховика




УТОЧНЕНИЕ КИНЕМАТИЧЕСКОЙ СХЕМЫ ПРЕССА

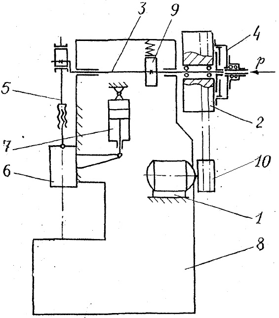
Уточняем кинематическую схему пресса с одноступенчатой передачей и односторонним приводом вала (рисунок 8.1).

Рис. 8.1 – Кинематическая схема пресса.

От шкива 10 электродвигателя через клиноременную передачу вращательное движение сообщается маховику 2, который посредством фрикционных дисков связан с муфтой 4. Во время включения муфты ленточный тормоз 9 растормаживается и кривошипный вал 2 делает один оборот, при этом шатун 5 с ползуном 6 совершает двойной ход. В верхнем положении ползуна муфта выключается, а тормоз включается и осуществляет с помощью, пружин торможение.

 

 

9 РАСЧЁТ ПОТРЕБНОГО МОМЕНТА ИНЕРЦИИ И РАЗМЕРОВ МАХОВИКА

Момент инерции привода, приведенный к валу маховика, определяется по формуле [2, с. 136; 1, с. 111]:

где момент инерции маховика, кг ;

коэффициент избыточной работы - доля операции, выполняемой маховиком;

угловая скорость маховика;

j - коэффициент неравномерности [14, с. 98].

Коэффициент избыточной работы определяется по формуле [1, с.112]:

= = 0,944,

где рабочий угол (угол, где действует максимальный

крутящий момент, см. рис. 6.4.3);

Коэффициент неравномерности числа ходов для универсальных кривошипных прессов равен 0,12. Для нашего пресса:

.




Поделиться с друзьями:


Дата добавления: 2015-04-24; Просмотров: 1065; Нарушение авторских прав?; Мы поможем в написании вашей работы!


Нам важно ваше мнение! Был ли полезен опубликованный материал? Да | Нет



studopedia.su - Студопедия (2013 - 2026) год. Все материалы представленные на сайте исключительно с целью ознакомления читателями и не преследуют коммерческих целей или нарушение авторских прав! Последнее добавление




Генерация страницы за: 0.009 сек.