Студопедия

КАТЕГОРИИ:


Архитектура-(3434)Астрономия-(809)Биология-(7483)Биотехнологии-(1457)Военное дело-(14632)Высокие технологии-(1363)География-(913)Геология-(1438)Государство-(451)Демография-(1065)Дом-(47672)Журналистика и СМИ-(912)Изобретательство-(14524)Иностранные языки-(4268)Информатика-(17799)Искусство-(1338)История-(13644)Компьютеры-(11121)Косметика-(55)Кулинария-(373)Культура-(8427)Лингвистика-(374)Литература-(1642)Маркетинг-(23702)Математика-(16968)Машиностроение-(1700)Медицина-(12668)Менеджмент-(24684)Механика-(15423)Науковедение-(506)Образование-(11852)Охрана труда-(3308)Педагогика-(5571)Полиграфия-(1312)Политика-(7869)Право-(5454)Приборостроение-(1369)Программирование-(2801)Производство-(97182)Промышленность-(8706)Психология-(18388)Религия-(3217)Связь-(10668)Сельское хозяйство-(299)Социология-(6455)Спорт-(42831)Строительство-(4793)Торговля-(5050)Транспорт-(2929)Туризм-(1568)Физика-(3942)Философия-(17015)Финансы-(26596)Химия-(22929)Экология-(12095)Экономика-(9961)Электроника-(8441)Электротехника-(4623)Энергетика-(12629)Юриспруденция-(1492)Ядерная техника-(1748)

Теплообменники. Теплообменные аппараты - теплообменники предназначены для проведения процессов теплообмена, т.е




 

Классификация:

 

 

Теплообменные аппараты - теплообменники предназначены для проведения процессов теплообмена, т.е. для нагревания или охлаждения, а также для испарения или конденсации потоков рабочих сред. В аппаратах осуществляется теплообмен между двумя потоками, имеющими различную температуру; в результате один поток нагревается, а другой – охлаждается.

Подвод и отвод тепла обеспечивается подачей в аппарат теплоносителей – нагревающих или охлаждающих агентов (хладагентов).

Кожухотрубчатые теплообменники

 

Кожухотрубчатые теплообменники – это наиболее распространенная разновидность теплообменных аппаратов. Преимущество аппаратов данного типа, это: простота изготовления и эксплуатации; надежность и универсальность в работе; аппараты данного типа можно использовать в широком диапазоне температур и давлений, и при любом сочетании теплоносителей.

Стальные кожухотрубчатые аппараты выполняют пяти видов:

· Н – аппараты с неподвижными трубными решетками (наиболее распространены)

· К – теплообменники с компенсатором на кожухе

· У – аппарат с U-образными трубами

· П – теплообменник с плавающей головкой

· ПК – теплообменник с плавающей головкой и компенсатором на ней

 

Двухходовой теплообменник:  
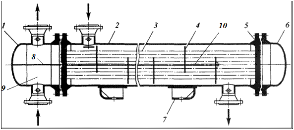
Рис. 2.1. Теплообменник с неподвижными трубными решетками: : 1,6 – крышки; 2– кожух; 3 – трубы; 4 – трубные решетки; В) эскиз: 1,6 – крышки; 2 – кожух; 3 – трубы; 4 – поперечные перегородки; 5 – трубные решетки; 7 – опоры; 8 – продольная перегородка для разделения ходов; 9 – распределительная камера; 10– стяжка  

 

Преимущества теплообменников данного типа определяются простотой конструкции и сравнительно небольшой стоимостью.

Недостатки связаны сжесткостью конструкции; к ним можно отнести:

1) Невозможность очистки наружной поверхности труб и внутренней поверхности кожуха от загрязнений, поскольку трубные решетки жестко связаны с корпусом. Загрязнения и отложения на поверхности теплообмена, как известно, приводят к снижению коэффициента теплопередачи и эффективности процесса теплообмена в целом. В этой связи в межтрубное пространство рекомендуется направлять чистый и не дающий отложения теплоноситель.

2) Чувствительность к температурным напряжениям в кожухе и трубах аппарата. Для предотвращения возникновения температурных деформаций рекомендуется использовать теплообменники типа Н при разности температур сред не более 50°С и соблюдать порядок пуска.

Если разница температур теплообменных сред больше 50°С, то рекомендуется использовать теплообменники с компенсацией температурных напряжений. Здесь выделяют аппараты с частичной компенсацией (аппараты типа К и ПК) и аппараты с полной компенсацией температурных напряжений (теплообменники типа У, П).

 

Аппараты воздушного охлаждения (АВО)

Аппараты данного типа используют для конденсации или охлаждения. АВО имеют ряд преимуществ по сравнению с водяными холодильниками или конденсаторами. Поскольку в этих аппаратах для охлаждения используют воздух, отсутствуют затраты на подготовку и перекачку воды, снижается стоимость ремонтных работ, т.к. не требуется очистка поверхности труб со стороны воздуха.

АВО изготавливают в разных исполнениях в зависимости от расположения теплообменных секций:

· горизонтальные;

· вертикальные;

· с наклонным расположением теплообменных секций;

с зигзагообразным расположением теплообменных секций

  Рис.2.24. Аппарат воздушного охлаждения (АВГ): 1- опора (рама), 2- теплообменная секция, 3 – диффузор, 4 – водяные форсунки, 5 – вентилятор, 6 – коллектор, 7-9 – двигатель с редуктором  

 

 

    Рис.2.25. Теплообменная секция АВО: 1- трубная решетка, 2- шпилька, 3- оребренная труба, 4- каркас, 5- дистанционные вставки, 6- крышки

 

 




Поделиться с друзьями:


Дата добавления: 2015-04-24; Просмотров: 1926; Нарушение авторских прав?; Мы поможем в написании вашей работы!


Нам важно ваше мнение! Был ли полезен опубликованный материал? Да | Нет



studopedia.su - Студопедия (2013 - 2026) год. Все материалы представленные на сайте исключительно с целью ознакомления читателями и не преследуют коммерческих целей или нарушение авторских прав! Последнее добавление




Генерация страницы за: 0.008 сек.