Студопедия

КАТЕГОРИИ:


Архитектура-(3434)Астрономия-(809)Биология-(7483)Биотехнологии-(1457)Военное дело-(14632)Высокие технологии-(1363)География-(913)Геология-(1438)Государство-(451)Демография-(1065)Дом-(47672)Журналистика и СМИ-(912)Изобретательство-(14524)Иностранные языки-(4268)Информатика-(17799)Искусство-(1338)История-(13644)Компьютеры-(11121)Косметика-(55)Кулинария-(373)Культура-(8427)Лингвистика-(374)Литература-(1642)Маркетинг-(23702)Математика-(16968)Машиностроение-(1700)Медицина-(12668)Менеджмент-(24684)Механика-(15423)Науковедение-(506)Образование-(11852)Охрана труда-(3308)Педагогика-(5571)Полиграфия-(1312)Политика-(7869)Право-(5454)Приборостроение-(1369)Программирование-(2801)Производство-(97182)Промышленность-(8706)Психология-(18388)Религия-(3217)Связь-(10668)Сельское хозяйство-(299)Социология-(6455)Спорт-(42831)Строительство-(4793)Торговля-(5050)Транспорт-(2929)Туризм-(1568)Физика-(3942)Философия-(17015)Финансы-(26596)Химия-(22929)Экология-(12095)Экономика-(9961)Электроника-(8441)Электротехника-(4623)Энергетика-(12629)Юриспруденция-(1492)Ядерная техника-(1748)

Польові випробування




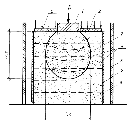
Штампами) і в приладі ОІСІ-4

Випробування грунтів статичними навантаженнями

 

 

Одним з найбільш достовірних методів оцінки стисливості грунтів, відповідних вимогам ДБН за розрахунком основ споруд по деформаціях, є випробування грунту в польових умовах за допомогою штампу. Кількісною характеристикою стисливості грунту є модуль деформації Е, МПа. Суть випробування полягає в тому, що на штамп 1 (рис. 5.1), прикладається зростаюче навантаження ступенями за допомогою домкрата 2.

 

 

Рис. 5.1. Схема випробування грунтів штампом

 

Реактивне зусилля сприймається анкерними палями 4 через балку 3

Осідання штампа вимірюється за допомогою прогиномерів 5, закрі­плених на незалежної від грунту, що деформується, реперній системі. Випробування виконують штампами в шурфах площею 5000 см2 або в свердловинах - площею 600 см2.

Кожний щабель навантаження вьщержуєтся до умовної стабілізації осідання штампа. За умовну стабілізацію осідання приймається збіль­шення осідання не більш 0,1 мм за 2 години спостережень. При цьому заміряється осідання штампа за час навантаження (Sh) і осідання штам­па за час витримування його під навантаженням (Sb). Сума цих осідань характеризує осідання штампа за відповідний щабель навантаження

Sступ = Sh + Sb

 

Сумуючи величини осідань штампа за кожний щабель навантаження, одержують повне осідання штампа Sn. Перший відлік беруть через 5 хвилин після додатка навантаження, потім 4 відліку з інтервалом 15 хвилин, два відліки з інтервалом 30 хвилин, і далі щогодини

 

5.2. Опрацювання даних випробовувань штампів

 

Першим етапом опрацювання результатів є побудова графіка залежності осідань від навантажень S = f (Р).

На цьому графіку можна виділити 3 ділянки, кожна з яких відпові­дає визначеній фазі напруженого стану грунту під штампом.

1. Фаза ущільнення - на цій ділянці залежність S = f (P) близька до лінійної, грунт під штампом лише ущільнюється і набуває більшої опірності зовнішнім силам.

2.Фаза зсувів - залежність стає явно криволінійною; відбуваються деякі локальні зсуви у країв фундаменту; несуча спроможність грунту ще не вичерпана.

3.Фаза випирання - відбувається різкий приріст осідання штампа при незначному прирості розміру навантаження з випором грунту з основи в сторони і нагору.

Другим етапом опрацювання дослідних даних є обчислення модуля загальної деформації Е0 по формулі Шлейхера, що має вид:

Е0 = (1 – n2) w d (Dр/DS) (5.1)

 
 

 

Рис. 5.2. Графік залежності S = f (P) для штампу.

 

где: n – коефіцієнт Пуассона (коефіцієнт бічного розширення грунту), приймається рівним для крупноуламкових грунтів – 0,27; для пісків і супісків – 0,3; для суглинків – 0,35; для глин – 0,42;

w – безрозмірний коефіцієнт, залежний від матеріалу штампу і його форми, приймається рівним: для круглих штампів – 0,79;

d – діаметр штампу;

– приріст питомого ступеня навантаження на штамп в даному інтервалі тиску;

DS – приріст осідання штампу, відповідний приросту величини .

 

5.3. Визначення модуля деформації грунту в лабораторії на приладі "ОІСІ-4"

 

У лабораторних умовах фактичну роботу грунту можна змоделюва-ти за допомогою приладу "ОІСІ-4", розробленого на кафедрі основ і фундаментів ОГАСА.

У приладі "ОІСІ-4" під навантаженим центральним штампом, що займає тільки частину площі зразка, відбувається об'ємна деформація грунту. Випробовування ведуться в умовах, близьких до тих, що виникають при польових дослідженнях. За допомогою приладу "ОІСІ-4" у лабораторних умовах можна визначити лінійні і об'ємні параметри зони деформації, що утворюються в грунті під штампом. На підставі отриманих параметрів визначають середній модуль лінійної і об'ємної деформацій. Схема приладу приведена на малюнку 5.3.

Необхідне для проведення випробовування устаткування і прилади: прилад "ОІСІ-4", індикатори, лінійка, фіксатори, ножовочне полотно, зразок грунту

Послідовність проведення випробовувань, і опрацювання резулиа-

тів:

1. На приготовлений зразок грунту з закладеними в нього фіксато­рами встановлюються центральний і кільцевий штампи.

Закріплюються індикатори, що фіксують переміщення штампів, а їхні показання встановлюються на нульовий відлік.

2. До кільцевого і круглого штампів прикладається навантаження, рі­вне природному тиску грунту на позначці глибини добору зразка.

3. До центрального штампа прикладається додаткове навантаження щаблями, рівними по 0,05 МПа. Перед завантаженням підраховується вага вантажу, що відповідає щаблю навантаження, з врахуванням того, що площа центрального штампа дорівнює 19,6 см2, кільцевого - 154 см. Кожний щабель витримується до умовної стабілізації.

4. Визначають розміри зони деформації за даними переміщення фік-

саторів, попередньо встановлених у грунті.

4. За результатами випробовувань, будується графік залежності

S = f (р).

 

5. Обчислюється розмір модуля деформації по раніше приведеній формулі Шлейхера.

7. Визначається модуль деформації з врахуванням отриманих розмі ­ рів зони деформації на основі закону Гука.

8. Провадиться порівняння модулів деформації, отриманих по різній методиці їх визначення.

Середній модуль об'ємної деформації визначається за формулою:

 

Егр.ср = 0,5 рэ /e, (5.2)

де: e - відносна деформація грунту; у випадку визначення при випро-бовуванні розміру глибини зони деформації обчислюється лінійне її іначення з виразу eл = S/На, а у випадку визначення обсягу зони де­формації - об'ємне її значення e0 = Vs/Vа;

Ре - ефективний тиск, що діє по глибині зони деформації; визначається з виразу: Ре = Р - Рстр;

S - осідання круглого штампа;

Р - середній тиск у підошві круглого штампа;

рстр - структурна міцність грунту;

На, Va - відповідно, глибина й обсяг зони деформації

 

 

Рис.5.3. Схема приладу ОІСІ-4

1 – центральний штамп; 2 – кільцевий штамп; 3 – зразок| грунту;

4 – фіксатори; 5 – кольцо-грунтонос; 6 – ванна для води;

7 – межа зони деформації.

 

.

Варіанти завдань для побудови графіка залежності осідань від навантажень S = f (Р) і визначення модуля спільної деформації Е і середнього модуля об'ємної деформації Егр. ср приведені в додатку 6.




Поделиться с друзьями:


Дата добавления: 2015-04-24; Просмотров: 1117; Нарушение авторских прав?; Мы поможем в написании вашей работы!


Нам важно ваше мнение! Был ли полезен опубликованный материал? Да | Нет



studopedia.su - Студопедия (2013 - 2026) год. Все материалы представленные на сайте исключительно с целью ознакомления читателями и не преследуют коммерческих целей или нарушение авторских прав! Последнее добавление




Генерация страницы за: 0.012 сек.